GM Service Manual Online
For 1990-2009 cars only

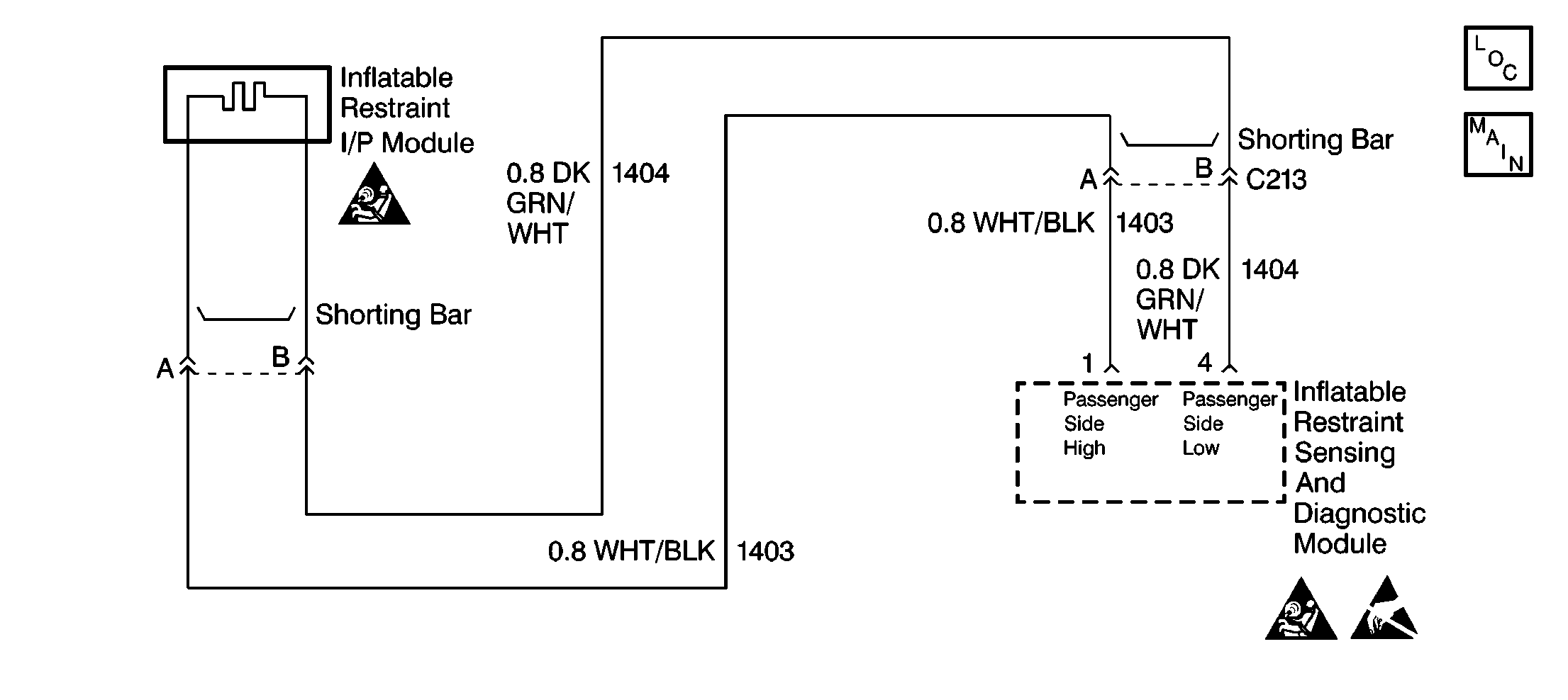
Object Number: 69667  Size: SF
SIR Components
Supplemental Inflatable Restraint Schematics
SIR Caution
Handling ESD Sensitive Parts Notice
SIR Caution

Circuit Description

When you first turn the ignition switch to the ON position, the inflatable restraint Sensing and Diagnostic Module (SDM) performs tests to diagnose critical malfunctions within itself. Upon passing these tests IGNITION 1, 23VLR and the deployment loop voltages are measured to make sure they are within their respective normal voltage ranges. The SDM monitors the voltages at DRIVER SIDE LOW terminal 3 and PASSENGER SIDE LOW terminal 4 to detect shorts-to-B+ in the inflator module circuits.

Conditions for Setting the DTC

    • The voltage at DRIVER SIDE LOW terminal 3 is less than 4.8 volts.
    • The voltage at PASSENGER SIDE LOW terminal 4 is more than 4.8 volts for 500 milliseconds.

The CONTINUOUS MONITORING test checks for this DTC. This test occurs when IGNITION 1 is within the normal operating voltage range.

Action Taken When the DTC Sets

    • The SDM sets a Diagnostic Trouble Code.
    • The SDM turns ON the AIR BAG warning lamp.

Conditions for Clearing the MIL/DTC

    • Current DTC
        The voltage at PASSENGER SIDE LOW terminal 4 is less than 4.8 volts for 500 milliseconds.
    • History DTC
       - You issue a scan tool CLEAR CODES command.
       - Once 250 malfunction free ignition cycles have occurred.

Diagnostic Aids

A short-to-B+ in the inflatable restraint I/P module circuit can cause an intermittent condition. Inspect CKT 1403 and CKT 1404 carefully for cutting or chafing. Wiring pigtail damage requires replacement of the inflatable restraint I/P module. The diagnostic table directs the technician to note the entry value of PASSENGER SENSELO. Comparing the value of PASSENGER SENSELO can be helpful in determining if an intermittent condition exists.

When measurements are requested in this table, use J 39200 Digital Multimeter with the correct terminal adapter from J 35616 Connector Test Adapter Kit. When a check for proper connection is requested, refer to General Electrical Diagnosis Procedures in Wiring Systems. When a wire, connector or terminal repair is requested, use J-38125 Terminal Repair Kit and refer to Wiring Repair .

Test Description

The numbers below refer to the step numbers on the diagnostic table:

  1. This test determines the passenger side low voltage measured by the inflatable restraint Sensing and Diagnostic Module (SDM).

  2. This test isolates the malfunction to one side of the inflatable restraint I/P module yellow 2-way connector.

  3. This test determines whether the malfunction is due to the inflatable restraint I/P module or the module jumper.

  4. This test determines whether the malfunction is in CKT 1403.

  5. This test determines whether the malfunction is in CKT 1404.

DTC B1019 Pass. Deployment Loop Short to Voltage

Step

Action

Value(s)

Yes

No

1

Was the SIR Diagnostic System Check performed?

--

Go to Step 2

Go to SIR Diagnostic System Check

2

  1. Turn the ignition switch OFF.
  2. Connect a scan tool to the DLC.
  3. Turn the ignition switch to ON.
  4. Request the SIR data list display.
  5. Read and record on the repair order the passenger side low voltage PASSENGER SENSELO.

Has the PASSENGER SENSELO been read and recorded on the repair order?

--

Go to Step 3

--

3

  1. Turn the ignition switch OFF.
  2. Disconnect the inflatable restraint steering wheel and I/P module yellow 2-way connectors at the base of the steering column.
  3. Connect J 38715-A SIR Driver/Passenger Load Tool to the harness connectors.
  4. Turn the ignition switch to ON.
  5. Using the scan tool, request the SIR data list display.
  6. Read the passenger side low voltage PASSENGER SENSELO.

Is PASSENGER SENSELO more than the specified value?

4.8 V

Go to Step 7

Go to Step 4

4

  1. Turn the ignition switch OFF.
  2. Disconnect the inflatable restraint I/P module jumper harness connector from the J 38715-A .
  3. Connect the connector to the jumper.
  4. Connect J 38715-A to the inflatable restraint I/P module side of the jumper.
  5. Turn the ignition switch to ON.
  6. Using the scan tool, request the SIR data list display.
  7. Read the passenger side low voltage PASSENGER SENSELO.

Is PASSENGER SENSELO more than the specified value?

4.8 V

Go to Step 5

Go to Step 6

5

  1. Turn the ignition switch OFF.
  2. Repair the short-to-B+ condition in the inflatable restraint I/P module jumper harness.

Are the repairs complete?

--

Go to Step 11

--

6

  1. Turn the ignition switch OFF.
  2. Inspect the inflatable restraint I/P module pigtail for damage and proper routing.
  3. Replace the inflatable restraint I/P module. Refer to Inflatable Restraint Instrument Panel Inflator Module .

Are the repairs complete?

--

Go to Step 11

--

7

  1. Turn the ignition switch OFF.
  2. Disconnect the inflatable restraint Sensing and Diagnostic Module (SDM).
  3. Disconnect the J 38715-A .
  4. Turn the ignition switch to ON.
  5. Measure the voltage on the SDM harness connector from terminal 1 to terminal 6 (ground).

Is the measured voltage less than the specified value?

1.0 V

Go to Step 9

Go to Step 8

8

  1. Turn the ignition switch OFF.
  2. Repair a short-to-B+ condition in CKT 1403.

Are the repairs complete?

--

Go to Step 11

--

9

Measure the voltage on the SDM harness connector from terminal 4 to terminal 6 (ground).

Is the measured voltage less than the specified value?

1.0 V

Go to Integrity Check

Go to Step 10

10

  1. Turn the ignition switch OFF.
  2. Repair a short-to-B+ condition in CKT 1404.

Are the repairs complete?

--

Go to Step 11

--

11

Reconnect all the SIR system components, make sure all the components are properly mounted.

Have all the SIR components been reconnected and properly mounted?

--

Go to Step 12

--

12

Clear all the SIR DTCs.

Have all the SIR DTCs been cleared?

--

Go to SIR Diagnostic System Check

--