GM Service Manual Online
For 1990-2009 cars only

Object Number: 105580  Size: MF

Circuit Description

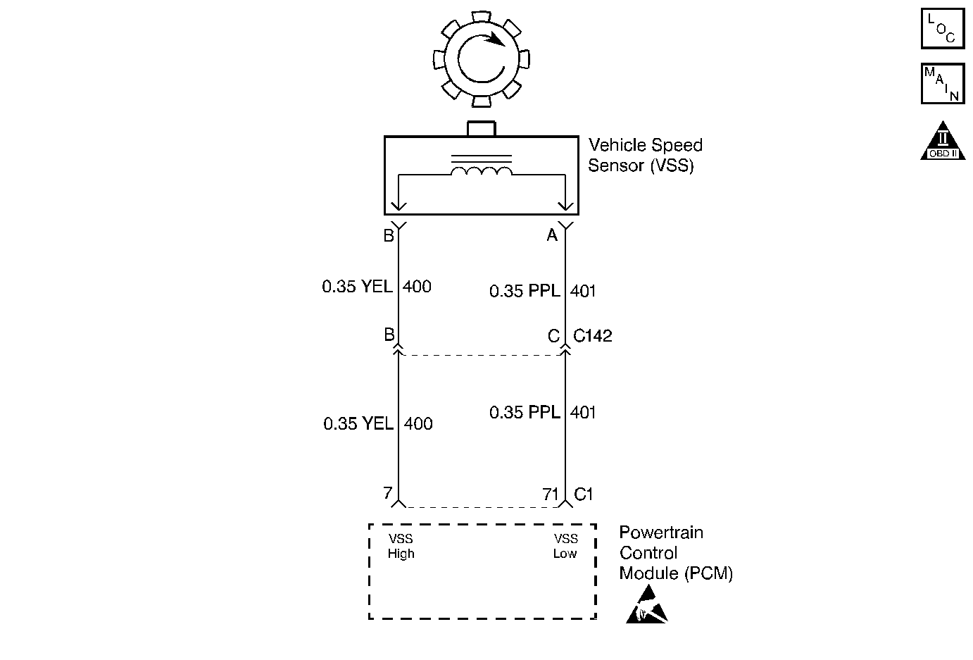
The Vehicle Speed Sensor Assembly (VSS Assy.) provides vehicle speed information to the Powertrain Control Module (PCM). The VSS Assy. is a Permanent Magnet (PM) generator. The PM generator produces a pulsing AC voltage as rotor teeth on the differential ring gear pass through the sensor's magnetic field. The AC voltage level and the number of pulses increase as the speed of the vehicle increases. The output voltage varies from a minimum of 0.5 volts AC at 100 RPM to more than 100 volts at 8000 RPM. The PCM converts the pulsing voltage to vehicle speed. The PCM uses the vehicle speed signal to determine shift timing and Torque Converter Clutch (TCC) scheduling.

When the PCM detects an unrealistically large drop in the vehicle speed, then DTC P0503 sets. DTC P0503 is a type B DTC.

Conditions for Setting the DTC

DTC P0503 sets if the following conditions occur two consecutive times:

    • No TFP Val. Position Sw. DTC P1810.
    • The engine speed is greater than 450 RPM for 8 seconds and not in fuel cutoff.
    • The time since the last gear range change is greater than 6 seconds.
    • The transmission output speed rise does not exceed 600 RPM within 6 seconds.
    • All of the above conditions are met and either of the following fail conditions occurs:
       - The transmission output speed drops by greater than 1600 RPM for 3 seconds in Park/Neutral.
       - The transmission output speed drops by greater than 1300 RPM for 3 seconds when not in Park/Neutral.

Action Taken When the DTC Sets

    • The PCM illuminates the Malfunction Indicator Lamp (MIL).
    • The PCM commands a soft landing to second gear.
    • The PCM inhibits TCC engagement.
    • The PCM commands maximum line pressure.
    • The PCM inhibits 4th gear if the transmission is in hot mode.
    • The PCM freezes shift adapts from being updated.
    • DTC P0503 stores in PCM history.

Conditions for Clearing the MIL/DTC

    • The PCM turns OFF the MIL after three consecutive trips without a failure reported.
    • A scan tool can clear the DTC from the PCM history. The PCM clears the DTC from the PCM history if the vehicle completes 40 warm-up cycles without a failure reported.
    • The PCM cancels the DTC default actions when the fault no longer exists and the ignition is OFF long enough in order to power down the PCM.

Diagnostic Aids

    • Inspect the wiring at the PCM, the Vehicle Speed Sensor (VSS) connector and all other circuit connecting points for the following conditions:
       - A bent terminal
       - A backed out terminal
       - A damaged terminal
       - Poor terminal tension
       - A chafed wire
       - A broken wire inside the insulation
       - Moisture intrusion
       - Corrosion
    • When diagnosing for an intermittent short or open condition, massage the wiring harness while watching the test equipment for a change.
    • Test circuits 400 and 401 for Electromagnetic Interferences (EMI) induced by a wiring harness incorrectly routed near the spark plug wires.
    • Inspect the rotor teeth on the differential ring gear for damage.

Test Description

The numbers below refer to the step numbers on the diagnostic table.

  1. Disable the traction control system when performing this step. When the ignition switch is cycled OFF and then back ON, the traction control system defaults to ON.

  2. This step tests the VSS Assy. circuit.

  3. This step tests the integrity of the VSS Assy.

DTC P0503 Vehicle Speed Sensor Circuit - Performance

Step

Action

Value(s)

Yes

No

1

Was the Powertrain On-Board Diagnostic (OBD) System Check performed?

--

Go to Step 2

Go to Powertrain OBD System Check

2

  1. Install the Scan Tool .
  2. With the engine OFF, turn the ignition switch to the RUN position.
  3. Important: Before clearing the DTC(s), use the scan tool in order to record the Freeze Frame and Failure Records for reference. Using the Clear Info function will erase the stored Freeze Frame and Failure Records from the PCM.

  4. Record the Freeze Frame and Failure Records, then clear the DTC(s).
  5. Raise and support the drive axle assembly.
  6. Start the engine.
  7. Disable the traction control system.
  8. Place the transmission in D3 range.
  9. With the drive wheels rotating, slowly accelerate to 2000 RPM and hold (road test the vehicle if necessary).

Does the Transmission OSS drop or fluctuate more than the specified value?

1300 RPM

Go to Step 3

Go to Diagnostic Aids

3

  1. Turn the ignition OFF.
  2. Disconnect the C1 (red) PCM connector.
  3. Using the J 39200 Digital Multimeter and the J 35616-A Connector Test Adapter Kit, measure the resistance between harness connector terminals C1-7 and C1-71.

Is the resistance within the specified range?

1085-2140ohms

Go to Step 4

Go to Step 6

4

Measure the resistance from terminal C1-7 to ground.

Is the resistance greater than the specified value?

50 K ohms

Go to Step 5

Go to Step 7

5

  1. Place the transmission in Neutral.
  2. Select AC volts.
  3. Hold one rear wheel from turning.
  4. Rotate the other rear wheel by hand, ensuring that the driveshaft is turning.

Is the voltage greater than the specified value?

0.5 volts

Go to Step 10

Go to Step 9

6

  1. Disconnect the engine wiring harness from the VSS Assy.
  2. Measure the resistance of the VSS Assy.

Is the resistance within the specified range?

1085-2140ohms

Go to Step 8

Go to Step 9

7

Inspect circuits 400 (YEL) and 401 (PPL) for a short to ground. Repair the circuits if necessary.

Refer to General Electrical Diagnosis Procedures.

Did you find a short to ground condition?

--

Go to Step 11

Go to Diagnostic Aids

8

Inspect circuits 400 (YEL) and 401 (PPL) for an open. Repair the circuits if necessary.

Refer to General Electrical Diagnosis Procedures.

Did you find an open condition?

--

Go to Step 11

Go to Diagnostic Aids

9

Replace the VSS Assy. Refer to Vehicle Speed Sensor Assembly Replacement.

Is the replacement complete?

--

Go to Step 11

--

10

Replace the PCM. Refer to PCM/TAC Module Replacement.

Is the replacement complete?

--

Go to Step 11

--

11

In order to verify your repair, perform the following procedure:

  1. Select DTC.
  2. Select Clear Info.
  3. Operate the vehicle ensuring that the transmission output speed drop is less than 500 RPM for 3 seconds and output speed is greater than 600 RPM for 3 seconds.
  4. Select Specific DTC.
  5. Enter DTC P0503.

Has the test run and passed?

--

System OK

Begin diagnosis again. Go to Step 1