GM Service Manual Online
For 1990-2009 cars only

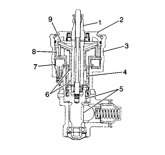
Object Number: 70067  Size: SH
(1)Spool Shaft
(2)Cover
(3)Valve Housing
(4)Valve Body
(5)Drive Pins and Pinion
(6)Upper and Lower Sleeves
(7)Coil Assembly
(8)Pole-Piece Assembly
(9)Magnet and Retainer

The MAGNASTEER actuator is an integral part of the power steering gear. The MAGNASTEER actuator consists of the following:

    • A rotary valve.
    • A permanent magnet that is attached to the input shaft of the rotary valve.
    • Two pole pieces that are attached to the output side of the valve (the pinion).
    • An electromagnetic coil mounted in the gear housing.

When the coil is energized, a magnetic field is formed between the permanent magnet and the pole pieces, which increases the torque on the input shaft to the steering gear. The EBTCM controls the current flow to the coil. As the vehicle speed increases, the EBTCM increases the current flow resulting in an increase in steering effort.

Other power steering system components, while specially modified to use with MAGNASTEER, are similar to non-MAGNASTEER power steering components.