Notice: To prevent equipment damage, never connect or disconnect the wiring harness connection from the EBCM with the ignition switch in the ON position.
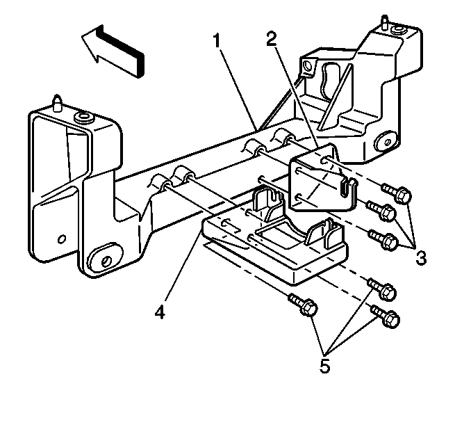
Important: Leave the right side insulator (2) attached to the right side bracket when removing the bracket.
Notice: Use the correct fastener in the correct location. Replacement fasteners must be the correct part number for that application. Fasteners requiring replacement or fasteners requiring the use of thread locking compound or sealant are identified in the service procedure. Do not use paints, lubricants, or corrosion inhibitors on fasteners or fastener joint surfaces unless specified. These coatings affect fastener torque and joint clamping force and may damage the fastener. Use the correct tightening sequence and specifications when installing fasteners in order to avoid damage to parts and systems.
Tighten
Tighten the four mounting bolts to 3 N·m (27 lb in),
then tighten to 6 N·m (53 lb in).
Tighten
Tighten the EBTCM insulator mounting bolt to 14 N·m (10
lb ft).
Important: If the insulator nut was removed it must be replaced with a new insulator nut (3).
Tighten
Tighten the insulator nut (3) to 10 N·m (89 lb in).
Tighten
Tighten the three bolts to 50 N·m (37 lb ft).
Important: Both sides of the EBTCM harness connector must be engaged with lever before closing.
Notice: To prevent equipment damage, never connect or disconnect the wiring harness connection from the EBCM with the ignition switch in the ON position.
Notice: Use the correct fastener in the correct location. Replacement fasteners must be the correct part number for that application. Fasteners requiring replacement or fasteners requiring the use of thread locking compound or sealant are identified in the service procedure. Do not use paints, lubricants, or corrosion inhibitors on fasteners or fastener joint surfaces unless specified. These coatings affect fastener torque and joint clamping force and may damage the fastener. Use the correct tightening sequence and specifications when installing fasteners in order to avoid damage to parts and systems.
Important: If the insulator nut was removed it must be replaced with a new insulator nut (3).
Tighten
Tighten the four mounting bolts to 3 N·m (27 lb in),
then tighten to 6 N·m (53 lb in).
Tighten
Tighten the EBTCM insulator mounting bolt to 14 N·m (10
lb ft).
Tighten
Tighten the three insulator nuts to 10 N·m (89 lb in).
Important: Both sides of the EBTCM harness connector must be engaged with lever before closing.