GM Service Manual Online
For 1990-2009 cars only

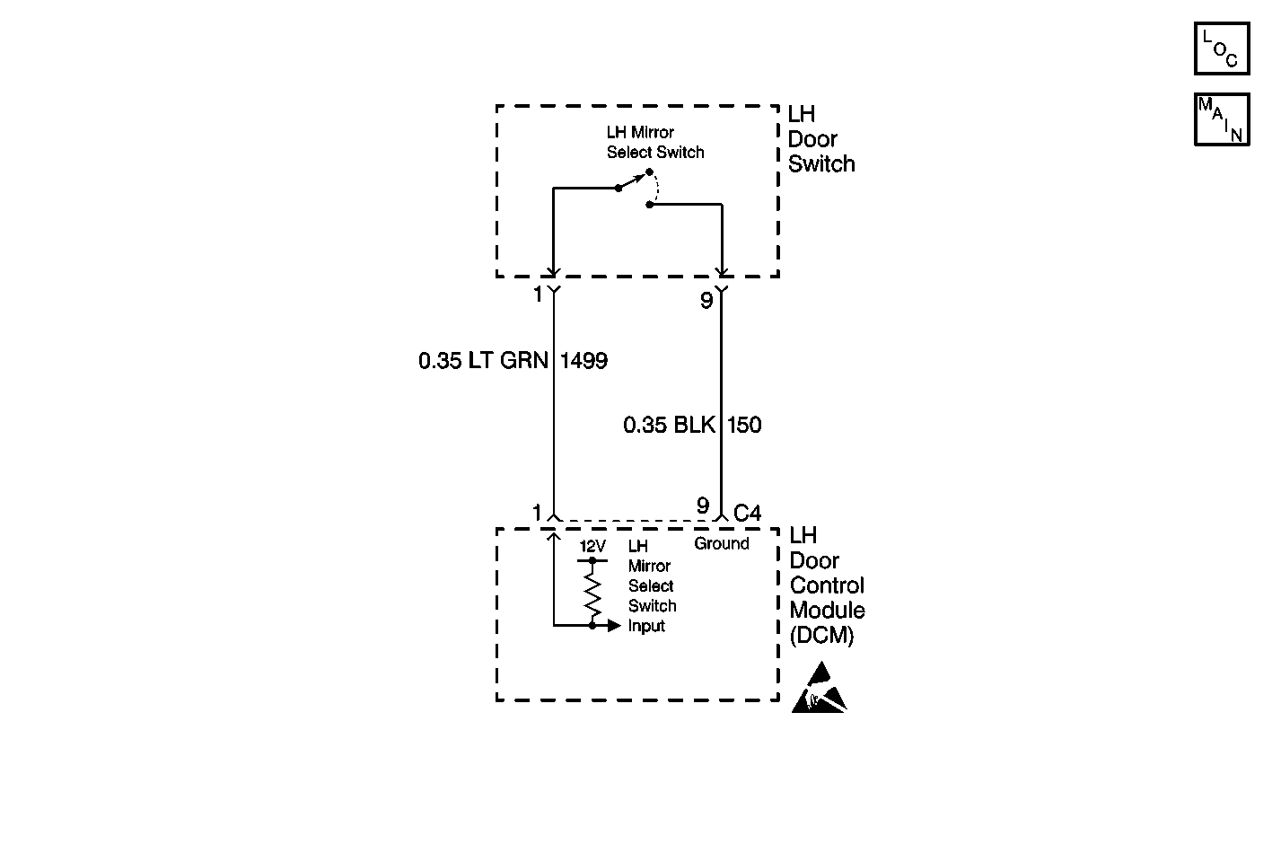
Object Number: 97846  Size: MF
Power Door Systems Components
Door Control Module Schematics

Circuit Description

The LH door switch circuit provides input to the LH Door Control Module (LDCM) when the mirror select switch is pressed. This input allows the LDCM to detect a LH or RH mirror request. The LDCM provides both power and ground to both of the mirror select switches. When the LH mirror select switch is pressed, a ground is supplied through the LH mirror select switch to the LH mirror select switch input which is pulled low. When the LDCM detects low voltage on the LH mirror select switch input, the LDCM will allow the LH mirror to operate. When the LDCM detects low voltage on the RH mirror select switch input, the LDCM will allow the RH mirror to operate. The LDCM controls RH mirror functions by sending mirror control messages to the RH Door Control Module (RDCM) on the serial data line. The LDCM monitors both the LH and RH mirror select switch input circuits and determines how long a ground (switch pressed) has been applied. If the ground is applied for longer than expected, a malfunction is present and a DTC will set.

Conditions for Setting the DTC

    • The LDCM detects a low voltage level (short to ground) at the LH mirror select switch input circuit.
    • Condition must be present for 20 seconds.

Action Taken When the DTC Sets

    • Stores a history DTC B2222 in the LDCM memory.
    • This DTC can only be set as a history code even if the malfunction is current.
    • No driver warning message will be displayed for this DTC.

Conditions for Clearing the DTC

    • The LDCM no longer detects a low voltage level (short to ground) at the LH mirror select switch input circuit for longer than 20 seconds.
    • Use the IPC clearing DTCs feature.
    • Use a scan tool.

Diagnostic Aids

    • The following conditions may cause an intermittent malfunction:
       - There is an intermittent short to ground in the LH mirror select switch input circuit (CKT 1499).
       - The LH mirror select switch is shorted to ground internally or is sticking.
       - The LH mirror select switch was pressed for longer than 20 seconds.
    • If CKT 1499 is shorted to ground or the LH mirror select switch is stuck closed, the LH mirror will operate, but the RH mirror will be inoperative .
    • Using a scan tool, select LDCM inputs and monitor the driver mirror select switch status. If the scan tool displays ACTIVE, disconnect the LH mirror switch and check if the driver mirror select switch status changes to INACTIVE. If the status changed, then replace the LH mirror switch. If the status did not change, then check CKT 1499 for a short to ground.
    • If the DTC does not reset after the code is cleared, then the problem may be intermittent. Perform the tests shown while moving related wiring and connectors. This can often cause the malfunction to occur. Refer to Intermittents and Poor Connections .

Test Description

The numbers below refer to the step numbers on the diagnostic table:

  1. This test determines the status of the driver mirror select switch using a scan tool. The scan tool will display the driver mirror select switch status as ACTIVE (button pressed) and INACTIVE (button released).

  2. This test checks if the LH mirror select switch is shorted to ground or stuck. If the LH mirror select switch status changes from ACTIVE to INACTIVE when the LH mirror select switch is disconnected, then the LH door switch assembly must be replaced.

DTC B2222

Step

Action

Value(s)

Yes

No

1

Were you sent here from the Power Door Diagnostic System Check?

--

Go to Step 2

Go to Diagnostic System Check - Power Door Systems

2

Using a scan tool, select LDCM input display and monitor the driver mirror select switch status.

Does the scan tool display driver mirror select switch status as ACTIVE?

--

Go to Step 3

Go to Step 7

3

  1. Disconnect the LH mirror select switch connector.
  2. Using a scan tool, select LDCM input display and monitor the driver mirror select switch status.

Does the scan tool display driver mirror select switch status as ACTIVE?

--

Go to Step 4

Go to Step 5

4

Check for a short to ground in CKT 1499.

Was a problem found and repaired?

--

Go to Step 9

Go to Step 6

5

Replace the LH door switch assembly. Refer to Power Mirror Switch Replacement .

Is the replacement complete?

--

Go to Step 9

--

6

Replace the LDCM. Refer to Door Control Module Replacement .

Is the replacement complete?

--

Go to Step 9

--

7

Check the LH mirror select switch circuit for an intermittent malfunction. Refer to Diagnostic Aids.

Was a problem found and repaired?

--

Go to Step 9

Go to Step 8

8

  1. Turn OFF the ignition switch.
  2. Reconnect or install any connectors or components that were disconnected or removed.
  3. Turn ON the ignition switch.
  4. Clear any DTCs. Refer to Diagnostic Trouble Code (DTC) Clearing .
  5. Wait 20 seconds.

Does DTC B2222 set as history?

--

Go to Step 6

System OK

9

  1. Turn OFF the ignition switch.
  2. Reconnect or install any connectors or components that were disconnected or removed.
  3. Turn ON the ignition switch.
  4. Clear any DTCs. Refer to Diagnostic Trouble Code (DTC) Clearing .

Is the repair complete?

--

Go to Diagnostic System Check - Power Door Systems

--