GM Service Manual Online
For 1990-2009 cars only

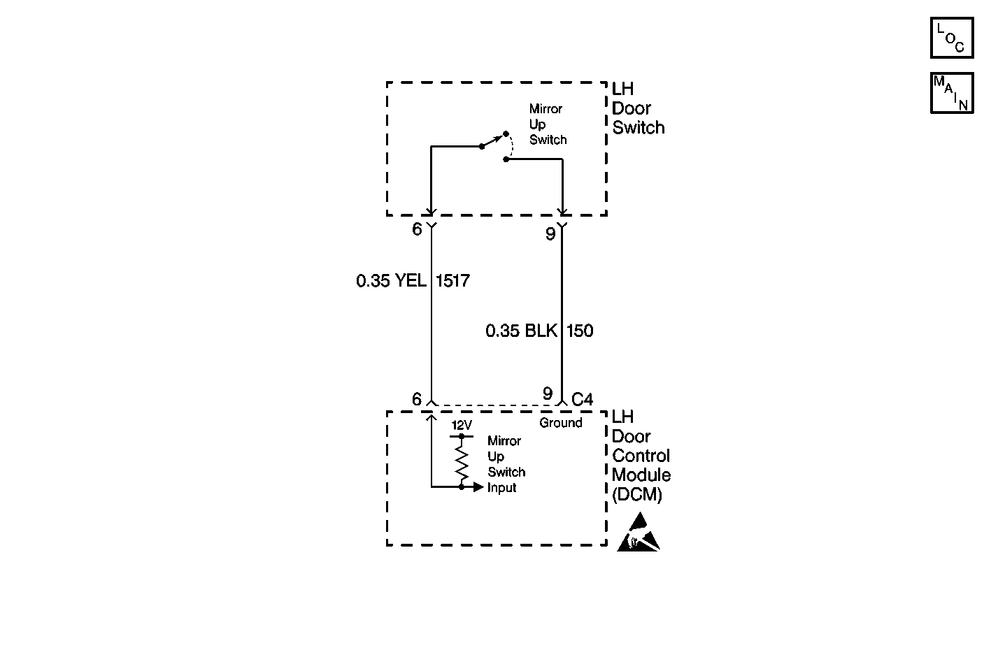
Object Number: 97850  Size: MF
Power Door Systems Components
Door Control Module Schematics

Circuit Description

The LH door switch circuit provides input to the LH Door Control Module (LDCM) when the LH mirror switch is pressed. This input allows the LDCM to detect a mirror position request. The LDCM provides both power and ground to the mirror switches. When the mirror down switch is pressed, a ground is supplied through the mirror down switch to the mirror down switch input which is pulled low. When the LDCM detects low voltage on the mirror down switch input, and the driver mirror was selected, the LDCM will command the driver mirror to operate DOWN. When the LDCM detects low voltage on the mirror up switch input, the LDCM will command the driver mirror to operate UP. If the passenger mirror was selected, the LDCM controls RH mirror functions by sending mirror control messages to the RH Door Control Module (RDCM) on the serial data line. The LDCM monitors both the mirror up and Mirror down switch input circuit and determines how long a ground (switch pressed) has been applied. If the ground is applied for longer than expected, a malfunction is present and a DTC will set.

Conditions for Setting the DTC

    • The LDCM detects a low voltage level (short to ground) at the mirror down switch input circuit.
    • Condition must be present for 20 seconds.

Action Taken When the DTC Sets

    • Stores a history DTC B2232 in the LDCM memory.
    • This DTC can only be set as a history code even if the malfunction is current.
    • No driver warning message will be displayed for this DTC.

Conditions for Clearing the DTC

    • The LDCM no longer detects a low voltage level (short to ground) at the mirror down switch input circuit for longer than 20 seconds.
    • Use the IPC clearing DTCs feature.
    • Use a scan tool.

Diagnostic Aids

    • The following conditions may cause an intermittent malfunction:
       - There is an intermittent short to ground in the mirror down switch input circuit (CKT 1517).
       - The mirror down switch is shorted to ground internally or is sticking.
       - The mirror down switch was pressed for longer than 20 seconds.
    • If CKT 1517 is shorted to ground or the mirror down switch is stuck closed, the mirror will operate in the down direction only.
    • Using a scan tool, select LDCM inputs and monitor the mirror down switch status. If the scan tool displays ACTIVE, disconnect the LH mirror switch and check if the driver mirror down switch status changes to INACTIVE. If the status changed, then replace the LH mirror switch. If the status did not change, then check CKT 1517 for a short to ground.
    • If the DTC does not reset after the code is cleared, then the problem may be intermittent. Perform the tests shown while moving related wiring and connectors. This can often cause the malfunction to occur. Refer to Intermittents and Poor Connections .

Test Description

The numbers below refer to the step numbers on the diagnostic table:

  1. This test determines the status of the mirror down switch using a scan tool. The scan tool will display the mirror down switch status as ACTIVE (button pressed) and INACTIVE (button released).

  2. This test checks if the mirror down switch is shorted to ground or stuck. If the mirror down switch status changes from ACTIVE to INACTIVE when the mirror down switch is disconnected, then the LH door switch assembly must be replaced.

DTC B2232

Step

Action

Value(s)

Yes

No

1

Were you sent here from the Power Door Diagnostic System Check?

--

Go to Step 2

Go to Diagnostic System Check - Power Door Systems

2

Using a scan tool, select LDCM input display and monitor the mirror down switch status.

Does the scan tool display mirror down switch status as ACTIVE?

--

Go to Step 3

Go to Step 7

3

  1. Disconnect the mirror down switch connector.
  2. Using a scan tool, select LDCM input display and monitor the mirror down switch status.

Does the scan tool display mirror down switch status as ACTIVE?

--

Go to Step 4

Go to Step 5

4

Check for a short to ground in CKT 1514.

Was a problem found and repaired?

--

Go to Step 9

Go to Step 6

5

Replace the LH door switch assembly. Refer to Power Mirror Switch Replacement .

Is the replacement complete?

--

Go to Step 9

--

6

Replace the LDCM. Refer to Door Control Module Replacement .

Is the replacement complete?

--

Go to Step 9

--

7

Check the mirror down switch circuit for an intermittent malfunction. Refer to Diagnostic Aids.

Was a problem found and repaired?

--

Go to Step 9

Go to Step 8

8

  1. Turn OFF the ignition switch.
  2. Reconnect or install any connectors or components that were disconnected or removed.
  3. Turn ON the ignition switch.
  4. Clear any DTCs. Refer to Diagnostic Trouble Code (DTC) Clearing .
  5. Wait 20 seconds.

Does DTC B2232 set as history?

--

Go to Step 6

System OK

9

  1. Turn OFF the ignition switch.
  2. Reconnect or install any connectors or components that were disconnected or removed.
  3. Turn ON the ignition switch.
  4. Clear any DTCs. Refer to Diagnostic Trouble Code (DTC) Clearing .

Is the repair complete?

--

Go to Diagnostic System Check - Power Door Systems

--