GM Service Manual Online
For 1990-2009 cars only

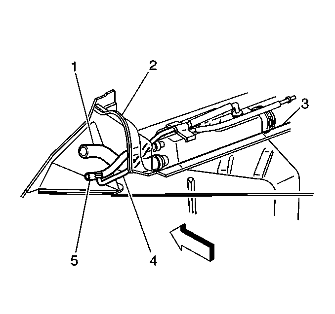
Removal Procedure


    Object Number: 327676  Size: SH
  1. Remove the left fuel tank. Refer to Fuel Tank Replacement .
  2. Remove the fuel fill hose (1) and the vent hose (5) from the fuel tank.
  3. Cap the open ends of the fuel tank.

Installation Procedure


    Object Number: 327676  Size: SH
  1. Uncap the openings on the fuel tank.
  2. Notice: Use the correct fastener in the correct location. Replacement fasteners must be the correct part number for that application. Fasteners requiring replacement or fasteners requiring the use of thread locking compound or sealant are identified in the service procedure. Do not use paints, lubricants, or corrosion inhibitors on fasteners or fastener joint surfaces unless specified. These coatings affect fastener torque and joint clamping force and may damage the fastener. Use the correct tightening sequence and specifications when installing fasteners in order to avoid damage to parts and systems.

  3. Install the fuel fill hose (1) and the vent hose (5) to the fuel tank.
  4. Tighten
    Tighten the fuel fill hose clamp and the vent hose clamp to 4 N·m (35 lb in).

  5. Install the left fuel tank. Refer to Fuel Tank Replacement .