GM Service Manual Online
For 1990-2009 cars only

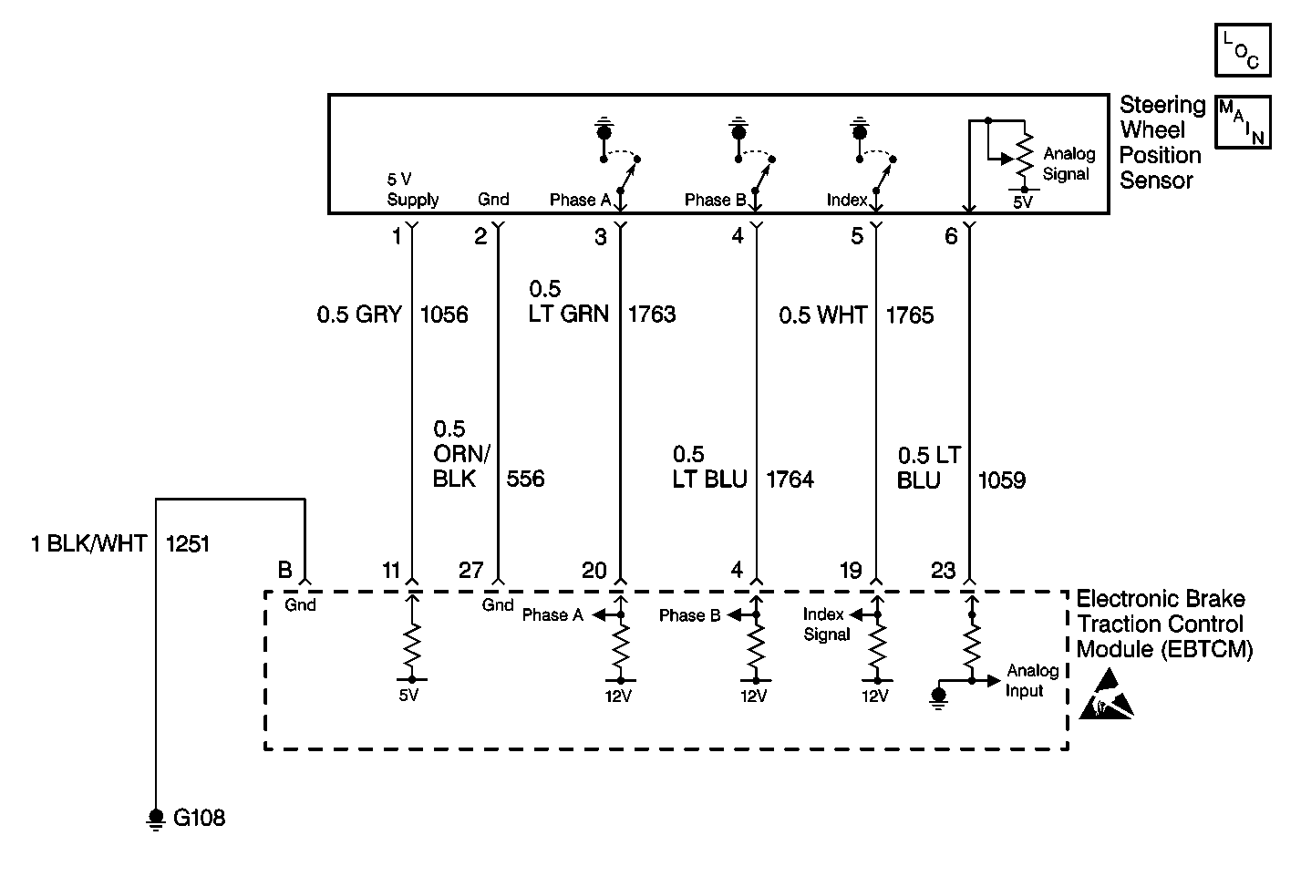
DTC C1287 Steering Sensor Rate Malfunction DTC C1287 With out (RPO JL4)


Object Number: 479934  Size: MF
Cell 44: Magnasteer System (W/O JL4)
ABS Components
Antilock Brake System Schematic Icons

Circuit Description

The EBTCM uses four inputs from the Steering Wheel Position sensor:

    • Phase A digital input
    • Phase B digital input
    • Index pulse
    • Analog input

This information is used to calculate three things:

    • The front wheels position when centered.
    • The front wheels position when turning.
    • The vehicles lateral acceleration.

The EBTCM runs a centering routine when the vehicle speed goes above 30 Km/h (18 mph). When the vehicle reaches 30 Km/h (18 mph), the EBTCM monitors the Steering Wheel Position Sensor inputs (Phase A, Phase B and Analog voltage) to see if the steering wheel is moving. If the steering wheel is not moving for a set period of time, then the EBTCM assumes the vehicle is going in a straight line. At this point, the EBTCM looks at the analog voltage signal and reads the voltage. This voltage, normally around 2.5V, is then considered the center position and the digital degrees also become zero at the same time. This centering routine is necessary to compensate for wear in the steering and suspension. Wear in the steering and suspension can result in a change in the relationship between the steering wheel and the front wheels. By running the centering routine the EBTCM can compensate for these changes by changing the digital and analog center position.

The EBTCM uses the digital input (Phase A and Phase B) from the Steering Wheel Position Sensor to calculate the direction the driver of the vehicle is trying to steer during an ABS event. This information is also used to calculate the vehicles lateral acceleration for Magnasteer®2.

Conditions for Setting the DTC

DTC C1287 can be set any time ignition is present. A fault exists if the steer rate (speed that the steering wheel appears to be turning) exceeds the limits set by the EBTCM.

Action Taken When the DTC Sets

Magnasteer®2 is disabled, ABS/TCS remains active.

Messages displayed on the DIC:

Service Vehicle Soon

Conditions for Clearing the DTC

    • Condition for DTC is no longer present and scan tool clear DTC function is used.
    • Fifty ignition cycles have passed with no DTCs detected.

Diagnostic Aids

It is very important that a thorough inspection of the wiring and connectors be performed. Failure to carefully and fully inspect wiring and connectors may result in misdiagnosis, causing part replacement with reappearance of the malfunction. Check connector C102 RH side rear of engine compart for water intrusion or missing plugs, and that the connector is oriented horizontal to prevent water intrusion.

Test Description

The numbers below refer to the step numbers on the diagnostic table.

  1. Checks for normal state change of phase A and Phase B when turning left.

  2. Checks for normal state change of phase A and Phase B when turning right.

DTC C1287 Steering Sensor Rate Malfunction

Step

Action

Value(s)

Yes

No

1

Was the Diagnostic System Check performed?

--

Go to Step 2

Go to Diagnostic System Check - ABS

2

Is this vehicle equipped with Active Handling (RPO JL4)?

--

Go to DTC C1287 Steering Sensor Rate Malfunction

Go to Step 3

3

  1. Start the engine.
  2. Ensure the front wheels are straight.
  3. Turn the ignition OFF.
  4. Restart the engine.
  5. Slowly rotate the steering wheel to the left while monitoring phase A and phase B of the Steering Wheel Position Sensor using a scan tool.

Did phase A and phase B change states uniformly as the steering wheel was rotated?

--

Go to Step 4

Go to Step 5

4

Slowly rotate the steering wheel to the right while monitoring phase A and phase B of the Steering Wheel Position Sensor using a scan tool.

Did phase A and phase B change states uniformly as the steering wheel was rotated?

--

Go to Step 6

Go to Step 5

5

Replace the Steering Wheel Position Sensor. Refer to Steering Shaft, Lower Bearing, and Jacket - Disassemble - Off Vehicle in Steering Wheel and Column.

Is the replacement complete?

--

Go to Step 6

--

6

  1. Read the diagnostic aids and conditions for setting the DTC.
  2. Cycle the ignition switch from the OFF to ON position.
  3. Start the engine and rotate the steering wheel from left to right while monitoring a scan tool for ABS/TCS DTC(s).

Did DTC C1287 set as a current DTC?

--

Go to Step 7

Go to Diagnostic System Check - ABS

7

Replace the EBTCM. Refer or Electronic Brake Control Module Replacement .

Is the replacement complete?

--

Go to Diagnostic System Check - ABS

--

DTC C1287 Steering Sensor Rate Malfunction DTC C1287 (RPO JL4)


Object Number: 479935  Size: MF
Cell 44: Magnasteer System (JL4)
ABS Components
Antilock Brake System Schematic Icons

Circuit Description

The EBTCM uses three inputs from the Steering Wheel Position sensor:

    • Phase A digital input
    • Phase B digital input
    • Analog input

This information is used to calculate three things:

    • The front wheels position when centered.
    • The front wheels position when turning.
    • The vehicles lateral acceleration.

The EBTCM runs a centering routine when the vehicle speed goes above 10 Km/h (6 mph). When the vehicle reaches 10 Km/h (6 mph), the EBTCM monitors the Steering Wheel Position Sensor inputs (Phase A, Phase B and Analog voltage) to see if the steering wheel is moving. If the steering wheel is not moving for a set period of time, then the EBTCM assumes the vehicle is going in a straight line. At this point, the EBTCM looks at the analog voltage signal and reads the voltage. This voltage, normally around 2.5V, is then considered the center position and the digital degrees also become zero at the same time. This centering routine is necessary to compensate for wear in the steering and suspension. Wear in the steering and suspension can result in a change in the relationship between the steering wheel and the front wheels. By running the centering routine the EBTCM can compensate for these changes by changing the digital and analog center position.

The EBTCM uses the digital input (Phase A and Phase B) from the Steering Wheel Position Sensor to calculate the direction the driver of the vehicle is trying to steer during an ABS and Active Handling event. This information is also used to calculate the vehicles lateral acceleration for Magnasteer®2.

Conditions for Setting the DTC

    • DTC C1287 can be set any time ignition is present. A fault exists if the steer rate (speed that the steering wheel appears to be turning) exceeds the limits set by the EBTCM.
    • DTC C1287 will set if the analog degrees differs from the digital degrees by more than 25 degrees for 5 seconds when the vehicle is not in a Active Handling event, or 1 second if the vehicle is in an Active Handling event.

Action Taken When the DTC Sets

ABS and TCS remain enabled, Active Handling™ is disabled.

    • Indicators that turn on:
        Car Icon (TCS indicator
    • Messages displayed on the DIC:
        Service Active HNDLG
        Service Vehicle Soon

Conditions for Clearing the DTC

    • Condition for DTC is no longer present and scan tool clear DTC function is used.
    • Fifty ignition cycles have passed with no DTCs detected.

Diagnostic Aids

It is very important that a thorough inspection of the wiring and connectors be performed. Failure to carefully and fully inspect wiring and connectors may result in misdiagnosis, causing part replacement with reappearance of the malfunction. Check connector C102 RH side rear of engine compart for water intrusion or missing plugs, and that the connector is oriented horizontal to prevent water intrusion.

Test Description

The numbers below refer to the step numbers on the diagnostic table.

  1. Checks for normal state change of Phase A and Phase B when turning left.

  2. Checks for normal state change of Phase A and Phase B when turning right.

DTC C1287 Steering Sensor Rate Malfunction

Step

Action

Value(s)

Yes

No

1

Was the Diagnostic System Check performed?

--

Go to Step 2

Go to Diagnostic System Check - ABS

2

Is this vehicle equipped with Active Handling (RPO JL4)?

--

Go to Step 3

Go to DTC C1287 Steering Sensor Rate Malfunction

3

  1. Start the engine.
  2. Ensure the front wheels are straight.
  3. Turn the ignition OFF.
  4. Restart the engine.
  5. Slowly rotate the steering wheel to the left while monitoring Phase A and Phase B of the Steering Wheel Position Sensor using a scan tool.

Did phase A and phase B change states uniformly as the steering wheel was rotated?

--

Go to Step 4

Go to Step 5

4

Slowly rotate the steering wheel to the right while monitoring phase A and phase B of the Steering Wheel Position Sensor using a scan tool.

Did phase A and phase B change states uniformly as the steering wheel was rotated?

--

Go to Step 6

Go to Step 5

5

Replace the Steering Wheel Position Sensor. Refer to Steering Shaft, Lower Bearing, and Jacket - Disassemble - Off Vehicle in Steering Wheel and Column.

Is the replacement complete?

--

Go to Step 6

--

6

  1. Read the diagnostic aids and conditions for setting the DTC.
  2. Cycle the ignition switch from the OFF to ON position.
  3. Start the engine and rotate the steering wheel from left to right while monitoring a scan tool for ABS/TCS/Active Handling DTC(s).

Did DTC C1287 set as a current DTC?

--

Go to Step 7

Go to Diagnostic System Check - ABS

7

Replace the EBTCM. Refer to Electronic Brake Control Module Replacement .

Is the replacement complete?

--

Go to Diagnostic System Check - ABS

--