GM Service Manual Online
For 1990-2009 cars only

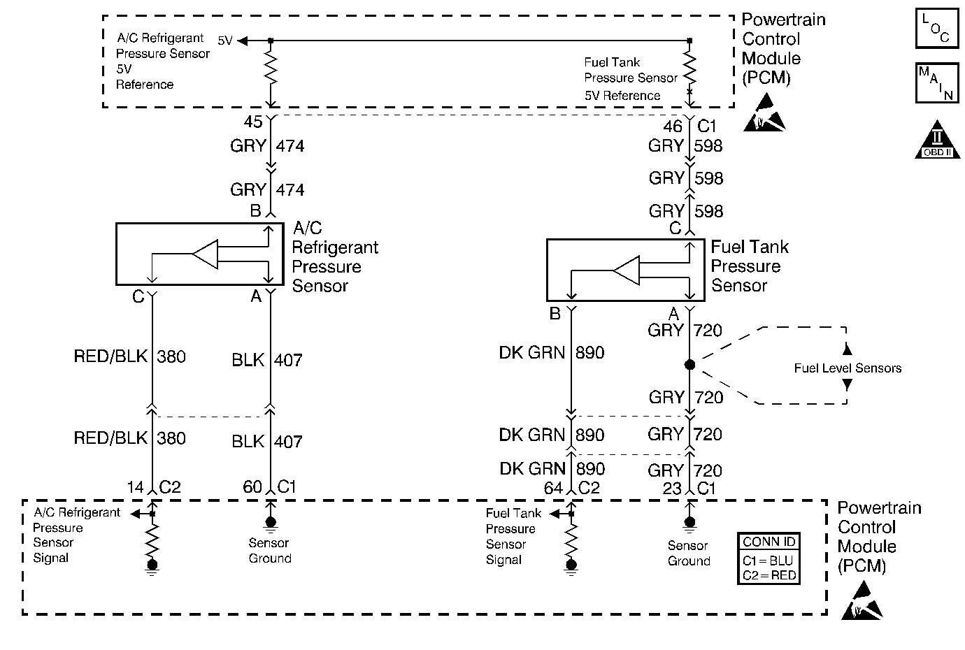
Object Number: 383779  Size: MF
Engine Controls Component Views
Engine Controls Schematics
OBD II Symbol Description Notice
Handling ESD Sensitive Parts Notice
Handling ESD Sensitive Parts Notice

Circuit Description

The A/C system uses an A/C refrigerant pressure sensor mounted in the high side of the A/C system to monitor A/C refrigerant pressure. The PCM utilizes this information in order to disable the A/C compressor clutch when the A/C system pressure is out of range. The PCM also uses A/C refrigerant pressure sensor to enable the engine coolant fans when the A/C refrigerant pressure is high.

The PCM supplies a 5 volt reference, a signal circuit, and a ground circuit to the A/C refrigerant pressure sensor. As the A/C pressure increases or decreases, the resistance of the sensor changes and varies the amount of signal voltage detected by the PCM.

The PCM monitors the A/C refrigerant pressure sensor signal circuit and can determine when the A/C pressure is too high or too low. When the pressure is out of range (high or low) for a predetermined time, the PCM disables the A/C compressor clutch and sets a DTC P0530. When a DTC P0530 sets, the PCM disables the A/C compressor clutch in order to prevent compressor damage from occurring.

Conditions for Running the DTC

The PCM detects an A/C request.

Conditions for Setting the DTC

    • The A/C refrigerant pressure sensor indicates A/C refrigerant pressure is below -8 psi for 5 seconds.
    • The A/C refrigerant pressure sensor indicates A/C refrigerant pressure is above 448 psi for 5 seconds.

Action Taken When the DTC Sets

    • The PCM stores the DTC information into memory when the diagnostic runs and fails.
    • The Malfunction Indicator Lamp (MIL) will not illuminate.
    • The PCM records the operating conditions at the time the diagnostic fails. The PCM stores this information in the Failure Records.
    • The PCM disables the A/C compressor clutch.

Conditions for Clearing the DTC

    • A last test failed, or current DTC, clears when the diagnostic runs and does not fail.
    • A history DTC will clear after 40 consecutive warm-up cycles, if no failures are reported by this or any other non-emission related diagnostic.
    • Use a scan tool in order to clear the DTC.

Diagnostic Aids

Important: 

   • Remove any debris from the PCM\TAC module connector surfaces before servicing the PCM\TAC module. Inspect the PCM\TAC module connector gaskets when diagnosing/replacing the modules. Ensure that the gaskets are installed correctly. The gaskets prevent contaminate intrusion into the PCM\TAC modules.
   • For any test that requires probing the PCM or a component harness connector, use the Connector Test Adapter Kit J 35616 . Using this kit prevents damage to the harness/component terminals. Refer to Using Connector Test Adapters in Wiring Systems.

    • The following may cause an intermittent:
       - Poor connections; Refer to Intermittents and Poor Connections Diagnosis in Wiring Systems.
       - Mis-routed harness.
       - Rubbed through wire insulation.
       - Broken wire inside the insulation.
    • If the test did not fail this ignition cycle, move the related electrical harnesses and the connectors while monitoring a scan tool.
    • Using Freeze Frame and/or Failure Records data may aid in locating an intermittent condition. If you cannot duplicate the DTC, the information included in the Freeze Frame and/or Failure Records data can aid in determining how many miles since the DTC set. The Fail Counter and Pass Counter can also aid determining how many ignition cycles the diagnostic reported a pass and/or a fail. Operate the vehicle within the same freeze frame conditions (RPM, load, vehicle speed, temperature etc.) that you observed. This isolates when the DTC failed.
    • For an intermittent, refer to Symptoms .

Test Description

The numbers below refer to the step numbers on the diagnostic table.

  1. The normal A/C voltage is between 1.0 and 1.8 volts. If the A/C voltage is within the range, review the failure record data in order to determine when the DTC P0530 set.

  2. If the A/C pressure/voltage stays high after disconnecting the A/C refrigerant pressure sensor electrical connector, this indicates the signal circuit is shorted to a voltage.

  3. This step tests for a good ground circuit.

  4. This step verifies the integrity of the A/C refrigerant pressure sensor signal circuit.

  5. If you have thoroughly inspected the 5.0 volt reference circuit (for opens, shorts to ground, PCM connections etc.) and is OK, then replace the PCM.

  6. If you have thoroughly inspected the ground circuit for opens and the PCM connections are OK, then replace the PCM.

Step

Action

Value(s)

Yes

No

1

Did you perform the Powertrain On-Board Diagnostic (OBD) System Check?

--

Go to Step 2

Go to Powertrain On Board Diagnostic (OBD) System Check

2

  1. Install the scan tool.
  2. Idle the engine.
  3. Monitor the DTC Information using the scan tool.

Did DTC P1639 fail this ignition cycle?

--

Go to DTC P1639 5 Volt Reference 2 Circuit

Go to Step 3

3

  1. Turn ON the ignition leaving the engine OFF.
  2. Monitor the A/C High Side parameter using the scan tool.

Does the scan tool indicate the A/C High Side Pressure voltage within the specified range?

0.1-1.8V

Go to Step 4

Go to Step 5

4

  1. Turn ON the ignition leaving the engine OFF.
  2. Review the Freeze Frame and/or Failure Records data for this DTC and note parameters.
  3. Turn OFF the ignition for 15 seconds.
  4. Start the engine and operate the vehicle within the conditions required for this diagnostic to run, and as close to the conditions recorded in Freeze Frame/Failure Records as possible. Special operating conditions that need to be met before the PCM will run this diagnostic, where applicable, are listed in Conditions for Running the DTC.
  5. Select the Diagnostic Trouble Code (DTC) option, the Specific DTC option, and enter the DTC number using the scan tool.

Does the scan tool indicate that this diagnostic failed this ignition?

--

Go to Step 5

Go to Diagnostic Aids

5

Disconnect the A/C refrigerant pressure sensor electrical connector.

Does the scan tool indicate the A/C High Side less than the specified value?

1V

Go to Step 6

Go to Step 10

6

Measure the voltage from the A/C refrigerant pressure sensor 5 volt reference circuit to the battery ground using the DMM J 39200 .

Is the voltage near the specified value?

5V

Go to Step 7

Go to Step 11

7

Measure the voltage from the A/C refrigerant pressure sensor 5 volt reference circuit to the sensor ground circuit using the DMM J 39200 .

Is the voltage at the specified value?

5V

Go to Step 8

Go to Step 12

8

Jumper the 5 volt reference circuit to the A/C refrigerant pressure sensor signal circuit using a fused jumper wire.

Does the scan tool indicate the A/C High Side voltage at the specified value?

5V

Go to Step 9

Go to Step 13

9

Repair the faulty A/C refrigerant pressure sensor connection or faulty sensor. Refer to A/C Refrigerant Pressure Sensor Replacement in HVAC Systems with A/C-Manual or Automatic.

Is the action complete?

--

Go to Step 16

--

10

Repair the short to voltage in the A/C refrigerant pressure sensor signal circuit. Refer to Wiring Repairs in Wiring Systems.

Is the action complete?

--

Go to Step 16

--

11

Repair the A/C refrigerant pressure sensor 5 volt reference circuit . Refer to Wiring Repairs in Wiring Systems.

Did you find and correct the condition?

--

Go to Step 16

Go to Step 14

12

Repair the A/C refrigerant pressure sensor ground circuit. Refer to Wiring Repairs in Wiring Systems.

Did you find and correct the condition?

--

Go to Step 16

Go to Step 14

13

Repair the A/C refrigerant pressure sensor signal circuit . Refer to Wiring Repairs in Wiring Systems.

Did you find and correct the condition?

--

Go to Step 16

Go to Step 14

14

  1. Inspect for a poor sensor ground terminal connection at the PCM connector. Refer to Intermittents and Poor Connections Diagnosis in Wiring Systems.
  2. If you find a condition, repair the condition as necessary. Refer to Repairing Connector Terminals in Wiring Systems.

Is the action complete?

--

Go to Step 16

Go to Step 15

15

Important:: Program the replacement PCM. Refer to Powertrain Control Module/Throttle Actuator Control Module Replacement .

Replace the PCM.

Is the action complete?

--

Go to Step 16

--

16

  1. Select the Diagnostic Trouble Code (DTC) option and the Clear DTC Information option using the scan tool.
  2. Idle the engine at the normal operating temperature.
  3. Select the Diagnostic Trouble Code (DTC) option and the Specific DTC option, then enter the DTC number using the scan tool.
  4. Operate the vehicle within the Conditions for Running the DTC as specified in the supporting text, if applicable.

Does the scan tool indicate that this test ran and passed?

--

Go to Step 17

Go to Step 2

17

Select the Capture Info option and the Review Info option using the scan tool.

Does the scan tool display any DTCs that you have not diagnosed?

--

Go to the applicable DTC table

System OK