GM Service Manual Online
For 1990-2009 cars only

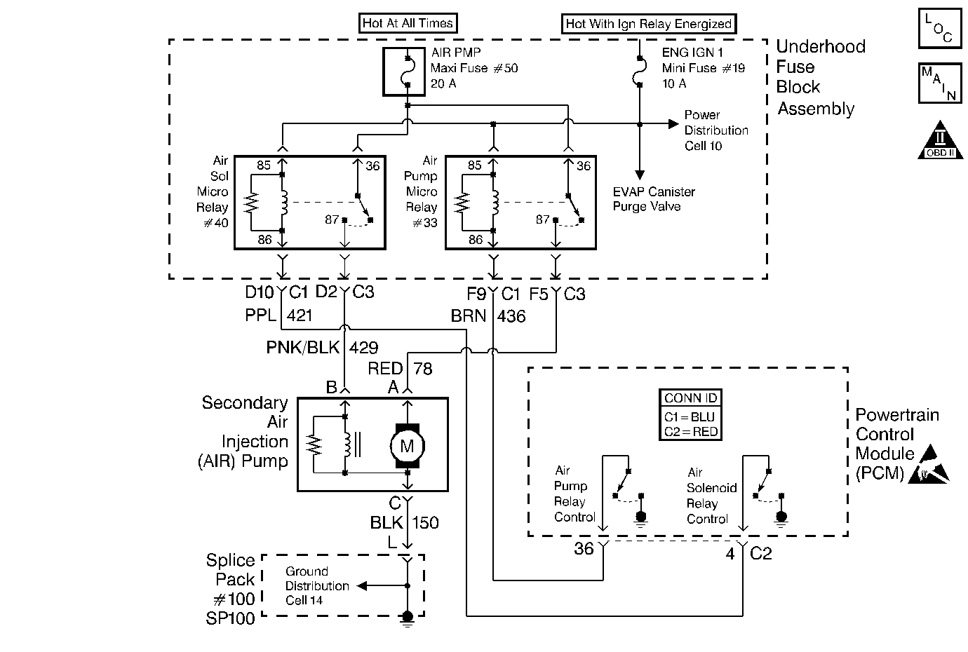
Object Number: 383940  Size: MF
Engine Controls Component Views
Cell 20: EVAP and AIR
OBD II Symbol Description Notice
Handling ESD Sensitive Parts Notice

Circuit Description

An AIR pump is used on this vehicle in order to lower the tail pipe emissions on start-up. The PCM supplies a ground to the AIR pump relay, which energizes the AIR pump.

The PCM monitors the HO2S voltages to diagnose the AIR system.

During the AIR test, the PCM activates the AIR pump during closed loop operation. When the AIR is activated, the PCM monitors the HO2S voltages and short term fuel trim values for both banks of the engine. If the AIR system is operating properly, the HO2S voltages should go low and the short term fuel trim should go high.

If the PCM determines that the HO2S voltages for both banks did not respond as expected during the tests, DTC P0410 sets. If only one sensor responded, the PCM sets either a DTC P1415 or P1416 to indicate on which bank the AIR system is inoperative.

Conditions for Running the DTC

    • DTCs P0101, P0102, P0103, P0107, P0108, P0112, P0113, P0117, P0118, P0125, P0171-P0175, P0200, P0300, P0335, P0336, P0351-P0358, P0440, P0442, P0443, P0446, P0449, P1120, P1220, P1221, P1258, P1441 and HO2S DTCs are not set.
    • The engine is running for greater than 2.0 seconds.
    • The maximum air flow is 22 g/s.
    • The Air Fuel ratio is 14.7:1
    • The engine load is less than 40 percent.
    • The ignition voltage is greater than 11.7 volts.
    • Engine is not operating in Power Enrichment, Decel Fuel Shut-off, or Catalyst Over-temperature Modes.
    • The engine speed is greater than 600 RPM.
    • The ECT is greater than 80°C (176°F) but less than 110°C (230°F).
    • The IAT is greater than -10°C (-14°F).
    • The fuel system is operating in fuel trim cells 1, 2, 4, 5, or 6

Conditions for Setting the DTC

The HO2S voltage does not go below 222 mV for 1.2 seconds.

OR

The short term fuel trim does not change more than a predetermined value.

Action Taken When the DTC Sets

    • The PCM illuminates the malfunction indicator lamp (MIL) on the second consecutive ignition cycle that the diagnostic runs and fails.
    • The PCM records the operating conditions at the time the diagnostic fails. The first time the diagnostic fails, the PCM stores this information in the Failure Records. If the diagnostic reports a failure on the second consecutive ignition cycle, the PCM records the operating conditions at the time of the failure. The PCM writes the conditions to the Freeze Frame and updates the Failure Records.

Conditions for Clearing the MIL/DTC

    • The PCM turns OFF the malfunction indicator lamp (MIL) after 3 consecutive ignition cycles that the diagnostic runs and does not fail.
    • A last test failed, or current DTC, clears when the diagnostic runs and does not fail.
    • A history DTC clears after 40 consecutive warm-up cycles, if no failures are reported by this or any other emission related diagnostic.
    • Use a scan tool in order to clear the MIL and the DTC.

Diagnostic Aids

Important: 

   • Remove any debris from the PCM\TAC module connector surfaces before servicing the PCM\TAC module. Inspect the PCM\TAC module connector gaskets when diagnosing/replacing the modules. Ensure that the gaskets are installed correctly. The gaskets prevent contaminate intrusion into the PCM\TAC modules.
   • For any test that requires probing the PCM or a component harness connector, use the Connector Test Adapter Kit J 35616 . Using this kit prevents damage to the harness/component terminals. Refer to Using Connector Test Adapters in Wiring Systems.

    • Carbon build up in the exhaust manifold may restrict the amount of air flow necessary to affect the HO2S voltage. If this is suspected, remove the air pipe from the manifold and inspect the passage.
    • Using the Freeze Frame and/or Failure Records data may aid in locating an intermittent condition. If you cannot duplicate the DTC, the information included in the Freeze Frame and/or Failure Records data can help determine how many miles since the DTC set. The Fail Counter and Pass Counter can also help determine how many ignition cycles the diagnostic reported a pass and/or a fail. Operate vehicle within the same freeze frame conditions (RPM, load, vehicle speed, temperature, etc.) that you observed. This isolates when the DTC failed.
    • For an intermittent condition, refer to Symptoms .

Test Description

The numbers below refer to the step numbers on the diagnostic table.

  1. A check valve that flows in both directions causes heat damage to the AIR system components.

Step

Action

Value(s)

Yes

No

1

Did you perform the Powertrain On-Board Diagnostic (OBD) System Check?

--

Go to Step 2

Go to Powertrain On Board Diagnostic (OBD) System Check

2

  1. Install the scan tool.
  2. Engine idling in Closed Loop.
  3. Turn OFF all accessories.
  4. Monitor the Bank 2 Sensor 1 (Right Front) HO2S voltage display on the Engine 1 Data List using a scan tool.
  5. Enable the AIR System using a scan tool.
  6. Observe and record the Bank 2 Sensor 1 (Right Front) HO2S voltage, as the AIR System is enabled.

Does the HO2S voltage drop below the specified value?

222 mV

Go to Diagnostic Aids

Go to Step 3

3

Visually/physically inspect all hoses and pipes for:

    • Being connected
    • Clamps are secure on pipes and hoses
    • No kinks, holes, or pinched hoses/pipes
    • Components with evidence of heat damage

Did all the above verify to be OK?

--

Go to Step 4

Go to Step 6

4

  1. Disconnect the hose from the check valve for the Bank 2 AIR System.
  2. Enable the AIR pump using a scan tool.

Is air present at the hose outlet?

--

Go to Step 7

Go to Step 5

5

Repair the restriction or the blockage in the AIR hoses/pipes between the right exhaust manifold and the point where the system branches to both sides of the engine.

Is the action complete?

--

Go to Step 8

--

6

Repair the condition found.

Is the action complete?

--

Go to Step 8

--

7

Replace the check valve. Refer to Secondary Air Injection Check Valve and Check Valve Pipe Replacement - Bank 2 .

Is the action complete?

--

Go to Step 8

--

8

  1. Select the Diagnostic Trouble Code (DTC) option and the Clear DTC Information option using the scan tool.
  2. Idle the engine at the normal operating temperature.
  3. Select the Diagnostic Trouble Code (DTC) option and the Specific DTC option, then enter the DTC number using the scan tool.
  4. Operate the vehicle within the Conditions for Running this DTC as specified in the supporting text, if applicable.

Does the scan tool indicate that this test ran and passed?

--

Go to Step 9

Go to Step 2

9

Select the Capture Info option and the Review Info option using the scan tool.

Does the scan tool display any DTCs that you have not diagnosed?

--

Go to the applicable DTC table

System OK