GM Service Manual Online
For 1990-2009 cars only

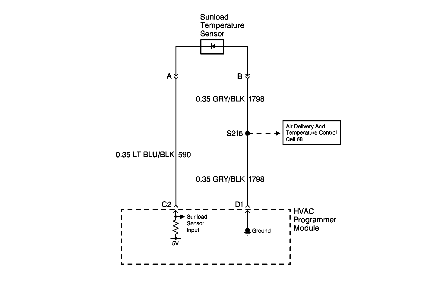
Object Number: 498419  Size: MF
HVAC Air Delivery/Temperature Control Schematics
HVAC Air Delivery/Temperature Control Schematics
HVAC Components

Circuit Description

The solar sensor is a photo-electric cell that provides sunload input to the HVAC Control Assembly. The input for the sunload is at terminal C2 of the HVAC Control Assembly. This is used by the HVAC Control Assembly for temperature control compensation based on additional heat from the sun (sunload).

Conditions for Setting the DTC

The HVAC Control Assembly continuously monitors CKT 590. DTC B0348 will set when CKT 590 stays at 4.5 volts or higher.

Action Taken When the DTC Sets

    • Stores a DTC B0348 in the HVAC Control Assembly memory.
    • The system will default and assume no solar load is present.

Conditions for Clearing the DTC

    • Use the IPC clearing feature.
    • Using a scan tool.
    • A history DTC will clear after 50 consecutive ignition cycles if the condition for the fault is no longer present.

Diagnostic Aids

    • If the DTC is a history or intermittent. Try performing the tests shown while moving the wiring harnesses and connectors, this can often cause the malfunction to appear.
    • Visually inspect sensor connector and harness for damage, corrosion or water intrusion.
    • Check for adequate terminal tension, mis-routed harness, rubbed through wire insulation, and broken wire(s) inside the insulation.

Test Description

The numbers below refer to the step numbers on the diagnostic table:

  1. This test checks for the 5 volt reference signal being sent from the HVAC Control Assembly along CKT 590.

  2. Check for an open in CKT 590.

  3. This step is checking for continuity of CKT 1798.

  4. Repair open in CKT 1798 between HVAC Control Assembly and sun load temperature sensor.

  5. This step will replace the sun load temperature sensor.

  6. Erase all DTCs and recheck for repair verification.

  7. Replace the HVAC Control Assembly.

  8. Repair the open in CKT 590.

DTC B0348 - Sunload Temperature Sensor Open (CJ2)

Step

Action

Value(s)

Yes

No

1

Were you sent here from the HVAC System Check (CJ2)?

--

Go to Step 2

Go to HVAC System Check

2

  1. Disconnect the sun load temperature sensor connector.
  2. Turn the ignition switch to the ON position.
  3. Use a DMM to measure the voltage between terminal A of the sun load temperature sensor connector and ground.

Is the voltage within the specified values?

4.0-6.0V

Go to Step 4

Go to Step 3

3

  1. Turn the ignition switch to the OFF position.
  2. Disconnect the HVAC Control Assembly connector.
  3. Using a DMM measure the resistance of circuit 590 from the HVAC Control Assembly connector terminal C2 to the sunload temperature sensor connector terminal A.

Is the resistance within specified values?

0-2 ohms

Go to Step 8

Go to Step 9

4

Use a DMM to measure the voltage between terminal A and terminal B of the sun load temperature sensor connector.

Is the voltage within the specified values?

4.0-6.0V

Go to Step 6

Go to Step 5

5

Locate and repair an open or a high resistance in CKT 1798 between the sun load temperature sensor connector and HVAC Control Assembly.

Is the repair complete?

--

Go to Step 7

--

6

Replace the sun load temperature sensor.

Refer to Sun Load Sensor Replacement .

Is the repair complete?

--

Go to Step 7

--

7

Using the scan tool, clear all DTCs from memory.

Refer to Diagnostic Trouble Code (DTC) Clearing .

Do all DTCs erase from memory?

--

Go to HVAC System Check

Go to appropriate DTC table for diagnosis

8

Replace the HVAC Control Assembly.

Refer to Control Assembly Replacement .

Is the repair complete?

--

Go to Step 7

--

9

Locate and repair an open or a high resistance in CKT 590.

Is the repair complete?

--

Go to Step 7

--