GM Service Manual Online
For 1990-2009 cars only

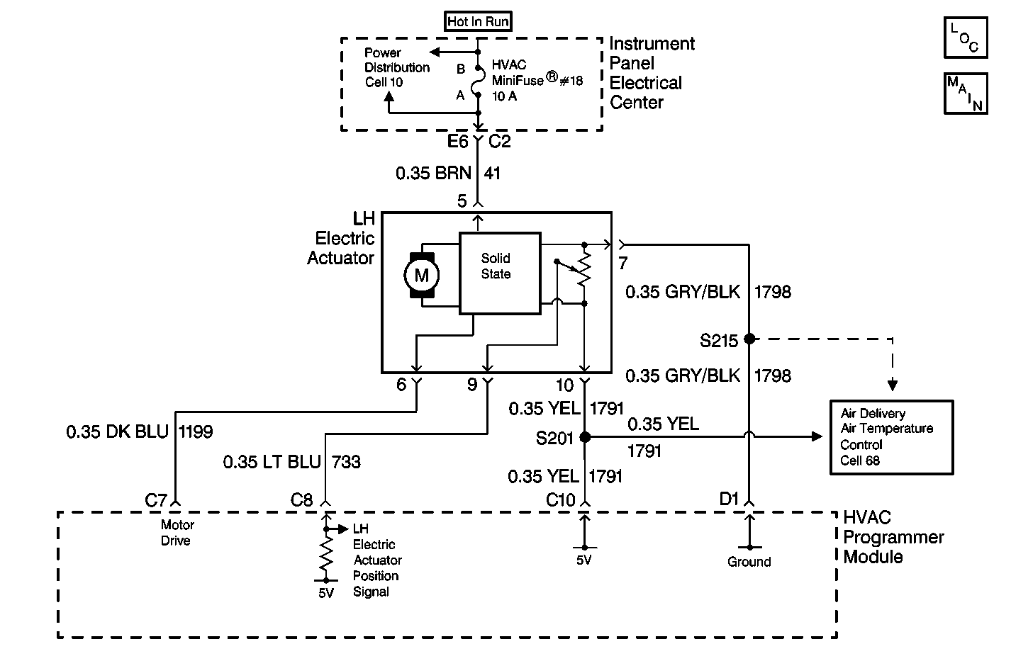
Object Number: 498423  Size: MF
HVAC Air Delivery/Temperature Control Schematics
HVAC Air Delivery/Temperature Control Schematics
Power Distribution Schematics
HVAC Components

Circuit Description

The HVAC Control Assembly receives a LH electric actuator position signal from the LH electric actuator. The LH electric actuator position sensor is a potentiometer that is tied to a 5 volt reference source through CKT 1791 and to ground through CKT 1798, both from the HVAC Control Assembly. The variable output from the potentiometer feeds back a position signal through CKT 733 to a pull-up resistor located in the HVAC Control Assembly. This signal is used to determine the necessary drive signal to the LH electric actuator motor to provide the proper air mix door position. This value is stored in the Keep Alive Memory (KAM) portion of the HVAC Control Assembly.

Conditions for Setting the DTC

    • With the ignition in the ON position, CKT 733 is checked continuously.
    • CKT 733 stays at 4.5 volts or higher.

Action Taken When the DTC Sets

    • The HVAC Control Assembly stores a DTC B0363 in memory.
    • No driver warning message will be displayed for this DTC.

Conditions for Clearing the DTC

    • Using the IPC clearing feature.
    • Using a scan tool.
    • A history DTC will clear after 50 consecutive ignition cycles if the conditions for the fault is no longer present.

Diagnostic Aids

    • If the DTC is a history or an intermittent. Try to perform the tests shown while "wiggling" wiring and connectors, this can often cause the malfunction to appear.
    • Visually inspect sensor connector and harness for damage, corrosion or water intrusion.
    • Check for adequate terminal tension, mis-routed harness, rubbed through wire insulation, and broken wire inside insulation.
    • Install a scan tool to the diagnostic link connector. Turn the ignition switch to the ON position. Select the OUTPUT CONTROL screen in HVAC special functions. Use the MISCELLANEOUS TEST screen to manually drive the LH electric actuator with the scan tool from fully open to fully closed. Monitor the LH MIX MTR POSITION FEEDBACK with the scan tool when this is done. A normal position feedback signal should range between 0-255 counts as the electric actuator is being moved.

Test Description

The numbers below refer to the step numbers on the diagnostic table:

  1. This test checks for the 5 volt reference signal being sent from the HVAC Control Assembly along CKT 1791.

  2. Checks for an open in CKT 1791.

  3. This step is checking for the 5 volt reference signal being sent from the HVAC control head along CKT 733.

  4. This step is checking for continuity in CKT 733.

  5. This step will repair an open in CKT 733.

  6. Replace the HVAC Control Assembly.

  7. This step is checking for continuity of CKT 1798.

  8. Repair the open or high resistance in CKT 1798.

  9. This step will replace the LH electric actuator.

  10. Erase all DTCs and recheck for repair verification.

  11. Repair the open in CKT 1791.

DTC B0363 - Left Actuator Feedback Open (CJ2)

Step

Action

Value(s)

Yes

No

1

Were you sent here from the HVAC System Check (CJ2)?

--

Go to Step 2

Go to HVAC System Check

2

  1. Remove the Bose® module.
  2. Disconnect the LH electric actuator connector.
  3. Turn the ignition switch to the ON position.
  4. Use a DMM to measure the voltage between the LH electric actuator connector terminal 10 and ground.

Is the voltage within the specified values?

4.0-6.0V

Go to Step 4

Go to Step 3

3

  1. Turn the ignition switch to the OFF position.
  2. Disconnect the HVAC Control Assembly connector.
  3. Using a DMM measure the resistance of circuit 1791 from the HVAC Control Assembly connector terminal C10 to the LH electric actuator connector terminal 10.

Is the resistance within specified values?

0-2 ohms

Go to Step 7

Go to Step 12

4

Use a DMM to measure the voltage between the LH electric actuator connector terminal 9 and ground.

Is the voltage within the specified values?

4.0-6.0V

Go to Step 8

Go to Step 5

5

  1. HVAC Control Assembly connector disconnected.
  2. LH electric actuator connector disconnected.
  3. Using a DMM measure the resistance of circuit 733 from the HVAC Control Assembly connector terminal C8 to the LH electric actuator connector terminal 9.

Is the resistance within the specified values?

0-2 ohms

Go to Step 7

Go to Step 6

6

Locate and repair an open or high resistance in CKT 733.

Is the repair complete?

--

Go to Step 11

--

7

Replace the HVAC Control Assembly.

Refer to Control Assembly Replacement .

Is the repair complete?

--

Go to Step 11

--

8

  1. Connect a DMM between the HVAC Control Assembly connector terminal D1and the LH electric actuator connector terminal 7.
  2. Wiggle the wiring harness while checking circuit 1798 for continuity.

Is the resistance within specified values?

0.5ohms

Go to Step 10

Go to Step 9

9

Locate and repair an open or high resistance in CKT 1798.

Is the repair complete?

--

Go to Step 11

--

10

Replace the LH Electric Actuator.

Refer to Temperature Actuator Replacement .

Is the repair complete?

--

Go to Step 11

--

11

Using a scan tool, clear all DTCs from memory.

Refer to Diagnostic Trouble Code (DTC) Clearing .

Do all DTCs erase from memory?

--

Go to HVAC System Check

Go to appropriate DTC table for diagnosis

12

Locate and repair an open or a high resistance in CKT 1791 between the LH electric actuator connector and the HVAC Control Assembly.

Is the repair complete?

--

Go to Step 11

--