GM Service Manual Online
For 1990-2009 cars only

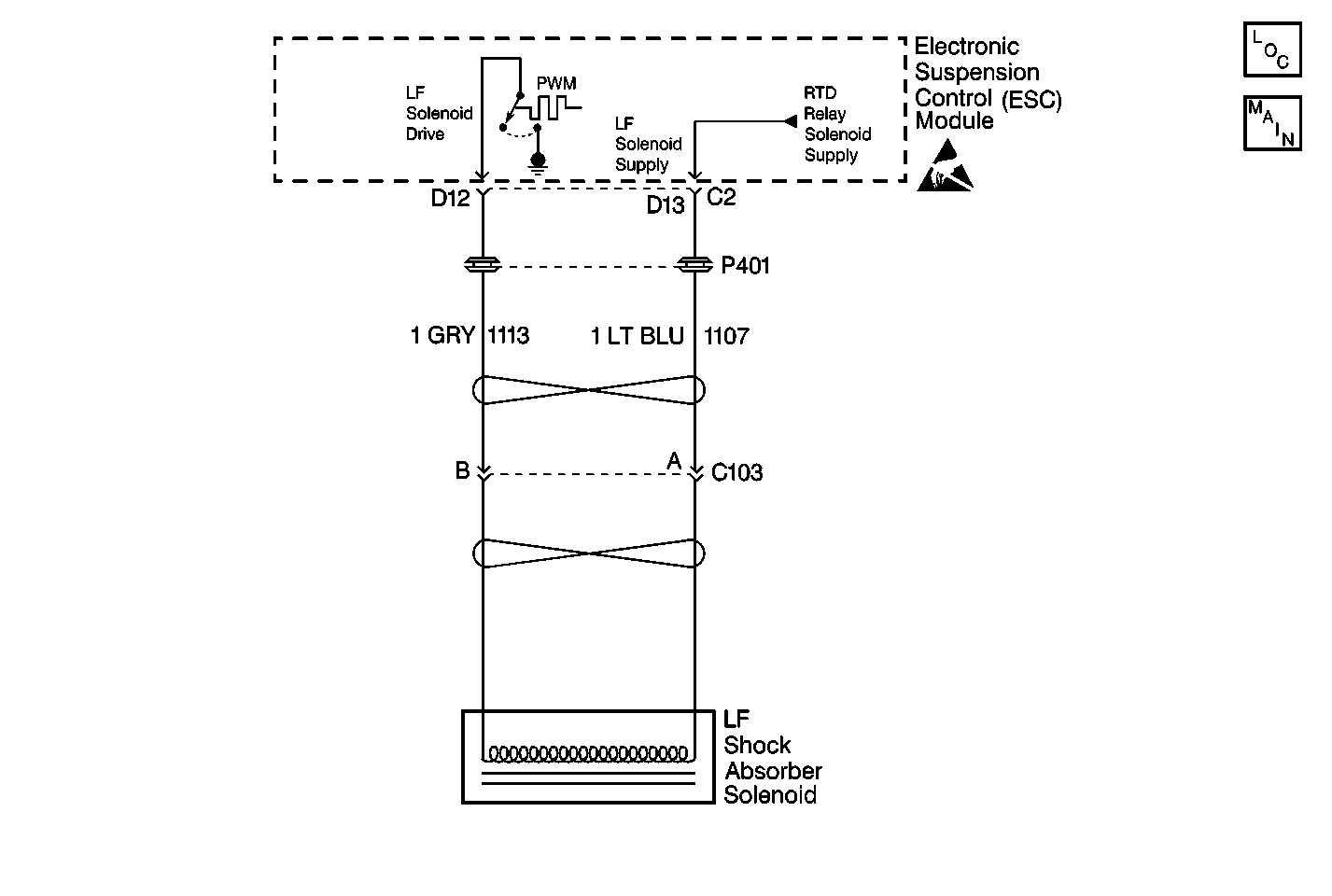
Object Number: 467125  Size: MF
Suspension Controls Components
Suspension Controls Schematics
Handling Electrostatic Discharge Sensitive Parts Notice

Circuit Description

The ESC module uses the Pulse-Width Modulation (PWM) method in order to control each shock absorber solenoid. Switching the voltage ON and OFF at each shock absorber solenoid, or pulse width modulating, limits the amount of current supplied to that particular solenoid. The ESC module periodically commands each shock absorber to an set PWM duty cycle in order to override the normal PWM command. During this set PWM duty cycle, the ESC module is able to perform a diagnostic test on each shock absorber solenoid, and can determine if a malfunction is present. The ESC module is only able to detect certain malfunctions during a given state (ON or OFF). In order to test for the conditions that set a DTC C1711, the ESC module must first command the LF solenoid OFF. The ESC module must be in a command OFF state. If a low voltage level is detected in the LF solenoid drive circuit during the OFF state, the test is again repeated. If the ESC module determines that the voltage levels detected in both tests are lower than expected, a malfunction is present and a DTC will set.

Conditions for Setting the DTC

The ESC module detects a low voltage level (short to ground) on the LF solenoid drive circuit during two diagnostic tests performed.

Action Taken When the DTC Sets

    • Stores a DTC C1711 in the ESC memory.
    • Commands 0% PWM duty cycle in order to disable the all four solenoids.
    • Sends a message to the IPC to display the SERVICE RIDE CONTROL and SHOCKS INOPERATIVE messages.
    • Sends a message to the PCM to limit the speed. The PCM then sends a message to the IPC to display the MAXIMUM SPEED 129 km/h (80 mph) message.

Conditions for Clearing the DTC

    • The ignition must be cycled before this DTC can change from current to history even if the malfunction is no longer present.
    • The ESC module no longer detects a low voltage level (short to ground) on the LF solenoid drive circuit during two diagnostic tests.
    • A history DTC will clear after 100 consecutive ignition cycles if the condition for the malfunction is no longer present.
    • Use the IPC clearing DTC feature.
    • Using a scan tool.

Diagnostic Aids

    • The following conditions may cause an intermittent malfunction to occur:
       - An intermittent short to ground on the LF solenoid drive circuit.
       - An internal shock absorber solenoid short.
       - The RTD relay circuit shorted to ground or a relay internally shorted to ground.
    • If the conditions for a DTC C1711 are current, the ESC module will disable all four solenoids (commanding 0% duty cycle) and the RTD relay. The vehicle will experience a soft ride condition on the LF side of the vehicle.
    • The RTD relay provides supply voltage to all four shock absorber solenoids; therefore, multiple shock absorber solenoid (open or short to ground) DTCs may also be stored along with a DTC C1786. Always diagnose a DTC C1786 first before attempting to diagnose multiple shock absorber solenoid DTCs.
    • If a short to ground is present on the LF solenoid supply circuit, the RTD fuse will open and a RTD relay DTC may set.
    • If the DTC is a history DTC, the problem may be intermittent. Using a scan tool, cycle the LF shock absorber solenoid while moving the wiring and the connectors. This can often cause the malfunction to appear.

Test Description

The numbers below refer to the step numbers on the diagnostic table:

  1. This step checks for RTD relay DTCs C1786, C1787, and C1788. These DTCs must be diagnosed before continuing to diagnose a DTC C1711.

  2. This step measures the resistance value of the LF shock absorber solenoid.

  3. This step checks for a short to ground in the LF shock absorber solenoid.

  4. This step checks for a short to ground on CKT 1113 or CKT 1107.

  5. This step checks for an intermittent malfunction and requests a thorough inspection of the related LF shock absorber circuit wiring and connectors.

Step

Action

Value(s)

Yes

No

1

Was the RTD Diagnostic System Check performed?

--

Go to Step 2

Go to RTD Diagnostic System Check

2

Using a scan tool, check if DTCs C1786, C1787, or C1788 are stored.

Are any of the indicated DTCs stored?

--

Go to Applicable DTC Table

Go to Step 3

3

  1. Turn OFF the ignition switch.
  2. Disconnect the LF shock absorber solenoid connector C103.
  3. At the solenoid side of connector C103, measure the resistance between terminals A and B.

Is the resistance within the specified value?

9.5-15.5 ohms

Go to Step 4

Go to Step 8

4

At the solenoid side of the LF shock absorber solenoid connector C103, check for continuity between terminal A and ground.

Is there continuity?

--

Go to Step 8

Go to Step 5

5

  1. Reconnect the LF shock absorber solenoid connector C103.
  2. Disconnect the ESC module connector C2.
  3. At the harness side of ESC module connector C2, check for continuity between terminal D12 and ground.

Is there continuity?

--

Go to Step 7

Go to Step 6

6

Check the LF shock absorber solenoid circuit for an intermittent malfunction. Refer to Diagnostic Aids.

Was an intermittent malfunction found and repaired?

--

Go to Step 11

Go to Step 9

7

Locate and repair the short to ground in CKT 1113 or CKT 1107.

Is the circuit repair complete?

--

Go to Step 11

--

8

Replace the LF shock absorber. Refer to Shock Absorber Replacement in Front Suspension.

Is the repair complete?

--

Go to Step 11

--

9

  1. Turn OFF the ignition switch.
  2. Connect or install any connectors or components that were disconnected or removed.
  3. Turn ON the ignition switch.
  4. Using the scan tool, select clear DTCs.
  5. Cycle the LF shock absorber solenoid for 60 seconds using the scan tool.

Is DTC C1711 current?

--

Go to Step 10

System OK

10

Replace the ESC module. Refer to Electronic Suspension Control Module Replacement .

Is the repair complete?

--

Go to Step 11

--

11

  1. Turn OFF the ignition switch.
  2. Connect or install any connectors or components that were disconnected or removed.
  3. Turn ON the ignition switch.
  4. Using the scan tool, select clear DTCs.

Is the repair complete?

--

Go to RTD Diagnostic System Check

--