GM Service Manual Online
For 1990-2009 cars only

Object Number: 467137  Size: MF
Suspension Controls Components
Suspension Controls Schematics
Handling Electrostatic Discharge Sensitive Parts Notice

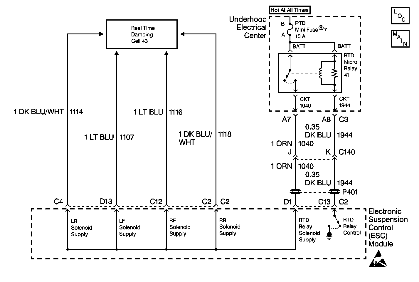
Circuit Description

Solenoid supply voltage is applied to the ESC module through the RTD relay circuit. The ESC module controls the RTD relay by grounding CKT 1944. This closes the relay contacts providing each shock absorber solenoid with supply voltage through the ESC module's internal solenoid supply circuitry. Each individual solenoid drive then controls the operation of the corresponding shock absorber. The ESC module monitors the RTD relay control/solenoid supply circuits for any malfunction conditions.

Conditions for Setting the DTC

    • The ESC module detects high voltage (a short to voltage) on the RTD relay control CKT 1944.
    • Detection for this DTC can only be accomplished during the ON (relay applied) state.

Action Taken When the DTC Sets

    • Stores a DTC C1788 in the ESC memory.
    • Commands 0% PWM duty cycle in order to disable all four solenoids.
    • Sends a message to the IPC to display the SERVICE RIDE CONTROL and the SHOCKS INOPERATIVE messages.
    • Sends a message to the PCM to limit the speed. The PCM then sends a massage to the IPC to display the MAXIMUM SPEED 129 km/h (80 mph) message.

Conditions for Clearing the DTC

    • The ESC module no longer detects high voltage (a short to voltage) on the RTD relay control CKT 1944.
    • A history DTC will clear after 100 consecutive ignition cycles if the condition for the malfunction is no longer present.
    • The IPC clearing DTCs feature.
    • Using a scan tool.

Diagnostic Aids

    • The following conditions may cause an intermittent malfunction:
       - An intermittent short to voltage on the RTD relay control CKT 1944.
       - An internal RTD relay short to voltage.
    • If the conditions for a DTC C1788 are current, the ESC module will command 0% PWM duty cycle in order to disable all four solenoids. The vehicle will experience a soft ride condition.
    • The RTD relay may be installed in the underhood electrical center in two directions and still function properly. Refer to Power Distribution Schematics in Wiring Systems for electrical center identification.

Test Description

The numbers below refer to the step numbers on the diagnostic table:

  1. This step checks for a short to voltage on the RTD relay control CKT 1944.

  2. This step measures the resistance of the RTD relay coil.

  3. This step checks for an internal short in the RTD relay.

  4. This step checks for an internal short in the RTD relay.

  5. This step checks for an internal short to voltage in the ESC module.

  6. This step checks for an intermittent malfunction and requests a thorough inspection of the related RTD relay circuit wiring and connectors.

DTC C1788 -- RTD Relay Circuit Short to Voltage

Step

Action

Value(s)

Yes

No

1

Was the RTD Diagnostic System Check performed?

--

Go to Step 2

Go to RTD Diagnostic System Check

2

  1. Turn OFF the ignition switch.
  2. Disconnect the RTD relay.
  3. Turn ON the ignition switch.
  4. At the underhood electrical center, measure the voltage between CKT 1944 and ground. Refer to Power Distribution Schematics in Wiring Systems for electrical center identification.

Is the voltage indicated over the specified value?

1.0 V

Go to Step 6

Go to Step 3

3

Measure the resistance of the RTD relay between terminals 1 and 2 (or 85 and 86).

Is the resistance reading within the specified value?

75-105 ohms

Go to Step 4

Go to Step 9

4

Check for continuity between the RTD relay terminals 1 and 3 (or 85 and 87).

Is there continuity?

--

Go to Step 9

Go to Step 5

5

Check for continuity between the RTD relay terminals 1 and 5 (or 85 and 30).

Is there continuity?

--

Go to Step 9

Go to Step 7

6

  1. Turn OFF the ignition switch.
  2. Disconnect the ESC module connector C2.
  3. Turn ON the ignition switch.
  4. At the underhood electrical center, measure the voltage between CKT 1944 and ground. Refer to Power Distribution Schematics in Wiring Systems for electrical center identification.

Is the voltage indicated over the specified value?

1.0 V

Go to Step 8

Go to Step 10

7

Check the RTD relay circuit for an intermittent malfunction. Refer to Diagnostic Aids.

Was an intermittent malfunction found and repaired?

--

Go to Step 11

Go to Step 10

8

Locate and repair the short to voltage in the underhood electrical center or CKT 1944.

Is the circuit repair complete?

--

Go to Step 11

--

9

Replace the RTD relay.

Is the repair complete?

--

Go to Step 11

--

10

Replace the ESC module. Refer to Electronic Suspension Control Module Replacement .

Is the repair complete?

--

Go to Step 11

--

11

  1. Turn OFF the ignition switch.
  2. Connect or install any connectors or components that were disconnected or removed.
  3. Turn ON the ignition switch.
  4. Using a scan tool, select clear DTCs.

Is the repair complete?

--

Go to RTD Diagnostic System Check

--