GM Service Manual Online
For 1990-2009 cars only

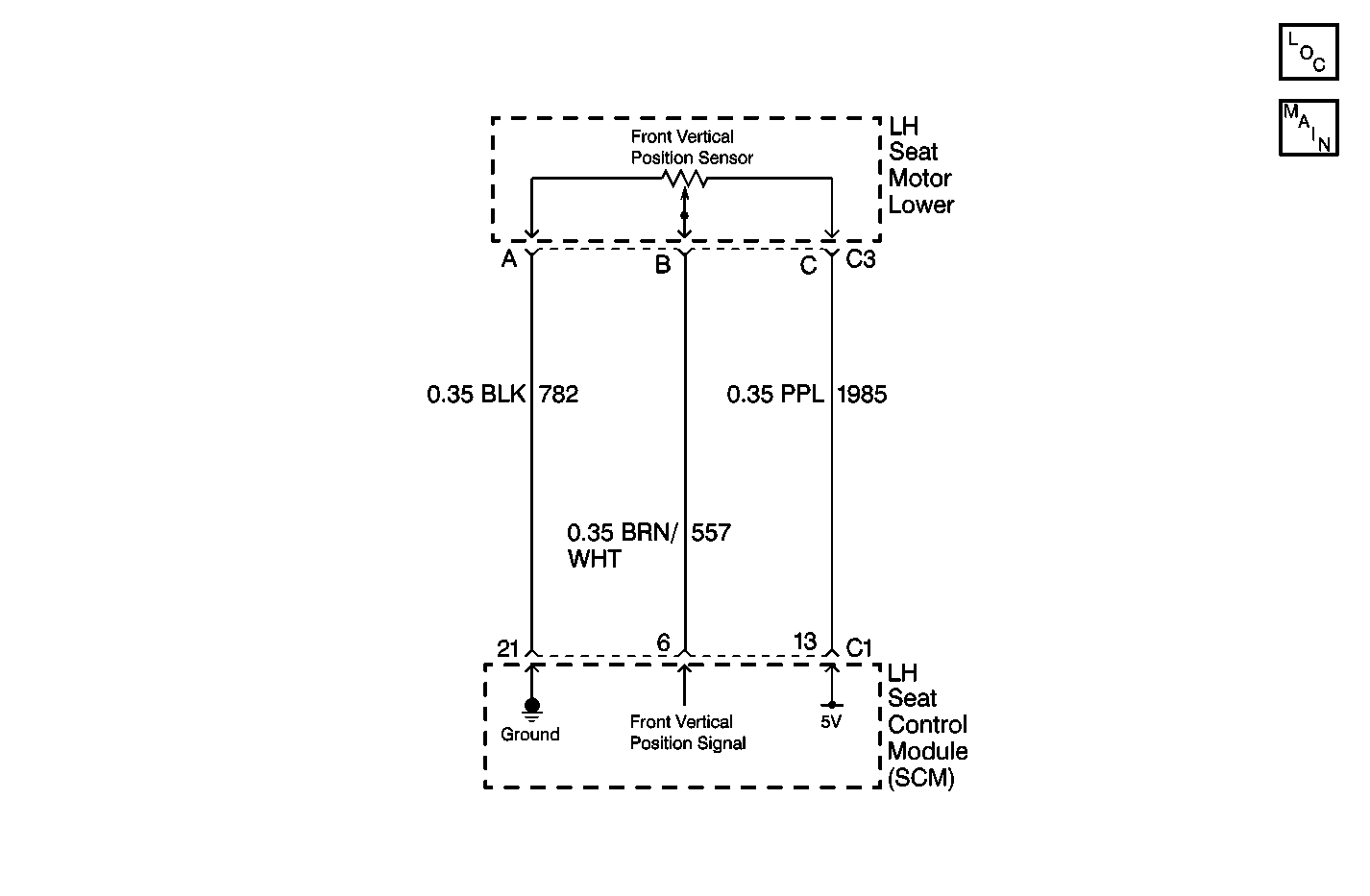
Object Number: 497379  Size: MF
Memory Seats Schematics
Power Seat Systems Components

Circuit Description

The memory seat functions, are operated when voltages from the LH seat switch are first applied to the LH Seat Control Module (SCM). The SCM then stores the voltage appearing at the front vertical position sensor signal wire when either memory push button is pressed.

The SCM provides a steady 5 volt supply (CKT 1985) and a ground (CKT  782) to the front vertical position sensor. The front vertical position sensor, which is a variable resistor, provides a return voltage on the signal wire (CKT 557) to the SCM. Depending upon the location of the seat motor, the voltage in the signal wire varies from .1 to 4.78 volts. When one of the memory buttons is pressed, the SCM applies voltage to the motor until the position sensor voltage equals the stored value. The seat will then have returned to the stored vertical position.

Conditions for Setting the DTC

The front vertical position sensor input, to the SCM, is under the voltage range of .1 V or over 4.78 V for 2 seconds or more.

Action Taken When the DTC Sets

    • Stores a history DTC B2605 in the SCM memory.
    • This DTC can only be set as a history code even if the malfunction is current.
    • No driver warning message will be displayed for this DTC.
    • The memory operation/function of the faulted position sensor is disabled.

Conditions for Clearing the DTC

    • The front vertical position sensor input, to the SCM, is within the voltage range of .1 V - 4.78 V for 2 seconds or more.
    • Using the DTC clearing feature in the IPC.
    • Using a scan tool.

Diagnostic Aids

    • If the DTC does not reset after the code is cleared, then the problem may be intermittent. Perform the tests shown while moving related wiring and connectors. This can often cause the malfunction to occur. Refer to Intermittents and Poor Connections Diagnosis in Wiring Systems.
    • The following conditions may also cause an intermittent malfunction:
       - There is an intermittent open, short to ground or battery in CKTs 557 or 1985.
       - There is an intermittent open or short to battery in CKT 782.
       - The front vertical position sensor is open or shorted internally.
    • If the SCM is unable to determine the correct vertical position, manual power seat functions will still operate, but the SCM will not be able to recall the correct seat memory settings.
    • Using a scan tool, select SCM data display and monitor the front vertical position data. Move the power seat vertically in both directions while monitoring the position sensor data. The voltage range should vary and stay between .1-4.78 volts depending on the position of the seat. This checks if the seat front vertical position sensor is open or shorted in different positions.

Test Description

The numbers below refer to the step numbers on the diagnostic table:

  1. This test checks if a DTC B2605 stored in the SCM memory.

  2. This test checks the LH seat front vertical position sensor voltage using a scan tool. Normal position sensor voltage range is between 0.1-4.78 volts.

  3. This test checks if the SCM is sending the correct supply voltage to the position sensor. The supply voltage measured must be between 4.0-5.5 volts.

  4. This test checks for an open or short to voltage in CKT 782 or in the SCM internal ground circuit.

  5. This test checks the output voltage level at the position sensor signal circuit. The signal voltage measured must be between 3.5-5.5 volts.

DTC B2605

Step

Action

Value(s)

Yes

No

1

Were you sent here from the Power Seat Diagnostic System Check?

--

Go to Step 2

Go to Power Seats System Check

2

Using a scan tool, select SCM DTC display and check for a DTC B2605.

Is DTC B2605 stored as history?

--

Go to Step 3

Go to Step 6

3

Using a scan tool, select SCM data display and monitor the LH seat front vertical position sensor data while operating the front vertical adjustment.

Does the scan tool display position sensor voltage within the specified range?

0.1-4.78 V

Go to Step 12

Go to Step 4

4

  1. Turn OFF the ignition switch.
  2. Disconnect the LH seat adjuster motor connector C3.
  3. Turn ON the ignition switch.
  4. Measure voltage at the adjuster motor connector C3 (harness side), between terminal C and ground while operating the front vertical adjuster.

Is the voltage within the specified range?

4.0-5.5 V

Go to Step 5

Go to Step 7

5

Measure voltage at the adjuster motor connector C3 (harness side), between terminals A and C while operating the front vertical adjuster.

Is the voltage within the specified range?

4.0-5.5 V

Go to Step 10

Go to Step 8

6

  1. Turn OFF the ignition switch.
  2. Disconnect the LH seat adjuster motor connector C3.
  3. Turn ON the ignition switch.
  4. Measure voltage at the adjuster motor connector C3 (harness side), between terminal B and ground while operating the front vertical adjuster.

Is the voltage within the specified range?

3.5-5.5 V

Go to Step 10

Go to Step 9

7

Check for an open or short (to ground or voltage) in CKT 1985.

Was a problem found and repaired?

--

Go to Step 14

Go to Step 11

8

Check for an open or short to voltage in CKT 782.

Was a problem found and repaired?

--

Go to Step 14

Go to Step 11

9

Check for an open or short (to ground or voltage) in CKT 557.

Was a problem found and repaired?

--

Go to Step 14

Go to Step 11

10

Replace the LH seat adjuster motor assembly. Refer to Front Seat Adjuster Motor Replacement .

Is the replacement complete?

--

Go to Step 14

--

11

Replace the SCM. Refer to Memory Seat Control Module Replacement .

Is the replacement complete?

--

Go to Step 14

--

12

Check the LH seat front vertical position sensor circuit for an intermittent malfunction. Refer to Diagnostic Aids.

Was a problem found and repaired?

--

Go to Step 14

Go to Step 13

13

  1. Turn OFF the ignition switch.
  2. Reconnect or install any connectors or components that were disconnected or removed.
  3. Turn ON the ignition switch.
  4. Clear any DTCs.
  5. Wait 2 seconds.

Does DTC B2605 set as history?

--

Go to Step 11

System OK

14

  1. Turn OFF the ignition switch.
  2. Reconnect or install any connectors or components that were disconnected or removed.
  3. Turn ON the ignition switch.
  4. Clear any DTCs.

Is the repair complete?

--

Go to Power Seats System Check

--