GM Service Manual Online
For 1990-2009 cars only

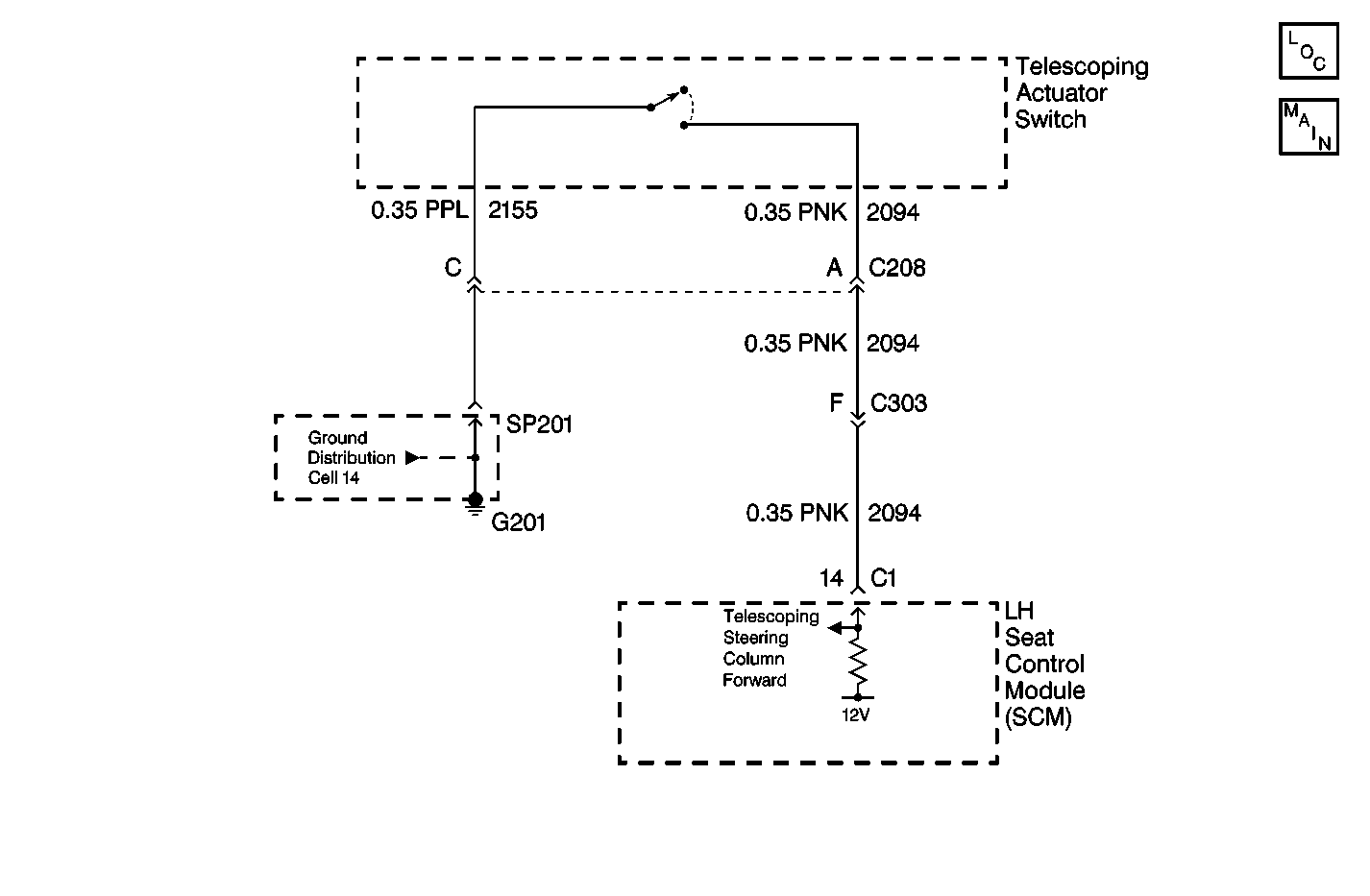
Object Number: 488083  Size: MF
Tilt/Telescoping Steering Column Schematics
Ground Distribution Schematics
Tilt Wheel/Column Components

Circuit Description

The telescoping steering column switch circuit provides an input to the LH Seat Control Module (SCM) when the switch is held closed in the in or out position. The SCM monitors a 12 volt signal applied to the steering column switch circuit (2094). When the steering column switch is closed in the in position, the column in 12 volt signal is grounded and pulled low within the SCM, indicating a column in request.

Conditions for Setting the DTC

The steering column in switch input, to the SCM, is active for more than 20 seconds.

Action Taken When the DTC Sets

    • Stores a history DTC B2852 in the SCM memory.
    • This DTC can only be set as a history code even if the malfunction is current.
    • No driver warning message will be displayed for this DTC.
    • The operation/function of the steering column in switch is disabled.

Conditions for Clearing the DTC

    • The steering column in switch input, to the SCM, is inactive for more than 20 seconds.
    • Using a scan tool.

Diagnostic Aids

    • The following conditions may cause an intermittent malfunction.
       - There is an intermittent short to ground in circuit 2094.
       - The steering column in switch is shorted to ground internally or is sticking.
       - The steering column in switch was closed for longer than 20 seconds.
    • If circuit 2094 is shorted to ground or the steering column in switch is stuck closed, the steering column will remain in the full in position at all times.
    • Using a scan tool, select scan tool inputs and monitor steering column in switch status. If the scan tool displays ACTIVE, disconnect the steering column in switch. If the display changes to INACTIVE, replace the switch. If the display remains ACTIVE check circuit 2094 for a short to ground.
    • If the DTC does not reset after the code is cleared, then the problem may be intermittent. Perform the tests shown while moving related wiring and connectors. This can often cause the malfunction to occur. Refer to Intermittents and Poor Connections Diagnosis in Wiring Systems.
    • Activate the steering column in switch numerous times while monitoring the status on the scan tool to see if it sticks intermittently.

Test Description

The numbers below refer to the step numbers on the diagnostic table:

  1. This test determines the status of the column in switch using a scan tool. The scan tool will display the column in switch status as ACTIVE (button pressed) and INACTIVE (button released).

  2. This test checks if the column in switch is shorted to ground or stuck. If the column in switch status changes from ACTIVE to INACTIVE when the column in switch is disconnected, then the switch assembly must be replaced.

DTC B2852

Step

Action

Value(s)

Yes

No

1

Were you sent here from the Power Seat Diagnostic System Check?

--

Go to Step 2

Go to Power Seats System Check

2

Using a scan tool, select SCM input display and monitor the column in switch status.

Does the scan tool display column in switch status as ACTIVE?

--

Go to Step 3

Go to Step 7

3

  1. Disconnect the column in switch connector.
  2. Using a scan tool, select SCM input display and monitor the column in switch status.

Does the scan tool display column in switch status as ACTIVE?

--

Go to Step 4

Go to Step 5

4

Check for a short to ground in CKT2094.

Was a problem found and repaired?

--

Go to Step 9

Go to Step 6

5

Replace the telescoping column switch assembly. Refer to Telescope Actuator Switch Replacement - On Vehicle .

Is the replacement complete?

--

Go to Step 9

--

6

Replace the SCM. Refer to Memory Seat Control Module Replacement .

Is the replacement complete?

--

Go to Step 9

--

7

Check the column in switch circuit for an intermittent malfunction. Refer to Diagnostic Aids.

Was a problem found and repaired?

--

Go to Step 9

Go to Step 8

8

  1. Turn OFF the ignition switch.
  2. Reconnect or install any connectors or components that were disconnected or removed.
  3. Turn ON the ignition switch.
  4. Clear any DTCs.
  5. Wait 20 seconds.

Does DTC B2852 set as history?

--

Go to Step 6

System OK

9

  1. Turn OFF the ignition switch.
  2. Reconnect or install any connectors or components that were disconnected or removed.
  3. Turn ON the ignition switch.
  4. Clear any DTCs.

Is the repair complete?

--

Go to Power Seats System Check

--