GM Service Manual Online
For 1990-2009 cars only

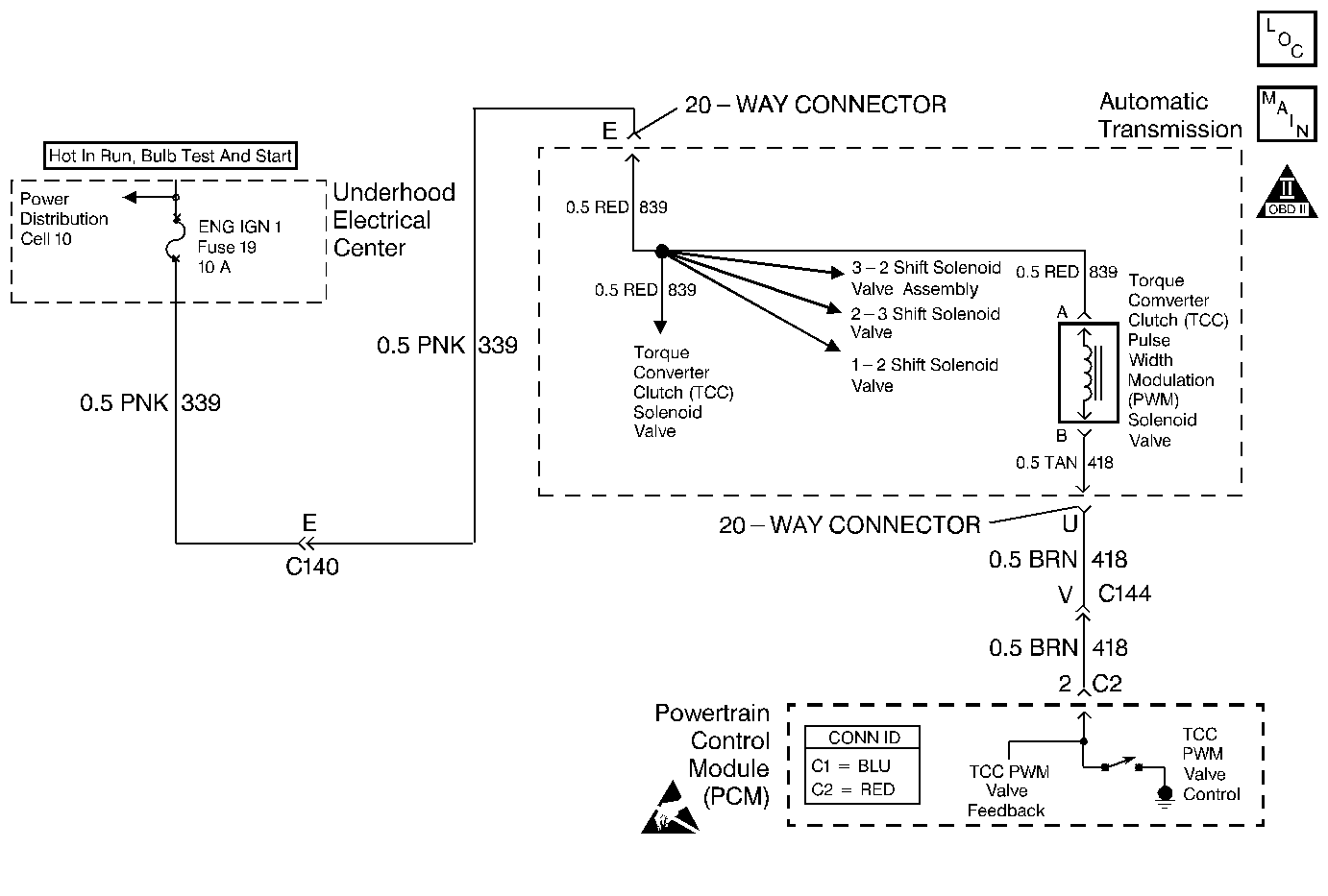
Object Number: 360653  Size: MF
Automatic Transmission Controls Schematics
OBD II Symbol Description Notice
Handling ESD Sensitive Parts Notice

Circuit Description

The torque converter clutch pulse width modulation (TCC PWM) solenoid valve controls the fluid acting on the converter clutch valve. The converter clutch valve controls the TCC application and release. The solenoid attaches to the control valve body within the transmission. The solenoid receives ignition voltage through circuit 339. The powertrain control module (PCM) controls the solenoid by providing a ground path on circuit 418. Current flows through the solenoid coil according to the duty cycle (percentage of ON and OFF time). The TCC PWM solenoid valve provides a smooth engagement of the torque converter clutch by operating during a duty cycle percent of ON time.

When the PCM detects a continuous open or short to ground in the TCC PWM solenoid valve circuit or the TCC PWM solenoid valve, then DTC P1860 sets. DTC P1860 is a type B DTC.

Conditions for Running the DTC

    • The system voltage is 8-18 volts.
    • The engine speed is greater than 300 RPM for 5 seconds.
    • The engine is not in fuel cutoff.
    • The PCM commands first gear.
    • The TCC duty cycle is less than 10% or greater than 90%.

Conditions for Setting the DTC

DTC P1860 sets if either of the following conditions occurs for 5 seconds:

    • The PCM commands the solenoid ON (90%) and the voltage input remains high (B+).
    • The PCM commands the solenoid OFF (0%) and the voltage input remains low (0 volt).

Action Taken When the DTC Sets

    • The PCM illuminates the malfunction indicator lamp (MIL) during the second consecutive trip in which the Conditions for Setting the DTC are met.
    • The PCM inhibits TCC engagement.
    • The PCM inhibits 4th gear if the transmission is in hot mode.
    • The PCM freezes shift adapts from being updated.
    • The PCM stores DTC P1860 in PCM history during the second consecutive trip in which the Conditions for Setting the DTC are met.

Conditions for Clearing the MIL/DTC

    • The PCM turns OFF the MIL during the third consecutive trip in which the diagnostic test runs and passes.
    • A scan tool clears the DTC from PCM history.
    • The PCM clears the DTC from PCM history if the vehicle completes 40 warm-up cycles without an emission-related diagnostic fault occurring.
    • The PCM cancels the DTC default actions when the fault no longer exists and the ignition switch is OFF long enough in order to power down the PCM.

Diagnostic Aids

    • Inspect the wiring at the PCM, the transmission connector and all other circuit connecting points for the following conditions:
       - A backed out terminal
       - A damaged terminal
       - Reduced terminal tension
       - A chafed wire
       - A broken wire inside the insulation
       - Moisture intrusion
       - Corrosion
    • When diagnosing for an intermittent short or open condition, massage the wiring harness while watching the test equipment for a change.

Test Description

The numbers below refer to the step numbers on the diagnostic table.

  1. This step tests for voltage to the solenoid.

  2. This step tests the ability of the PCM and wiring to control the ground circuit.

  3. This step tests the resistance of the TCC PWM solenoid valve and the automatic transmission (A/T) wiring harness assembly.

DTC P1860 TCC PWM Solenoid Circuit -- Electrical

Step

Action

Value(s)

Yes

No

1

Was the Powertrain On-Board Diagnostic (OBD) System Check performed?

--

Go to Step 2

Go to Powertrain On Board Diagnostic (OBD) System Check

2

  1. Install the Scan Tool .
  2. With the engine OFF, turn the ignition switch to the ON position.
  3. Important: Before clearing the DTC, use the scan tool in order to record the Freeze Frame and Failure Records. Using the Clear Info function erases the Freeze Frame and Failure Records from the PCM.

  4. Record the DTC Freeze Frame and Failure Records.
  5. Clear the DTC.

Are any of the following DTCs also set?

    • P0740
    • P0753
    • P0758
    • P0785

--

Go to Step 3

Go to Step 4

3

  1. Inspect the ENG IGN 1 fuse.
  2. If the fuse is open, inspect the following components for a short to ground condition:
  3. • Circuit 339 (PNK)
    • The solenoids
    • The A/T wiring harness assembly
    • Refer to General Electrical Diagnosis in Wiring Systems.
  4. Repair the circuit, the solenoids, and the harness if necessary.
  5. Refer to Wiring Repairs in Wiring Systems.

Was a short to ground condition found?

--

Go to Step 15

Go to Step 4

4

  1. Turn the ignition OFF.
  2. Disconnect the transmission 20-way connector (additional DTCs may set).
  3. Install J 39775 jumper harness on the engine side of the 20-way connector.
  4. With the engine OFF, turn the ignition switch to the ON position.
  5. Connect a lest lamp from J 39775 cavity E to ground.

Is the test lamp on?

--

Go to Step 6

Go to Step 5

5

Important: The condition that affects this circuit may exist in other connecting branches of the circuit. Refer to Electrical Diagnosis for complete circuit distribution.

Repair the open or short to ground in ignition feed circuit 339 (PNK) to the TCC PWM solenoid valve.

Refer to Wiring Repairs in Wiring Systems.

Is the repair complete?

--

Go to Step 15

--

6

  1. Install the test lamp from cavity E to cavity U of the J 39775 .
  2. Using the transmission output control function on the scan tool, command the TCC PWM solenoid valve ON and OFF three times.

Does the test lamp turn ON when the TCC PWM solenoid valve is commanded ON, and OFF when commanded OFF?

--

Go to Step 8

Go to Step 7

7

  1. Inspect circuit 418 (BRN) of the engine wiring harness for an open, short to ground or short to power condition.
  2. Refer to General Electrical Diagnosis in Wiring Systems.

  3. Repair the circuit if necessary.
  4. Refer to Wiring Repairs in Wiring Systems.

Was an open, short to ground or short to power condition found?

--

Go to Step 15

Go to Step 9

8

  1. Install J 39775 on the transmission side of the 20-way connector.
  2. Using the J 39200 digital multimeter (DMM) and the J 35616-A connector test adapter kit, measure the resistance between terminals E and U.

Is the resistance within the specified range?

10-15 ohms

Go to Step 11

Go to Step 10

9

Replace the PCM.

Refer to Powertrain Control Module/Throttle Actuator Control Module Replacement in Engine Controls.

Is the replacement complete?

--

Go to Step 15

--

10

  1. Disconnect the A/T wiring harness assembly at the TCC PWM solenoid valve.
  2. Measure the resistance of the TCC PWM solenoid valve.

Is the resistance within the specified range?

10-15 ohms

Go to Step 13

Go to Step 14

11

Measure the resistance between terminal E and ground, and between terminal U and ground.

Are both readings greater than the specified value?

250 K ohms

Go to Diagnostic Aids

Go to Step 12

12

  1. Disconnect the A/T wiring harness assembly at the TCC PWM solenoid valve.
  2. Measure the resistance between each of the component terminals and ground.

Are both readings greater than the specified value?

250 K ohms

Go to Step 13

Go to Step 14

13

Replace the A/T wiring harness assembly.

Refer to Torque Converter Clutch Pulse Width Modulation Solenoid, Torque Converter Clutch Solenoid, and Wiring Harness Replacement.

Is the replacement complete?

--

Go to Step 15

--

14

Replace the TCC PWM solenoid valve.

Refer to Torque Converter Clutch Pulse Width Modulation Solenoid, Torque Converter Clutch Solenoid, and Wiring Harness Replacement.

Is the replacement complete?

--

Go to Step 15

--

15

Perform the following procedure in order to verify the repair:

  1. Select DTC.
  2. Select Clear Info.
  3. Drive the vehicle in D4 with the TCC ON. Ensure the following conditions are met:
  4. • The PCM commands the TCC PWM solenoid valve ON, and the voltage input drops to zero.
    • The PCM commands the TCC PWM solenoid valve OFF, and the voltage input increases to B+.
    • All conditions met for 5 seconds.
  5. Select Specific DTC.
  6. Enter DTC P1860.

Has the test run and passed?

--

System OK

Go to Step 1