GM Service Manual Online
For 1990-2009 cars only

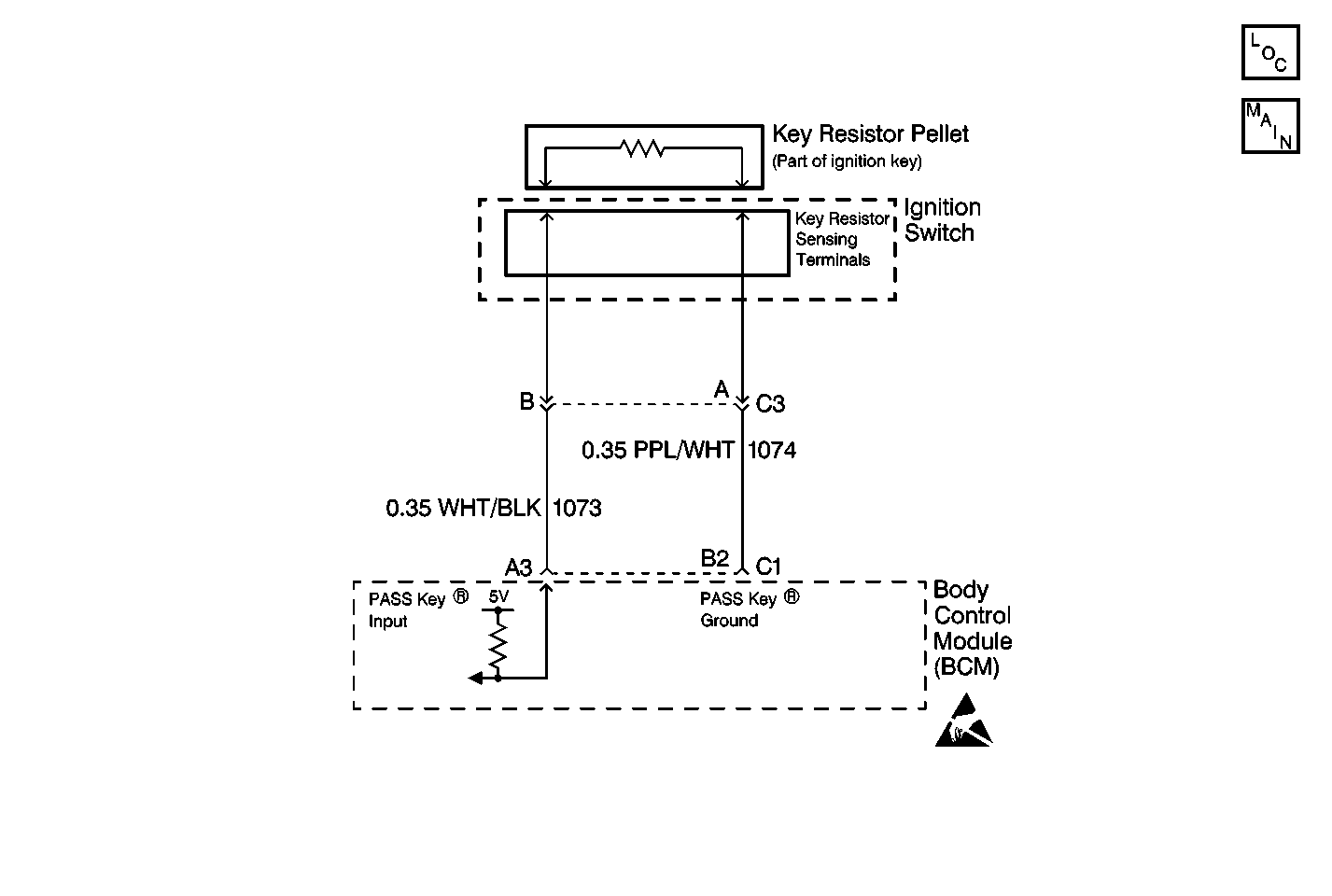
Object Number: 472948  Size: MF
Body Control Module Components
Body Control System Schematics
Handling Electrostatic Discharge Sensitive Parts Notice

Circuit Description

Inserting the PASS-Key® (with resistor pellet) in the ignition lock cylinder completes the PASS-Key® circuit. Contacts in the ignition lock cylinder mate with the pellet contacts. The BCM compares the resistance value of the key pellet to the valid resistance programmed into the BCM. If the proper resistance value is read, the BCM allows the following functions to occur:

    • The theft deterrent relay to energize.
    • The steering column to unlock.
    • The BCM sends a message through the serial data line to the PCM to allow fuel enable processing to occur.

If the resistance value is incorrect, a malfunction is present and a DTC will set.

Conditions for Setting the DTC

    • The voltage level sampled at the BCMs PASS-Key® input circuit is high, signaling that an invalid PASS-Key® resistance was detected, and a short to voltage or an open circuit is present.
    • This condition must be present for 1 second.

Action Taken When the DTC Sets

    • Stores a DTC B2723 in the BCM memory.
    • Sends a message to the IPC to display the SECURITY indicator.
    • The BCM will disable the theft deterrent relay.
    • The PCM will not allow fuel enable processing to occur.
    • Disables sampling of the PASS-Key® resistance for a time-out period of 3 minutes.
    • Does not disarm an armed UTD system
    • The steering column remains in the locked position.

Conditions for Clearing the DTC

    • This DTC requires an ignition cycle in order to change from current to history.
    • The BCM detects a valid PASS-Key® resistance value on the PASS-Key® input circuit (CKT 1073).
    • A history DTC will clear after 50 consecutive ignition cycles if the condition for the malfunction is no longer present.
    • Use the IPC clearing DTCs feature.
    • Use a scan tool.

Diagnostic Aids

    • The following conditions may cause an intermittent malfunction:
       - There is an intermittent open or short to voltage in CKT 1073 or CKT 1074.
       - There are poor connections at the BCM or the ignition switch connector.
       - The PASS-Key® resistor is open.
       - The ignition lock cylinder key contacts or the PASS-Key® resistor is dirty or loose.
    • If the key resistor pellet is incorrect, there will be no BCM outputs to the theft deterrent relay or to the PCM. This state will last about 3 minutes. If a key is inserted, or the ignition is turned ON again before the 3 minute time frame is complete, the timer will reset to 3 minutes. Disconnecting the battery will not clear the timer sequence, but the timer will reset to 3 minutes when the battery power is restored. Even if a proper key is inserted during one of the time periods, the vehicle will not start until the total time period has lapsed.
    • Clean away any dirt or grease from the key resistor. The foreign substances could interfere with the key detection circuit and set a DTC.
    • If there is an open or a short to voltage on CKT 1073 or CKT 1074, the vehicle will exhibit a no crank condition.
    • Check for any poor connections at the BCM and at the ignition lock cylinder. A poor connection can cause an open, a short, incorrect PASS-Key® resistance, or an intermittent malfunction. If the DTC is a history DTC, the problem may be intermittent. Perform the tests while moving the related wiring, the connectors, and the key. This can often cause the malfunction to appear. Refer to Intermittents and Poor Connections Diagnosis .

Test Description

The numbers below refer to the step numbers on the diagnostic table:

  1. This step checks to see if the PASS-Key® resistor pallet is within the allowable range.

  2. This step uses the ignition lock cylinder test in order to determine if the ignition lock cylinder is functioning properly.

  3. This step determines if there is a short to ground in CKT 1073.

  4. This step checks if there is a short between CKT 1073 or CKT 1074 which the BCM would interpret as a short to ground.

  5. This step checks for an intermittent malfunction and requests a thorough inspection of any related PASS-Key® circuit wiring and connections.

DTC B2723 -- PASS-Key® Detection Circuit Short to Voltage or Open

Step

Action

Value(s)

Yes

No

1

Were you sent here from the BCM Diagnostic System Check?

--

Go to Step 2

Go to Diagnostic System Check - Body Control System

2

Insert the ignition key into the J 35628-A interrogator in order to check the vehicle key code number.

Does the J 35628-A interrogator indicate a valid key code in the specified range?

Key Code #1--15

Go to Step 3

Go to Step 9

3

Perform the lock cylinder test using the J 35628-A interrogator. Refer to Ignition Lock Cylinder Test .

Was a problem found?

--

Go to Step 8

Go to Step 4

4

  1. Turn OFF the ignition switch.
  2. Disconnect the ignition lock cylinder connector C3.
  3. Turn ON the ignition switch.
  4. At the BCM side of the ignition lock cylinder connector C3, measure the voltage between terminals A and B.

Is the voltage reading within specifications?

Approx. 5.0 V

Go to Step 6

Go to Step 5

5

Check for an open or short to voltage in CKTs 1073 or 1074.

Was a circuit problem found and repaired?

--

Go to Step 11

Go to Step 10

6

Check the ignition lock cylinder circuit for an intermittent malfunction. Refer to Diagnostic Aids.

Was an intermittent malfunction found and repaired?

--

Go to Step 11

Go to Step 7

7

  1. Turn OFF the ignition switch.
  2. Reconnect or install any connectors or components that were disconnected or removed.
  3. Turn ON the ignition switch.
  4. Clear any DTCs. Refer to Clearing DTCs .
  5. Wait 5 seconds and check for DTCs.

Does DTC B2723 set as current?

--

Go to Step 10

System OK

8

Replace the ignition lock cylinder. Refer to Ignition Switch Lock Cylinder Replacement in Instrument Panel, Gages and Console.

Is the replacement complete?

--

Go to Step 11

--

9

Replace the ignition key. Refer to Programming Replacement Keys, Ignition Cylinder, or Powertrain Control Module .

Is the replacement complete?

--

Go to Step 11

--

10

  1. Replace the BCM. Refer to Body Control Module Replacement .
  2. Program the BCM. Refer to Body Control Module (BCM) Programming/RPO Configuration .

Is the replacement complete?

--

Go to Step 11

--

11

  1. Turn OFF the ignition switch.
  2. Reconnect or install any connectors or components that were disconnected or removed.
  3. Turn ON the ignition switch.
  4. Clearing DTCs .

Is the repair complete?

--

Go to Diagnostic System Check - Body Control System

--