GM Service Manual Online
For 1990-2009 cars only

Object Number: 477295  Size: MF
Body Control Module Components
Body Control System Schematics
Handling Electrostatic Discharge Sensitive Parts Notice
Ground Distribution Schematics

Circuit Description

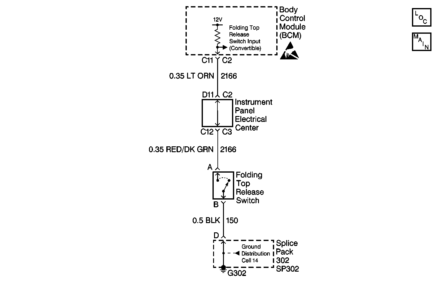
The folding top switch circuit provides a ground input to the BCM when the switch is pressed. This input allows the BCM to detect a folding top lid release request. If the BCM detects a ground on CKT 2166, the BCM will activate the folding top (TONN REL) relay. The BCM monitors the folding top release switch circuit and determines how long a ground has been applied. If the ground is applied for longer than expected, a malfunction is present and a DTC will set.

Conditions for Setting the DTC

The BCM detects a ground on CKT 2166 for longer than 60 seconds.

Action Taken When the DTC Sets

    • Stores a DTC B2567 in the BCM memory.
    • No driver warning message will be displayed for this DTC.

Conditions for Clearing the DTC

    • The BCM no longer detects a ground on CKT 2166 for longer than 60 seconds.
    • A history DTC will clear after 50 consecutive ignition cycles if the condition for the malfunction is no longer present.
    • Use the IPC clearing DTCs feature.
    • Use a scan tool.

Diagnostic Aids

    • The following conditions may cause an intermittent malfunction:
       - There is an intermittent short to ground in CKT 2166.
       - The folding top switch is shorted to ground internally or is sticking.
       - The folding top switch is pressed for longer than 60 seconds.
    • If CKT 2166 is shorted to ground with the ignition ON, the folding top will release once and then will remain inoperative. If the short occurred when the ignition was turned OFF, the folding top will release as soon as the ignition is turned ON and then will remain inoperative. The BCM will remember the last transition that took place from the folding top release switch and will not release the folding top again until the BCM detects a change from the folding top switch.
    • If the DTC is a history DTC, the problem may be intermittent. Perform the tests shown while moving related wiring and connectors. This can often cause the malfunction to occur. Refer to Intermittents and Poor Connections Diagnosis .

Test Description

The numbers below refer to the step numbers on the diagnostic table:

  1. This test determines the status of the folding top release switch using a scan tool. The scan tool will display the folding top release switch status as ACTIVE (button pressed) and INACTIVE (button released).

  2. This test checks if the folding top release switch is shorted to ground or stuck. If the folding top release switch status changes from ACTIVE to INACTIVE when the folding top release switch is disconnected, then the folding top release switch must be replaced.

DTC B2567 Folding Top Release Switch Circuit

Step

Action

Value(s)

Yes

No

1

Were you sent here from the BCM Diagnostic System Check?

--

Go to Step 2

Go to Diagnostic System Check - Body Control System

2

  1. Turn ON the ignition switch.
  2. Using a scan tool, select BCM input display and monitor the folding top release switch status.

Does the scan tool display folding top release switch status as ACTIVE?

--

Go to Step 3

Go to Step 7

3

  1. Disconnect the folding top release switch connector.
  2. Using a scan tool, select BCM input display and monitor the folding top release switch status.

Does the scan tool display folding top release switch status as ACTIVE?

--

Go to Step 4

Go to Step 5

4

Check for a short to ground in CKT 2166.

Was a problem found and repaired?

--

Go to Step 9

Go to Step 6

5

Replace the folding top release switch. Refer to Folding Top Stowage Compartment Lid Release Switch Replacement in Roof.

Is the replacement complete?

--

Go to Step 9

--

6

  1. Replace the BCM. Refer to Body Control Module Replacement .
  2. Program the BCM. Refer to Body Control Module (BCM) Programming/RPO Configuration .

Is the replacement complete?

--

Go to Step 9

--

7

Check the folding top release switch circuit for an intermittent malfunction. Refer to Diagnostic Aids.

Was a problem found and repaired?

--

Go to Step 9

Go to Step 8

8

  1. Turn OFF the ignition switch.
  2. Reconnect or install any connectors or components that were disconnected or removed.
  3. Turn ON the ignition switch.
  4. Clear any DTCs.
  5. Wait 60 seconds.

Does DTC B2567 set as current?

--

Go to Step 6

System OK

9

  1. Turn OFF the ignition switch.
  2. Reconnect or install any connectors or components that were disconnected or removed.
  3. Turn ON the ignition switch.
  4. Clear any DTCs.

Is the repair complete?

--

Go to Diagnostic System Check - Body Control System

--