GM Service Manual Online
For 1990-2009 cars only
Figure 1:

Full Engine View Left Side


Object Number: 417731  Size: LF
(1)Fuel Damper
(2)EVAP Test Port
(3)PCV Crossover Hose
(4)Left Bank Ignition Coils
(5)Engine Oil Temperature Sensor
(6)Bank 1 Sensor 1 HO2S Mounting Boss
(7)Engine Coolant Temperature (ECT) Sensor
(8)EVAP Purge Solenoid
(9)Fuel Pressure Connection Valve
(10)Throttle Actuator Control Motor
(11)Throttle Body
(12)Right Bank Ignition Coils
Figure 2:

Throttle Position Sensor


Object Number: 222864  Size: SF
(1)Throttle Position Sensor
Figure 3:

Knock Sensors


Object Number: 198593  Size: MF
(1)Front Knock Sensor - KS1
(2)Rear Knock Sensor - KS2
Figure 4:

MAF, IAT, TAC Motor, Generator, Throttle Body


Object Number: 198616  Size: MF
(1)Throttle Actuator Control Motor
(2)Generator
(3)Clean Air Intake to AIR Pump
(4)Air Cleaner Housing
(5)Mass Air Flow (MAF) Sensor
(6)Intake Air Temperature (IAT) Sensor
(7)Throttle Body Assembly
Figure 5:

AIR Pump


Object Number: 222867  Size: SF
(1)AIR Pump Location
Figure 6:

AIR Solenoid


Object Number: 619062  Size: MF
(1)AIR Solenoid Location
Figure 7:

EVAP Canister


Object Number: 222865  Size: SF
(1)Right Rear Wheel Well
(2)EVAP Canister
(3)EVAP Canister Mounting Bracket
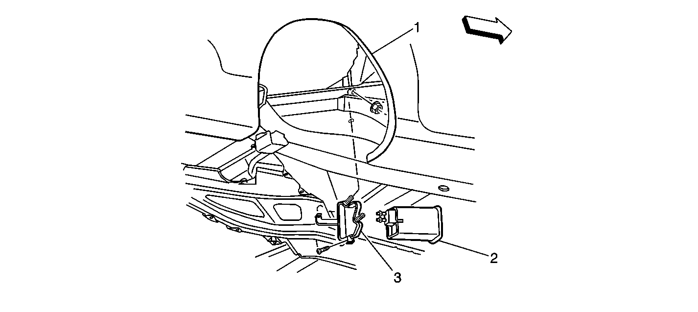
Figure 8:

EVAP Vent Valve


Object Number: 424281  Size: SF
(1)Vent Valve Mounting Bracket
(2)EVAP Vent Valve
Figure 9:

PCM and TAC Module


Object Number: 222866  Size: SF
(1)PCM/TAC Module Location
(2)PCM/TAC Module Access Cover
Figure 10:

Underhood Electrical Center


Object Number: 199549  Size: LF
(1)Battery
(2)Underhood Electrical Center
(3)Coolant Reservoir
Figure 11:

EOP, MAP, CMP Sensors


Object Number: 183860  Size: LF
(1)Engine Oil Pressure (EOP) Sensor
(2)Manifold Absolute Pressure (MAP) Sensor
(3)Camshaft Position (CMP) Sensor
(4)Ground #G107
(5)Connector #C112 - Inline between Engine Harness and Knock Sensor Jumper Harness
Figure 12:

Right Bank Fuel Injectors, C109 Connector


Object Number: 421336  Size: LF
(1)Connector C109 Inline Between Engine Harness and Ignition Coil/Module
(2)Fuel Injector #4
(3)Fuel Injector #2
(4)Fuel Injector #8
(5)Fuel Injector #6
Figure 13:

Left Bank Fuel Injectors, Generator, C110 connector


Object Number: 421335  Size: LF
(1)Fuel Injector #3
(2)Connector C110 Inline Between Engine Harness and Ignition Coil/Module
(3)Fuel Injector #5
(4)Fuel Injector #7
(5)EVAP Canister Purge Solenoid
(6)Generator
(7)Fuel Injector #1
Figure 14:

LH side of the Manual Transmission


Object Number: 184235  Size: LF
(1)2nd and 3rd Gear Blockout Solenoid
(2)Reverse Inhibit Solenoid
(3)Vehicle Speed Sensor
Figure 15:

LH side of the Automatic Transmission


Object Number: 183863  Size: LF
(1)Park Neutral Position Switch
Figure 16:

Engine Oil Temperature (EOT) Sensor, Bank 1 Sensor 1 HO2S


Object Number: 183865  Size: LF
(1)Ground #G105
(2)Engine Oil Temperature (EOT) Sensor
(3)Heated Oxygen Sensor (Bank 1 Sensor 1 HO2S)
Figure 17:

CKP Sensor, Bank 2 Sensor 1 HO2S


Object Number: 222868  Size: MF
(1)Crankshaft Position Sensor (CKP)
(2)Heated Oxygen Sensor (Bank 2 Sensor 1 HO2S)
Figure 18:

Exhaust System, Bank 1 and 2 Sensor 2 HO2S


Object Number: 183813  Size: LF
(1) Heated Oxygen Sensor (Bank 1 Sensor 2 HO2S)
(2) Heated Oxygen Sensor (Bank 2 Sensor 2 HO2S)