GM Service Manual Online
For 1990-2009 cars only

Removal Procedure


    Object Number: 171918  Size: SH
  1. Raise the vehicle and support. Refer to Lifting and Jacking the Vehicle in General Information.
  2. Remove the tire and wheel assembly. Refer to Tire and Wheel Removal and Installation in Tires and Wheels.
  3. Clean dirt and foreign material from the brake hoses and fittings.
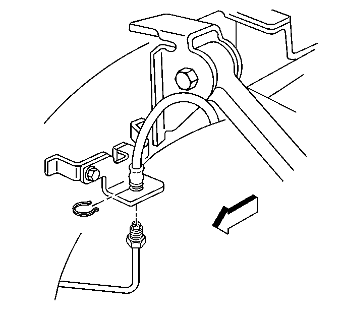
  4. Remove the brake pipe or crossover pipe from the brake hose.

  5. Object Number: 171927  Size: SH
  6. Remove the retainer from the brake hose at the bracket.
  7. Remove the brake hose from the bracket.

  8. Object Number: 63948  Size: SH
  9. Remove the brake caliper inlet fitting bolt, brake hose and two copper gaskets from the brake caliper.
  10. Discard the copper gaskets.

Installation Procedure

    Caution: These fasteners MUST be replaced with new fasteners anytime they become loose or are removed. Failure to replace these fasteners after they become loose or are removed may cause loss of vehicle control and personal injury.

    Notice: Use the correct fastener in the correct location. Replacement fasteners must be the correct part number for that application. Fasteners requiring replacement or fasteners requiring the use of thread locking compound or sealant are identified in the service procedure. Do not use paints, lubricants, or corrosion inhibitors on fasteners or fastener joint surfaces unless specified. These coatings affect fastener torque and joint clamping force and may damage the fastener. Use the correct tightening sequence and specifications when installing fasteners in order to avoid damage to parts and systems.


    Object Number: 63948  Size: SH

    Notice: Always replace both copper brake hose gaskets. Failure to follow these instructions could result in brake fluid leakage.

  1. Install the brake caliper inlet fitting bolt, brake hose and two NEW copper gaskets to the brake caliper.
  2. Tighten
    Tighten the brake caliper inlet fitting bolt to 50 N·m (37 lb ft).

  3. Install the brake hose to the bracket.

  4. Object Number: 171927  Size: SH
  5. Install the retainer onto the brake hose fitting at the bracket.

  6. Object Number: 171918  Size: SH
  7. Install the brake or crossover pipe to the brake hose.
  8. Tighten
    Tighten the brake pipe or crossover pipe nut to 18 N·m (13 lb ft).

  9. Install the tire and wheel assembly. Refer to Tire and Wheel Removal and Installation in Tires and Wheels.
  10. Tighten
    Tighten the wheel nuts to 140 N·m (100 lb ft).

  11. Lower the vehicle.
  12. Bleed the brakes. Refer to Hydraulic Brake System Bleeding .