GM Service Manual Online
For 1990-2009 cars only
Makes
🢒
Chevrolet
🢒
2000
🢒
Corvette
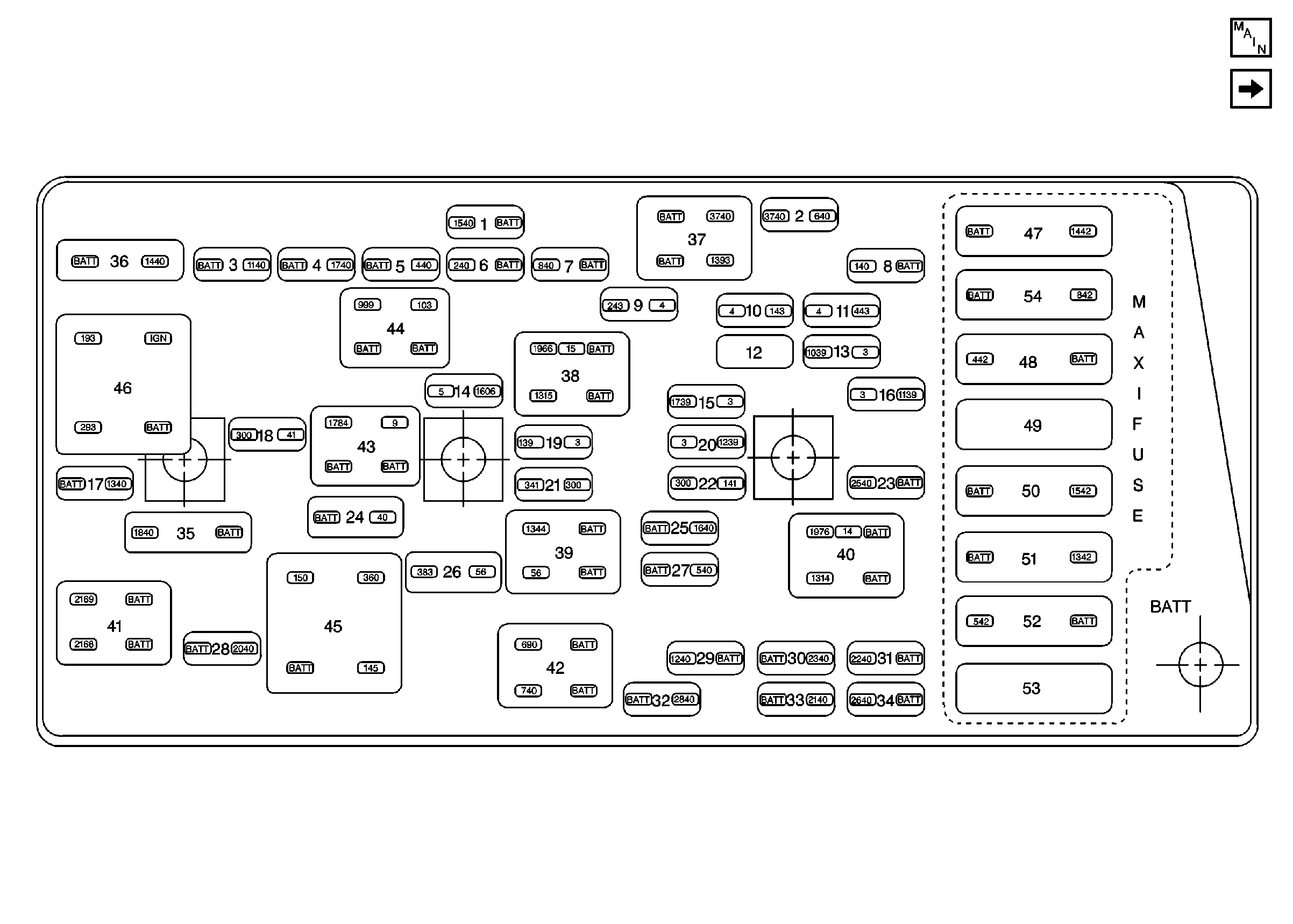
🢒 Cell 10: I/P Electrical Center
Cell 10: I/P Electrical Center
Cell 10: I/P Electrical Center
Cell 10: U/H Electrical Center