GM Service Manual Online
For 1990-2009 cars only
Makes
🢒
Chevrolet
🢒
2000
🢒
Corvette
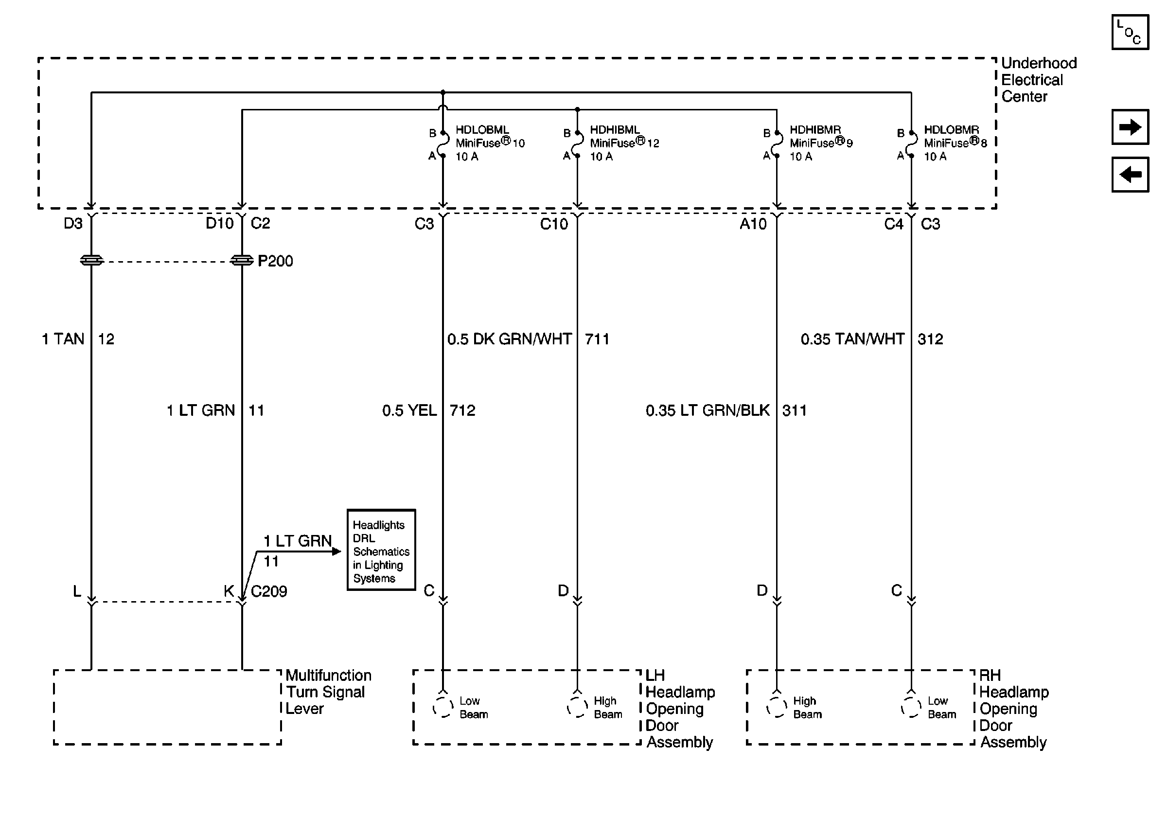
🢒 U/H Fuses 10, 12, 9, 8
U/H Fuses 10, 12, 9, 8
U/H Fuses 10, 12, 9, 8
Power and Grounding Components
I/P Fuses 33, 34, 30, 31, 4, Circuit Breaker 35
U/H Fuses 22, 17
Headlights/Daytime Running Lights (DRL) Schematics