GM Service Manual Online
For 1990-2009 cars only
Makes
🢒
Chevrolet
🢒
2000
🢒
Corvette
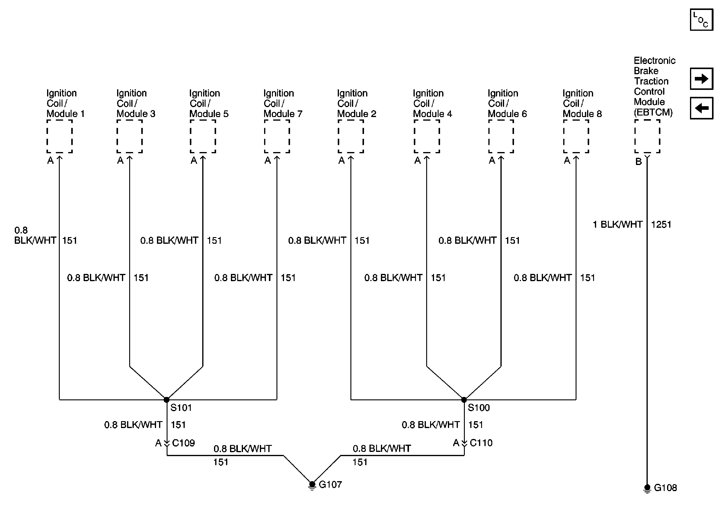
🢒 G107, G108
G107, G108
G107, G108
Power and Grounding Components
SP201, SP203, G201
SP122, G106, G105