GM Service Manual Online
For 1990-2009 cars only
Makes
🢒
Chevrolet
🢒
2000
🢒
Corvette
🢒 Automatic Transmission Controls
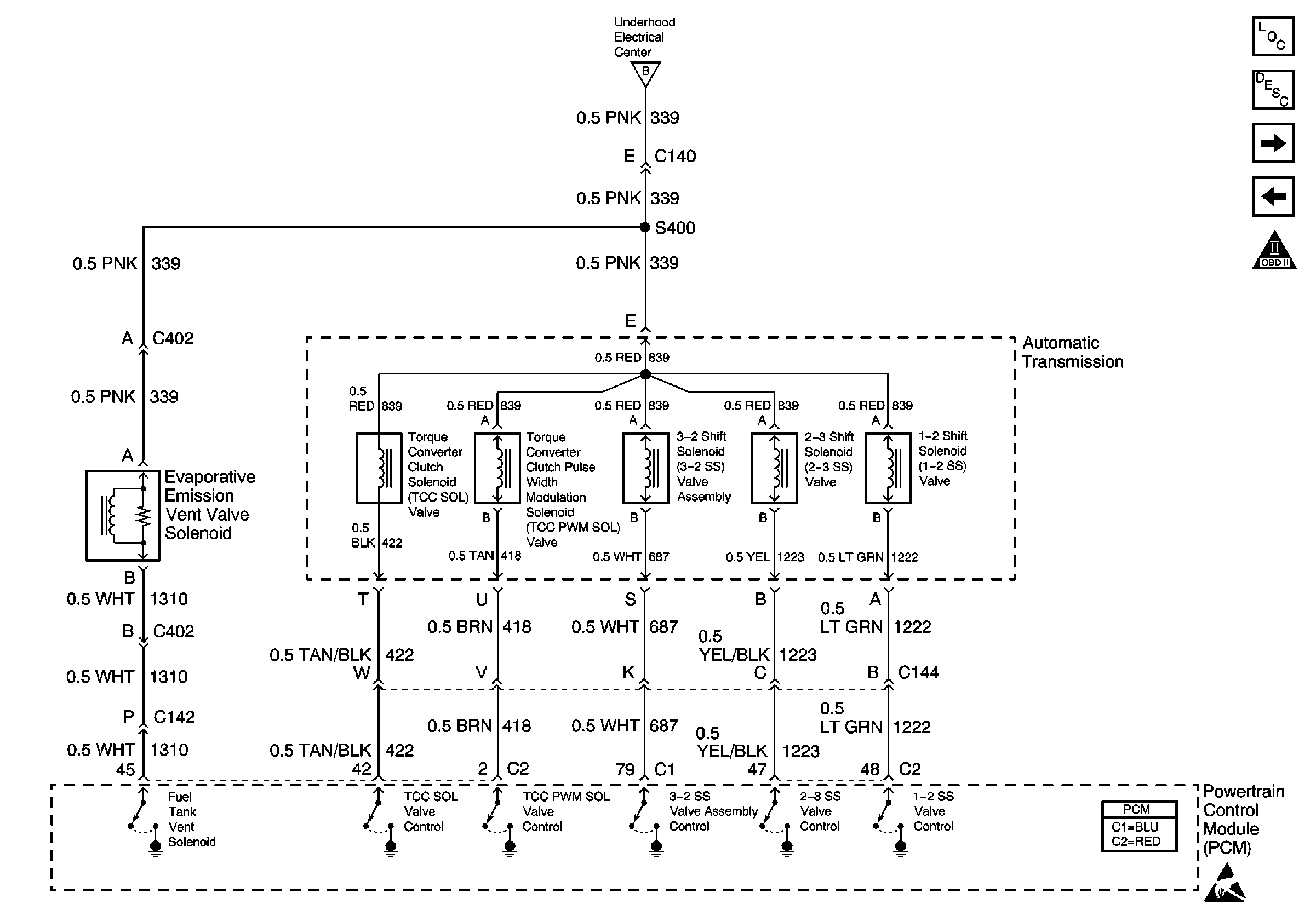
Automatic Transmission Controls
Automatic Transmission Controls
Engine Controls Components
Automatic Transmission Controls and VSS Output
TCC Switch and Extended Brake Travel Switch
OBD II Symbol Description Notice
Handling ESD Sensitive Parts Notice
TCC Switch and Extended Brake Travel Switch