GM Service Manual Online
For 1990-2009 cars only
Makes
🢒
Chevrolet
🢒
2000
🢒
Corvette
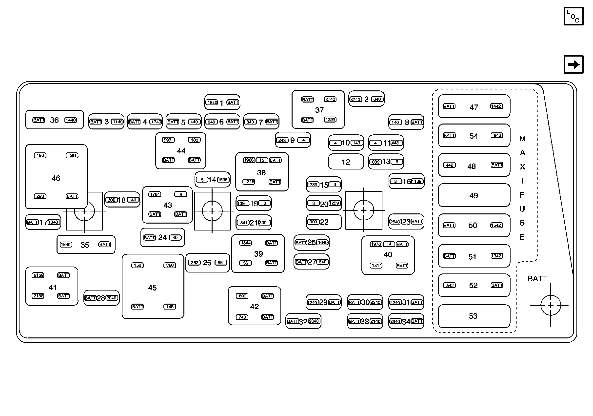
🢒 I/P Electrical Center
I/P Electrical Center
I/P Electrical Center
Power and Grounding Components
Underhood Electrical Center