GM Service Manual Online
For 1990-2009 cars only

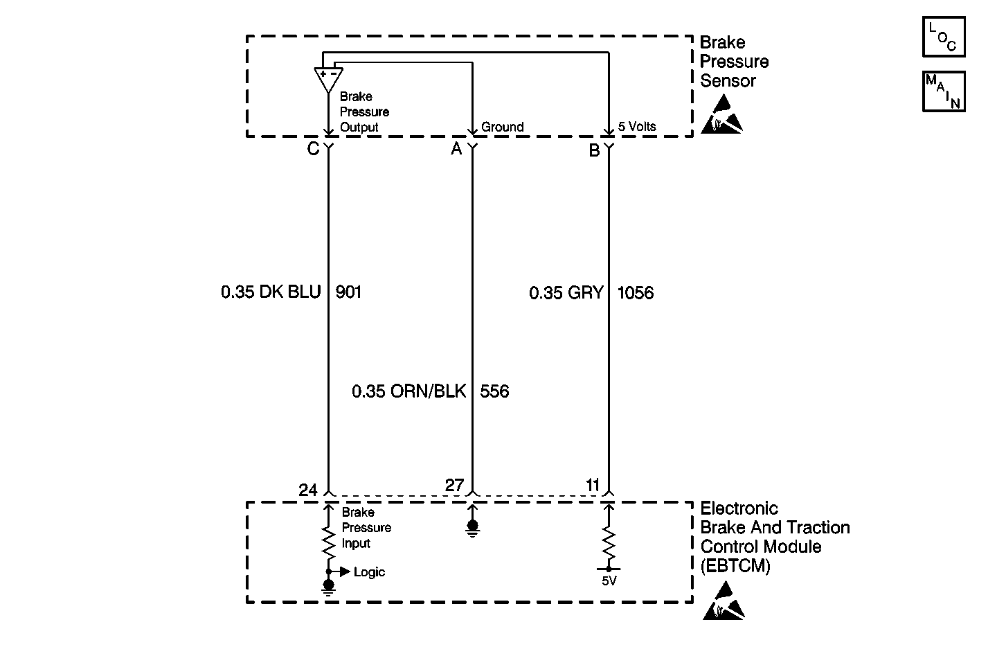
Object Number: 305084  Size: MF

Circuit Description

The EBTCM uses input from the Brake Pressure Sensor for more accurate control during an Active Handling event.

Conditions for Setting the DTC

DTC C1292 can be set if three decel cycles occur with the Brake Pressure Sensor pressure reading remains less than 100 psi. A decel cycle includes starting at a speed greater than 24 Km/h (15 mph), then the vehicle must decel at a rate greater than 8 Km/h (5 mph)/second. The vehicle must reach a speed less than 16 Km/h (10 mph).

Action Taken When the DTC Sets

ABS and TCS remain enabled, Active Handling™ is disabled.

    • Indicators that turn on:
        Car Icon (TCS indicator)
    • Messages displayed on the DIC:
        Service Active HNDLG

Conditions for Clearing the DTC

    • Condition for DTC is no longer present and scan tool clear DTC function is used.
    • Fifty ignition cycles have passed with no DTCs detected.

Diagnostic Aids

    • It is very important that a thorough inspection of the wiring and connectors be performed. Failure to carefully and fully inspect wiring and connectors may result in misdiagnosis, causing part replacement with reappearance of the malfunction.
    • An intermittent malfunction can be caused by poor connections, broken insulation, or a wire that is broken inside the insulation.
    • If an intermittent malfunction exists refer to Testing for Electrical Intermittents in Wiring Systems.

Test Description

The number(s) below refer to the step number(s) on the diagnostic table.

  1. This step checks if the signal from the Brake Pressure Sensor increases as hydraulic pressure increases.

DTC C1292 Low Brake Pressure During Deceleration

Step

Action

Value(s)

Yes

No

1

Was the Diagnostic System Check performed?

--

Go to Step 2

Go to Diagnostic System Check - ABS

2

Are either DTC C1245 or DTC C1296 also set?

--

Go to Applicable DTC Table. Refer to Diagnostic Trouble Code (DTC) List/Type

Go to Step 3

2

  1. Turn the ignition switch to the OFF position.
  2. Disconnect the EBTCM harness connector.
  3. Install the J 39700 Universal Pinout Box using the J 39700-25 cable adapter between the EBTCM harness connector and the EBTCM.
  4. Turn the ignition switch to the ON position, engine OFF.
  5. Using J 39200 DMM, measure the voltage at terminal 24 of J 39700 .
  6. Slowly press the brake pedal to apply maximum hydraulic pressure.

Does the voltage reading on J 39200 DMM, increase as brake pedal pressure is increased above the range specified in the values column?

2.5V

Go to Step 4

Go to Step 5

4

Replace the EBTCM. Refer to Electronic Brake Control Module Replacement .

Is the replacement complete?

--

Go to Diagnostic System Check - ABS

--

5

Replace the Brake Pressure Modulator Valve. Refer to Brake Pressure Modulator Valve Replacement .

Is the replacement complete?

--

Go to Diagnostic System Check - ABS

--