GM Service Manual Online
For 1990-2009 cars only

Object Number: 551044  Size: MF
Power and Grounding Components
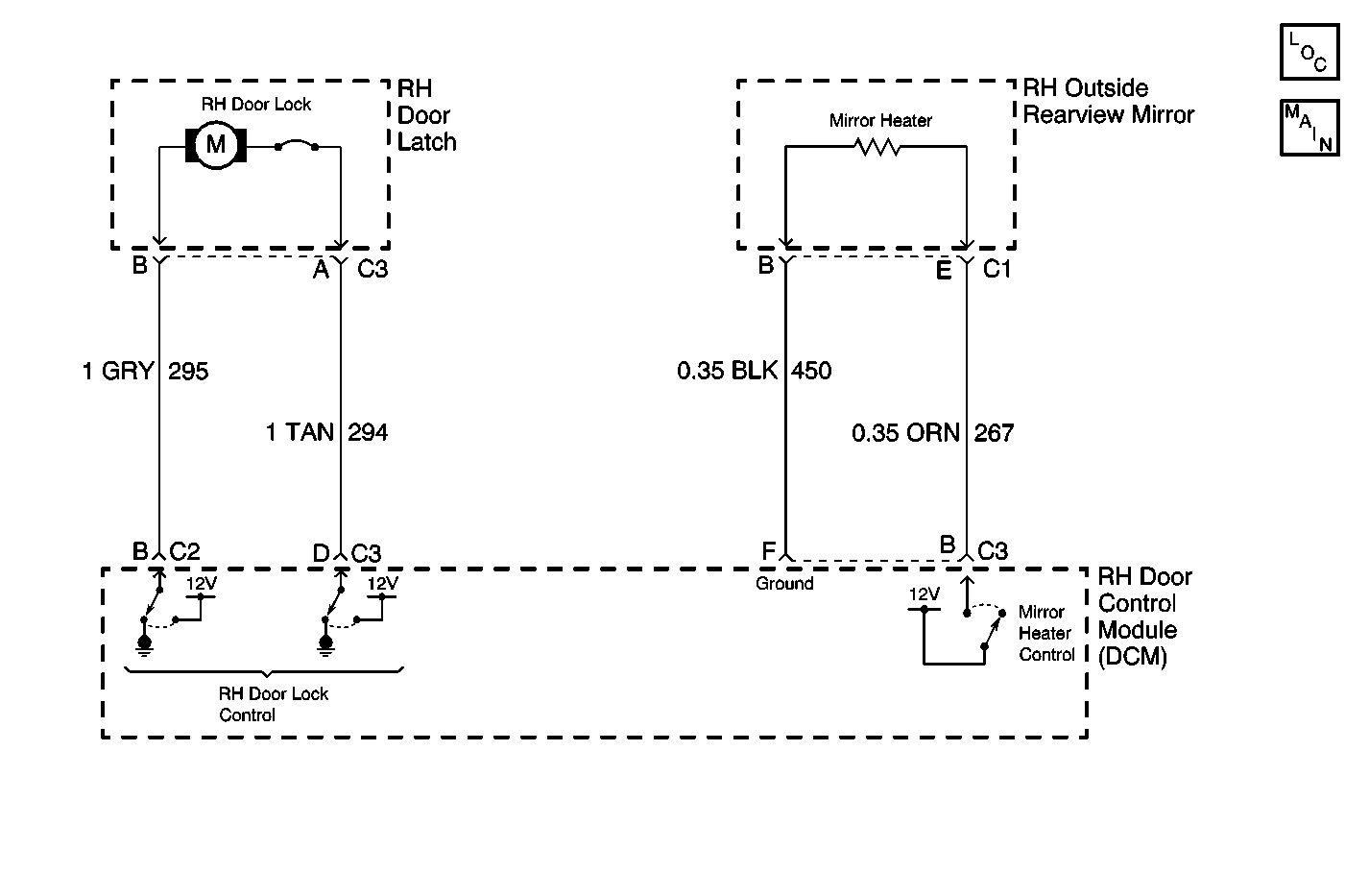
Door Control Module Schematics

Circuit Description

The RH Door Control Module (RDCM) provides the RH door lock and RH mirror heater control output functions. When the RDCM detects an active door LOCK or UNLOCK command from either the RH window switch, or from a LOCK or UNLOCK message was sent on the serial data line by the LH Door Control Module (LDCM), the RDCM will LOCK or UNLOCK the RH door. The RDCM accomplishes this by alternating a ground or voltage to the RH door lock control circuit depending on which command (LOCK or UNLOCK) was requested. The RDCM also controls the RH heated mirror functions by supplying a ground and voltage to the RH mirror heater. When the RDCM receives a message on the serial data line indicating the rear defogger was turned ON, the RDCM will activates the RH mirror heater by applying voltage to the mirror heater control circuit. The RDCM monitors the voltage level and the amount of current draw on the RH door lock control circuit and the RH heated mirror control circuit. If the voltage level and/or current draw in either circuits are not within the acceptable range, a malfunction is present and a DTC will set.

Conditions for Setting the DTC

    • The RDCM detects a short to ground or voltage condition in the RH door lock control circuit when the RH door lock is activated
    • The RDCM detects a short to ground or voltage condition in the RH mirror heater control circuit when the RH mirror is activated (rear window defogger is ON).
    • Condition must be present for 150 ms.
    • The RDCM detects a voltage drop of 5 volts or more at battery 2 when the RDCM activates the RH door lock or the RH mirror heater.

Action Taken When the DTC Sets

    • Stores a history DTC B2277 in the RDCM memory.
    • This DTC can only be set as a history code even if the malfunction is current.
    • No driver warning message will be displayed for this DTC.
    • Disables all RH door lock or RH mirror heater functions depending on which circuit the RDCM detected the malfunction.

Conditions for Clearing the DTC

    • The rear window defogger must be turned ON.
    • The RDCM no longer detects a short to ground or voltage condition in the RH door lock control circuit.
    • The RDCM no longer detects a short to ground or voltage condition in the RH mirror heater control circuit.
    • The RDCM no longer detects a voltage drop of 5 volts or more at battery 2 when the RDCM applies the RH door lock or RH heated mirror.
    • Use the IPC clearing DTCs feature.
    • Use a scan tool.

Diagnostic Aids

    • The following conditions may cause an intermittent malfunction:
       - There is an intermittent short to ground or voltage in the mirror heater control circuit.
       - There is an intermittent short to ground or voltage in the RH door lock control circuit.
       - The RH door lock motor or RH mirror heater is shorted internally.
    • If the RDCM detects a malfunction in the RH door lock or RH mirror heater control system, the RDCM will disable the system that the malfunction was detected in.
    • Using a scan tool, select RDCM Data display and monitor battery 2  voltage while cycling the door locks. If battery 2 voltage drops more than 5 volts, then the RH door lock control circuit must be checked for a short to ground. Sense RDCM also monitors the voltage level in the RH mirror heater control circuit, this test can be applied to the heated mirror system.
    • If the DTC does not reset after the code is cleared, then the problem may be intermittent. Perform the tests shown while moving related wiring and connectors. This can often cause the malfunction to occur. Refer to Intermittents and Poor Connections .

Test Description

The number(s) below refer to the step number(s) on the diagnostic table.

  1. Tests for Battery 2 voltage drop using a scan tool while the doors locks are operated.

  2. Tests for Battery 2 voltage drop using a scan tool while the heated mirrors are activated.

  3. Tests the RH door lock control circuit output voltage.

  4. Tests the RH mirror heater control circuit output voltage.

  5. Tests for a short to ground or voltage in the RH door lock control circuits.

  6. Tests for a short to ground or voltage in the RH mirror heater control circuits.

Step

Action

Value(s)

Yes

No

1

Did you perform the Power Door Systems Diagnostic System Check?

--

Go to Step 2

Go to Diagnostic System Check - Power Door Systems

2

  1. Install a scan tool.
  2. Turn ON the ignition, with the engine OFF.
  3. With a scan tool, observe the Battery 2 parameter in the RH DCM data list.

Operate the door locks while monitoring the Battery 2 voltage.

Does the scan tool indicate that the Battery 2 voltage drops more than the specified value when the door locks are operated?

5 V

Go to Step 4

Go to Step 3

3

  1. With a scan tool, observe the Battery 2 parameter in the RH DCM data list.
  2. Turn ON the rear defogger to activate the heated mirrors while monitoring the Battery 2 voltage.

Does the scan tool indicate that the Battery 2 voltage drops more than the specified value when the heated mirrors are activated?

5 V

Go to Step 5

Go to Diagnostic Aids

4

  1. Turn OFF the ignition.
  2. Disconnect the RH door lock.
  3. Turn ON the ignition, with the engine OFF.
  4. Measure the voltage between both RH door lock control circuits.
  5. Operate the door locks.

Does the voltage measure within the specified value?

10.0-14.0 V

Go to Step 9

Go to Step 6

5

  1. Disconnect the RH mirror.
  2. Measure the voltage between both mirror heater control circuits.
  3. Turn ON the rear defogger to activate the heated mirrors.

Does the voltage measure within the specified value?

10.0-14.0 V

Go to Step 10

Go to Step 7

6

Test both the RH door lock control circuits for a short to ground or voltage. Refer to Circuit Testing and Wiring Repairs in Wiring Systems.

Did you find and correct the condition?

--

Go to Step 11

Go to Step 8

7

Test both the RH mirror heater control circuits for a short to ground or voltage. Refer to Circuit Testing and Wiring Repairs in Wiring Systems.

Did you find and correct the condition?

--

Go to Step 11

Go to Step 8

8

Replace the RH DCM. Refer to Door Control Module Replacement .

Did you complete the replacement?

--

Go to Step 11

--

9

Replace the RH door lock. Refer to Door Lock Replacement .

Did you complete the replacement?

--

Go to Step 11

--

10

Replace the RH mirror. Refer to Outside Rearview Mirror Replacement .

Did you complete the replacement?

--

Go to Step 11

--

11

  1. Use the scan tool in order to clear the DTCs.
  2. Operate the vehicle within the Conditions for Running the DTC as specified in the supporting text.

Does the DTC reset?

--

Go to Step 2

System OK