GM Service Manual Online
For 1990-2009 cars only

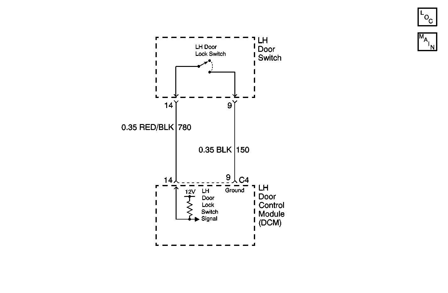
Object Number: 551065  Size: MF
Power and Grounding Components
Door Control Module Schematics

Circuit Description

The LH door switch circuit provides input to the LH Door Control Module (LDCM) when the switch is pressed to the LOCK or UNLOCK position. This input allows the LDCM to detect a door LOCK or UNLOCK request. The LDCM provides both power and ground to the door lock and unlock switches. When the LH door LOCK switch is pressed, a ground is supplied through the LH door switch to the LH door lock switch signal which is pulled low. When the LDCM detects low voltage on the LH door lock switch input, the LDCM will LOCK the LH door and also send a message on the serial data line to the RH Door Control Module (RDCM) to LOCK the RH door. When the LH door UNLOCK switch is pressed, the LDCM will UNLOCK the LH door and also send a second message on the serial data line to the RDCM to UNLOCK the RH door. The LDCM monitors both the LH door lock and unlock switch signal circuits and determines how long a ground (switch pressed) has been applied. If the ground is applied for longer than expected, a malfunction is present and a DTC will set.

Conditions for Setting the DTC

    • The LDCM detects a low voltage level (short to ground) at the LH door lock switch signal circuit.
    • Condition must be present for 20 seconds.

Action Taken When the DTC Sets

    • Stores a history DTC B2236 in the LDCM memory.
    • This DTC can only be set as a history code even if the malfunction is current.
    • No driver warning message will be displayed for this DTC.

Conditions for Clearing the DTC

    • The LDCM no longer detects a low voltage level at the LH door lock switch signal circuit for longer than 20 seconds.
    • Use the IPC clearing DTCs feature.
    • Use a scan tool.

Diagnostic Aids

    • The following conditions may cause an intermittent malfunction:
       - There is an intermittent short to ground in the LH door lock switch signal circuit.
       - The LH door lock switch is shorted to ground internally or is sticking.
       - The LH door lock switch was pressed for longer than 20 seconds.
    • If LH door lock switch signal circuit is shorted to ground or the LH door lock switch is stuck closed, the LDCM and RDCM will continuously lock both doors.
    • Using a scan tool, select LDCM inputs and monitor the Door Lock Switch status. If the scan tool displays ACTIVE, disconnect the door lock switch and check if the Door Lock Switch status changes to INACTIVE. If the Door Lock Switch status changed, then replace the LH door switch. If the Door Lock Switch status did not change, then check LH door lock switch signal circuit for a short to ground.
    • If the DTC does not reset after the code is cleared, then the problem may be intermittent. Perform the tests shown while moving related wiring and connectors. This can often cause the malfunction to occur. Refer to Intermittents and Poor Connections .

Test Description

The number(s) below refer to the step number(s) on the diagnostic table.

  1. Tests for the normal state of the LH door lock switch using a scan tool. The scan tool will display the normal state as INACTIVE, and ACTIVE when the switch is activated.

  2. Tests if the LH DCM is able to detect a change in LH door lock switch state. The scan tool will display the normal state as INACTIVE, and ACTIVE when the switch is activated.

  3. Tests for a stuck or shorted LH door lock switch. If the LH door lock switch is stuck or shorted, the state will change from ACTIVE to INACTIVE when the LH door lock switch is disconnected.

  4. Tests for a short to ground in the LH door lock switch signal circuit.

Step

Action

Value(s)

Yes

No

1

Did you perform the Power Door Systems Diagnostic System Check?

--

Go to Step 2

Go to Diagnostic System Check - Power Door Systems

2

  1. Install a scan tool.
  2. Turn ON the ignition, with the engine OFF.
  3. With a scan tool, observe the Door Lock Switch parameter in the LH DCM data list.

Does the scan tool display INACTIVE?

--

Go to Step 3

Go to Step 4

3

  1. Activate the LH door lock switch.
  2. With the scan tool, observe the Door Lock Switch parameter in the LH DCM data list.

Does the Door Lock Switch parameter change state?

--

Go to Diagnostic Aids

Go to Step 4

4

  1. Turn OFF the ignition.
  2. Disconnect the LH door lock switch.
  3. Turn ON the ignition, with the engine OFF.
  4. With a scan tool, observe the Door Lock Switch parameter in the LH DCM data list.

Does the scan tool display INACTIVE?

--

Go to Step 7

Go to Step 5

5

Test the signal circuit of the LH door lock switch for a short to ground. Refer to Circuit Testing and Wiring Repairs in Wiring Systems.

Did you find and correct the condition?

--

Go to Step 10

Go to Step 6

6

Inspect for poor connections at the harness connector of the LH DCM. Refer to Testing for Intermittent Conditions and Poor Connections and Connector Repairs in Wiring Systems.

Did you find and correct the condition?

--

Go to Step 10

Go to Step 8

7

Inspect for poor connections at the harness connector of the LH door switch. Refer to Testing for Intermittent Conditions and Poor Connections and Connector Repairs in Wiring Systems.

Did you find and correct the condition?

--

Go to Step 10

Go to Step 9

8

Replace the LH DCM. Refer to Door Control Module Replacement .

Did you complete the replacement?

--

Go to Step 10

--

9

Replace the LH door switch. Refer to Front Door Switch Replacement .

Did you complete the replacement?

--

Go to Step 10

--

10

  1. Use the scan tool in order to clear the DTCs.
  2. Operate the vehicle within the Conditions for Running the DTC as specified in the supporting text.

Does the DTC reset?

--

Go to Step 2

System OK