GM Service Manual Online
For 1990-2009 cars only

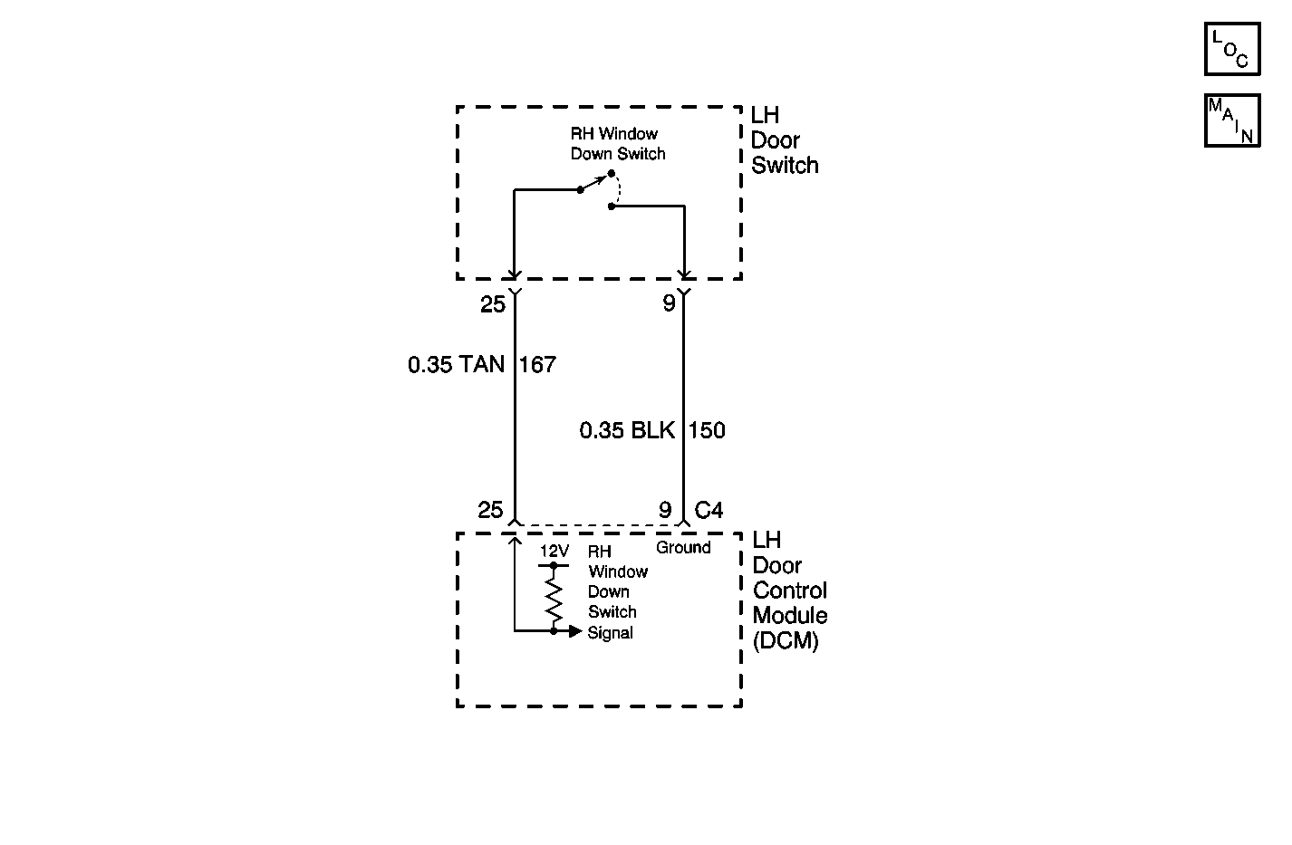
Object Number: 551124  Size: MF
Power and Grounding Components
Door Control Module Schematics

Circuit Description

The LH window switch circuit provides input to the LH Door Control Module (LDCM) when the LH window switch is pressed UP or DOWN. This input allows the LDCM to detect a RH window UP or DOWN request. The LDCM provides both power and ground to the window switches. When the LH window up or down switch is pressed, a ground is supplied through the LH window switch to the RH window up or down switch signal which is pulled low. When the LDCM detects low voltage on the RH window up or down switch input, the LDCM will send a message on the serial data line to the RH Door Control Module (RDCM) to command the RH window in the UP or DOWN direction. When the switch is released the LDCM will send a second message to the RDCM to command the RH window to stop (window express down feature not activated). The LDCM monitors both of the LH window switch circuits and determines how long a ground (switch pressed) has been applied. If the ground is applied for longer than expected, a malfunction is present and a DTC will set.

Conditions for Setting the DTC

The LDCM detects a low voltage level at the RH window down switch signal for longer than 20 seconds.

Action Taken When the DTC Sets

    • Stores a history DTC B2208 in the LDCM memory.
    • This DTC can only be set as a history code even if the malfunction is current.
    • No driver warning message will be displayed for this DTC.

Conditions for Clearing the DTC

    • The LDCM no longer detects a low voltage level at the RH window down switch signal for longer than 20 seconds.
    • Use the IPC clearing DTCs feature.
    • Use a scan tool.

Diagnostic Aids

    • The following conditions may cause an intermittent malfunction:
       - There is an intermittent short to ground in RH window down switch signal circuit.
       - The RH window down switch shorted to ground internally or is sticking.
       - The RH window down switch was pressed for longer than 20 seconds.
    • If RH window down switch signal circuit is shorted to ground or the RH window down switch is stuck closed, the LH window will remain down at all times.
    • Using a scan tool, select LDCM inputs and monitor the Passenger Window Down Switch status. If the scan tool displays ACTIVE, disconnect the LH window switch and check if the Passenger Window Down Switch status changes to INACTIVE. If the Passenger Window Down Switch status changed, then replace the LH window switch. If the Passenger Window Down Switch status did not change, then check RH window down switch signal circuit for a short to ground.
    • If the DTC does not reset after the code is cleared, then the problem may be intermittent. Perform the tests shown while moving related wiring and connectors. This can often cause the malfunction to occur. Refer to Intermittents and Poor Connections .

Test Description

The number(s) below refer to the step number(s) on the diagnostic table.

  1. Tests for the normal state of the RH window down switch using a scan tool. The scan tool will display the normal state as INACTIVE, and ACTIVE when the switch is activated.

  2. Tests if the LH DCM is able to detect a change in RH window down switch state. The scan tool will display the normal state as INACTIVE, and ACTIVE when the switch is activated.

  3. Tests for a stuck or shorted RH window down switch. If the RH window down switch is stuck or shorted, the state will change from ACTIVE to INACTIVE when the RH window down switch is disconnected.

  4. Tests for a short to ground in the RH window down switch signal circuit.

Step

Action

Value(s)

Yes

No

1

Did you perform the Power Door Systems Diagnostic System Check?

--

Go to Step 2

Go to Diagnostic System Check - Power Door Systems

2

  1. Install a scan tool.
  2. Turn ON the ignition, with the engine OFF.
  3. With a scan tool, observe the Passenger Window Down Switch parameter in the LH DCM data list.

Does the scan tool display INACTIVE?

--

Go to Step 3

Go to Step 4

3

  1. Activate the RH window down switch from the LH door switch.
  2. With the scan tool, observe the Passenger Window Down Switch parameter in the LH DCM data list.

Does the Passenger Window Down Switch parameter change state?

--

Go to Diagnostic Aids

Go to Step 4

4

  1. Turn OFF the ignition.
  2. Disconnect the LH door switch.
  3. Turn ON the ignition, with the engine OFF.
  4. With a scan tool, observe the Passenger Window down Switch parameter in the LH DCM data list.

Does the scan tool display INACTIVE?

--

Go to Step 7

Go to Step 5

5

Test the signal circuit of the RH window down switch (LH door switch) for a short to ground. Refer to Circuit Testing and Wiring Repairs in Wiring Systems.

Did you find and correct the condition?

--

Go to Step 10

Go to Step 6

6

Inspect for poor connections at the harness connector of the LH DCM. Refer to Testing for Intermittent Conditions and Poor Connections and Connector Repairs in Wiring Systems.

Did you find and correct the condition?

--

Go to Step 10

Go to Step 8

7

Inspect for poor connections at the harness connector of the LH door switch. Refer to Testing for Intermittent Conditions and Poor Connections and Connector Repairs in Wiring Systems.

Did you find and correct the condition?

--

Go to Step 10

Go to Step 9

8

Replace the LH DCM. Refer to Door Control Module Replacement .

Did you complete the replacement?

--

Go to Step 10

--

9

Replace the LH door switch. Refer to Front Door Switch Replacement .

Did you complete the replacement?

--

Go to Step 10

--

10

  1. Use the scan tool in order to clear the DTCs.
  2. Operate the vehicle within the Conditions for Running the DTC as specified in the supporting text.

Does the DTC reset?

--

Go to Step 2

System OK