GM Service Manual Online
For 1990-2009 cars only

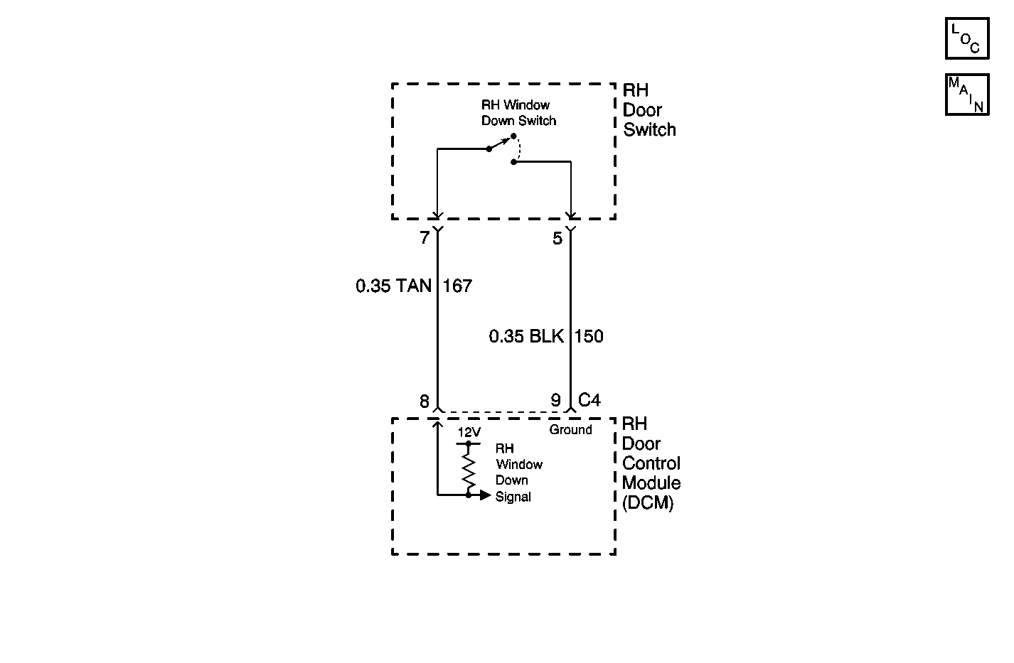
Object Number: 551130  Size: MF
Power and Grounding Components
Door Control Module Schematics

Circuit Description

The RH door switch circuit provides input to the RH Door Control Module (RDCM) when the RH window switch is pressed UP or DOWN. This input allows the RDCM to detect a RH window UP or DOWN request. The RDCM provides both power and ground to the window switches. When the RH window up or down switch is pressed, a ground is supplied through the RH window switch to the RH window up or down switch signal which is pulled low. When the RDCM detects low voltage on the RH window up or down switch signal, the RDCM will command the RH window in the UP or DOWN direction. When the switch is released the RDCM will command the RH window to stop (window express down feature not activated). The RDCM monitors both of the RH window switch signal circuits and determines how long a ground (switch pressed) has been applied. If the ground is applied for longer than expected, a malfunction is present and a DTC will set.

Conditions for Setting the DTC

    • The RDCM detects a low voltage level (short to ground) at the RH window down switch signal circuit.
    • Condition must be present for 20 seconds.

Action Taken When the DTC Sets

    • Stores a history DTC B2205 in the RDCM memory.
    • This DTC can only be set as a history code even if the malfunction is current.
    • No driver warning message will be displayed for this DTC.

Conditions for Clearing the DTC

    • The RDCM no longer detects a low voltage level (short to ground) at the RH window down switch signal circuit for longer than 20 seconds.
    • Use the IPC clearing DTCs feature.
    • Use a scan tool.

Diagnostic Aids

    • The following conditions may cause an intermittent malfunction:
       - There is an intermittent short to ground in the RH window down switch signal circuit.
       - The RH window down switch is shorted to ground internally or is sticking.
       - The RH window down switch was pressed for longer than 20 seconds.
    • If RH window down switch signal circuit is shorted to ground or the RH window down switch is stuck closed, the RH window will remain down at all times.
    • Using a scan tool, select RDCM inputs and monitor the Passenger Window Down Switch status. If the scan tool displays ACTIVE, disconnect the RH window switch and check if the Passenger Window Down Switch status changes to INACTIVE. If the Passenger Window Down Switch status changed, then replace the RH window switch. If the Passenger Window Down Switch status did not change, then check RH window down switch signal circuit for a short to ground.
    • If the DTC does not reset after the code is cleared, then the problem may be intermittent. Perform the tests shown while moving related wiring and connectors. This can often cause the malfunction to occur. Refer to Intermittents and Poor Connections .

Test Description

The number(s) below refer to the step number(s) on the diagnostic table.

  1. Tests for the normal state of the RH window down switch using a scan tool. The scan tool will display the normal state as INACTIVE, and ACTIVE when the switch is activated.

  2. Tests if the RH DCM is able to detect a change in RH window down switch state. The scan tool will display the normal state as INACTIVE, and ACTIVE when the switch is activated.

  3. Tests for a stuck or shorted RH window down switch. If the RH window down switch is stuck or shorted, the state will change from ACTIVE to INACTIVE when the RH window down switch is disconnected.

  4. Tests for a short to ground in the RH window down switch signal circuit.

Step

Action

Value(s)

Yes

No

1

Did you perform the Power Door Systems Diagnostic System Check?

--

Go to Step 2

Go to Diagnostic System Check - Power Door Systems

2

  1. Install a scan tool.
  2. Turn ON the ignition, with the engine OFF.
  3. With a scan tool, observe the Passenger Window Down Switch parameter in the RH DCM data list.

Does the scan tool display INACTIVE?

--

Go to Step 3

Go to Step 4

3

  1. Activate the RH window down switch.
  2. With the scan tool, observe the Passenger Window Down Switch parameter in the RH DCM data list.

Does the Passenger Window Down Switch parameter change state?

--

Go to Diagnostic Aids

Go to Step 4

4

  1. Turn OFF the ignition.
  2. Disconnect the RH window down switch.
  3. Turn ON the ignition, with the engine OFF.
  4. With a scan tool, observe the Passenger Window Down Switch parameter RH DCM data list.

Does the scan tool display INACTIVE?

--

Go to Step 7

Go to Step 5

5

Test the signal circuit of the RH window down switch for a short to ground. Refer to Circuit Testing and Wiring Repairs in Wiring Systems.

Did you find and correct the condition?

--

Go to Step 10

Go to Step 6

6

Inspect for poor connections at the harness connector of the RH DCM. Refer to Testing for Intermittent Conditions and Poor Connections and Connector Repairs in Wiring Systems.

Did you find and correct the condition?

--

Go to Step 10

Go to Step 8

7

Inspect for poor connections at the harness connector of the RH door switch. Refer to Testing for Intermittent Conditions and Poor Connections and Connector Repairs in Wiring Systems.

Did you find and correct the condition?

--

Go to Step 10

Go to Step 9

8

Replace the RH DCM. Refer to Door Control Module Replacement .

Did you complete the replacement?

--

Go to Step 10

--

9

Replace the RH door switch. Refer to Front Door Switch Replacement .

Did you complete the replacement?

--

Go to Step 10

--

10

  1. Use the scan tool in order to clear the DTCs.
  2. Operate the vehicle within the Conditions for Running the DTC as specified in the supporting text.

Does the DTC reset?

--

Go to Step 2

System OK