GM Service Manual Online
For 1990-2009 cars only

Object Number: 568154  Size: MF
ABS Components
Antilock Brake System Schematics

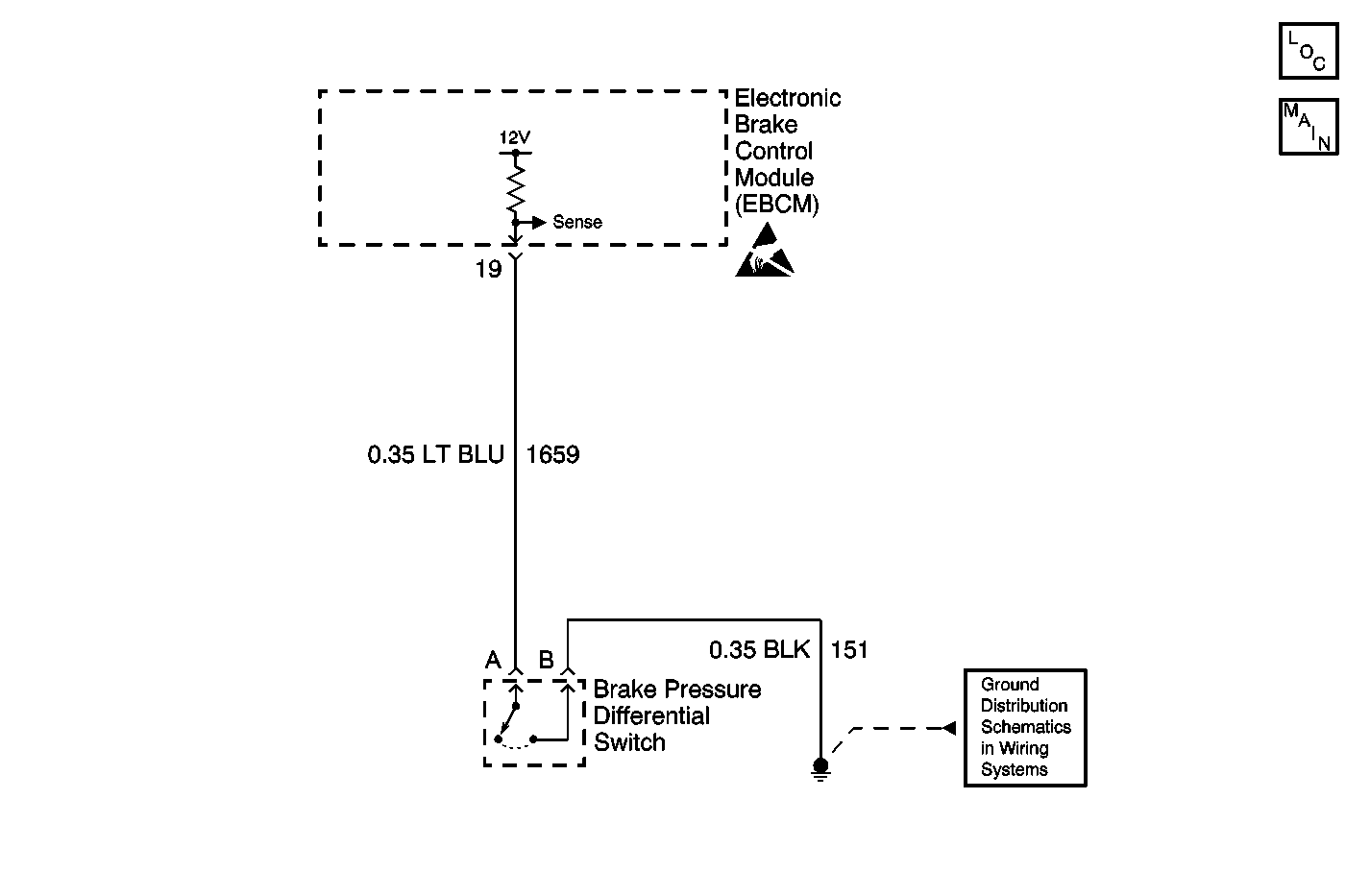
Circuit Description

The EBCM monitors the Brake Pressure Differential Switch to turn off Traction Control and Active Handling if a pressure loss is detected in the hydraulic brake system.

Conditions for Setting the DTC

DTC C1247 can be set anytime, if the EBCM detects the Brake Pressure Differential Switch has been grounded due to loss of brake pressure or a short to ground.

Action Taken When the DTC Sets

TCS/Active Handling are disabled.

    • Indicators that turn on:
       - RED Brake Warning indicator
       - Car Icon (TCS indicator)
    • Messages displayed on the DIC:
       - Service Traction System
       - Service Active HNDLG

Conditions for Clearing the DTC

    • Condition for DTC is no longer present and scan tool clear DTC function is used.
    • Fifty ignition cycles have passed with no DTCs detected.

Diagnostic Aids

    • DTC C1247 could be set during a hydraulic brake system bleeding procedure if the ignition switch is in the ON position.
    • It is very important that a thorough inspection of the wiring and connectors be performed. Failure to carefully and fully inspect wiring and connectors may result in misdiagnosis, causing part replacement with reappearance of the malfunction.
    • An intermittent malfunction can be caused by poor connections, broken insulation, or a wire that is broken inside the insulation.
    • If an intermittent malfunction exists refer to Intermittents and Poor Connections in Wiring Systems.

Test Description

The number(s) below refer to the step number(s) on the diagnostic table.

  1. This step checks for a short to ground in the Brake Pressure Differential Switch circuit.

  2. This step indicates that the Brake Pressure Differential Switch circuit is operating properly, and the cause of the DTC is a failure in the hydraulic brake system.

DTC C1247 Brake Pressure Differential Switch Activated

Step

Action

Value(s)

Yes

No

1

Was the Diagnostic System Check performed?

--

Go to Step 2

Go to Diagnostic System Check - ABS

2

  1. Turn the ignition switch to the OFF position.
  2. Disconnect the Brake Pressure Differential Switch connector.
  3. Turn the ignition switch to the ON position, engine off.

Does the Red BRAKE Warning Indicator remain on?

--

Go to Step 3

Go to Step 4

3

Repair circuit 1659 for a short to ground. Refer to Wiring Repairs in Wiring Systems.

Is the repair complete?

--

Go to Diagnostic System Check - ABS

--

4

The Brake Pressure Differential Switch is working properly. Refer to Hydraulic Brake Diagnostic System Check in Brakes.

Is the repair complete?

--

Go to Diagnostic System Check - ABS

--