GM Service Manual Online
For 1990-2009 cars only

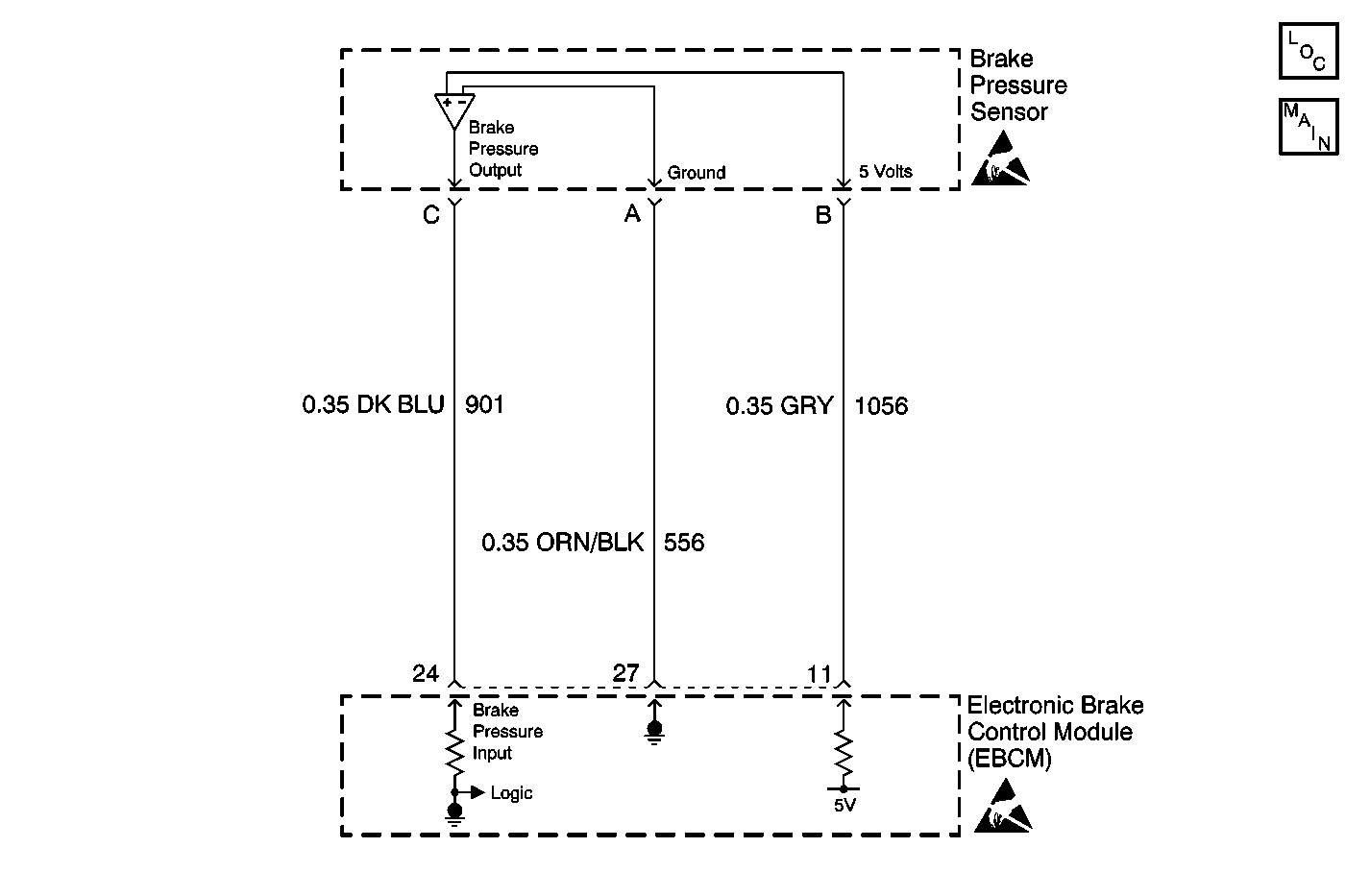
Object Number: 568065  Size: MF
ABS Components
Antilock Brake System Schematics

Circuit Description

The EBCM uses input from the Brake Pressure Sensor for more accurate control during an Active Handling event.

Conditions for Setting the DTC

DTC C1296 can be set anytime the ignition switch is in the ON position, and the signal voltage from the Brake Pressure Sensor is less than 0.20 volts or greater than 4.80 volts.

Action Taken When the DTC Sets

ABS and TCS remain enabled, Active Handling™ is disabled.

    • Indicators that turn on:
        Car Icon (TCS indicator)
    • Messages displayed on the DIC:
        Service Active HNDLG

Conditions for Clearing the DTC

    • Condition for DTC is no longer present and scan tool clear DTC function is used.
    • Fifty ignition cycles have passed with no DTCs detected.

Diagnostic Aids

    • It is very important that a thorough inspection of the wiring and connectors be performed. Failure to carefully and fully inspect wiring and connectors may result in misdiagnosis, causing part replacement with reappearance of the malfunction.
    • An intermittent malfunction can be caused by poor connections, broken insulation, or a wire that is broken inside the insulation.
    • If an intermittent malfunction exists refer to Intermittents and Poor Connections in Wiring Systems.

Test Description

The number(s) below refer to the step number(s) on the diagnostic table.

  1. This step checks for the proper signal voltage.

  2. This step checks for an open in circuit 901.

  3. This step checks for a short to ground in circuit 901.

  4. This step checks for an open in circuit 556.

  5. This step checks for an open in circuit 1056.

DTC C1296 Brake Pressure Sensor Open/Shorted

Step

Action

Value(s)

Yes

No

1

Was the ABS Diagnostic System Check performed?

--

Go to Step 2

Go to Diagnostic System Check - ABS

2

Are any other DTCs also set as current DTCs?

--

Go to applicable DTC. Go to Diagnostic Trouble Code (DTC) List/Type

Go to Step 3

3

  1. Turn the ignition switch to the OFF position.
  2. Disconnect the EBCM harness connector.
  3. Install the J 39700 Universal Pinout Box using the J 39700-25 cable adapter between the EBCM harness connector and the EBCM.
  4. Turn the ignition switch to the ON position, engine OFF.
  5. Using J 39200 DMM, measure the voltage at terminal 24 of J 39700 .

Is the voltage within the range specified in the values column?

0.20 - 4.80 V

Go to Step 4

Go to Step 5

4

Replace the EBCM. Refer to Electronic Brake Control Module Replacement .

Is the replacement complete?

--

Go to Diagnostic System Check - ABS

--

5

  1. Disconnect the Brake Pressure Sensor connector.
  2. Disconnect the J 39700-25 cable adapter from the EBCM leaving the J 39700-25 attached to the EBCM harness connector.
  3. Using J 39200 DMM, measure the resistance between terminal 24 of J 39700-25 and terminal C of the Brake Pressure Sensor harness connector.

Is the resistance within the range specified in the values column?

0 - 5 ohms

Go to Step 7

Go to Step 6

6

Repair CKT 901 for an open. Refer to Wiring Repairs in Wiring Systems.

Is the repair complete?

--

Go to Diagnostic System Check - ABS

--

7

Using J 39200 DMM, measure the resistance between terminal 24 and B of J 39700-25 .

Is the resistance within the range specified in the value(s) column?

OL (infinite)

Go to Step 9

Go to Step 8

8

Repair CKT 901 for a short to ground. Refer to Wiring Repairs in Wiring Systems.

Is the repair complete?

--

Go to Diagnostic System Check - ABS

--

9

Using J 39200 DMM, measure the resistance between terminal 27 of J 39700-25 and terminal A of the Brake Pressure Sensor harness connector.

Is the resistance within the range specified in the values column?

0 - 5 ohms

Go to Step 11

Go to Step 10

10

Repair CKT 556 between splice S106 and the Brake Pressure Sensor for an open. Refer to Wiring Repairs in Wiring Systems.

Is the repair complete?

--

Go to Diagnostic System Check - ABS

--

11

Using J 39200 DMM, measure the resistance between terminal 11 of J 39700-25 and terminal B of the Brake Pressure Sensor harness connector.

Is the resistance within the range specified in the values column?

0 - 5 ohms

Go to Step 13

Go to Step 12

12

Repair CKT 1056 between splice S108 and the Brake Pressure Sensor for an open. Refer to Wiring Repairs in Wiring Systems.

Is the repair complete?

--

Go to Diagnostic System Check - ABS

--

13

Replace the Brake Pressure Sensor. Refer to Combination Valve Replacement .

Is the replacement complete?

--

Go to Diagnostic System Check - ABS

--