GM Service Manual Online
For 1990-2009 cars only

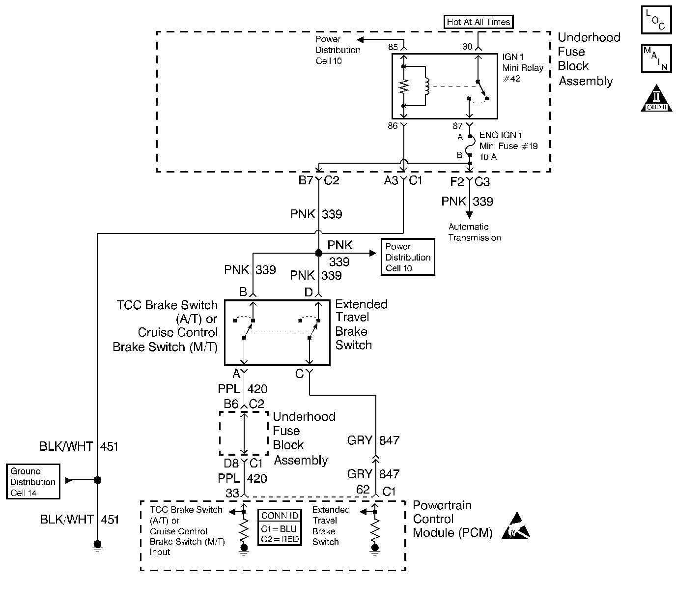
Object Number: 383944  Size: LF
Engine Controls Component Views
Cell 20: Manual Transmission Controls
OBD II Symbol Description Notice
Handling ESD Sensitive Parts Notice

Circuit Description

The Cruise Control Brake switch is a normally closed switch. When the Cruise Control Brake switch is closed, (brake pedal released) the PCM senses ignition voltage on the Cruise Control Brake switch signal circuit.

If the PCM senses a voltage on the Cruise Control Brake switch signal circuit when the Cruise Control Brake switch should be open, this DTC sets.

Conditions for Running the DTC

    • The engine speed is greater than 700 RPM.
    • The engine operates for greater than 2 seconds.
    • The wheel speed is greater than 48 km/h (30 mph) in order to enable the diagnostic. The diagnostic disables when the wheel speed is below 16 km/h (10 mph).

Conditions for Setting the DTC

    • The PCM detects voltage on the Cruise Control Brake switch circuit when the Cruise Control Brake switch should be open.
    • All above conditions are present for 1.5 seconds.

Action Taken When the DTC Sets

    • The powertrain control module (PCM) stores the DTC information into memory when the diagnostic runs and fails.
    • The malfunction indicator lamp (MIL) will not illuminate.
    • The PCM records the operating conditions at the time the diagnostic fails. The PCM stores this information in the Failure Records.

Conditions for Clearing the DTC

    • A last test failed, or current DTC, clears when the diagnostic runs and does not fail.
    • A history DTC will clear after 40 consecutive warm-up cycles, if no failures are reported by this or any other non-emission related diagnostic.
    • Use a scan tool in order to clear the DTC.

Diagnostic Aids

Important: 

   • Remove any debris from the PCM connector surfaces before servicing the PCM. Inspect the PCM connector gaskets when diagnosing/replacing the modules. Ensure that the gaskets are installed correctly. The gaskets prevent contaminate intrusion into the PCM.
   • For any test that requires probing the PCM or a component harness connector, use the Connector Test Adapter Kit J 35616 . Using this kit prevents damage to the harness/component terminals. Refer to Using Connector Test Adapters in Wiring Systems.

    • Test drive the vehicle if a switch or circuit condition cannot be located. An intermittent condition may be duplicated during a test drive.
    • For the Cruise Control Brake switch adjustment refer to Stop Lamp Switch Adjustment in Hydraulic Brakes.
    • For an intermittent, refer to Symptoms .

Test Description

The numbers below refer to the step numbers on the diagnostic table.

  1. This step determines if the fault is present.

  2. This step checks for a Cruise Control Brake Switch circuit for being shorted to B+.

Step

Action

Values

Yes

No

1

Did you perform the Powertrain On-Board Diagnostic (OBD) System Check?

--

Go to Step 2

Go to Powertrain On Board Diagnostic (OBD) System Check

2

  1. Install a scan tool.
  2. Start the engine.
  3. Monitor the CC Brake switch with the scan tool.
  4. Depress the brake pedal approximately quarter-way.

Does the scan tool display indicate Applied?

--

Go to Diagnostic Aids

Go to Step 3

3

Check the adjustment of the cruise control brake switch. Refer to Diagnostic Aids .

Did you perform an adjustment?

--

Go to Step 9

Go to Step 4

4

  1. Turn OFF the engine.
  2. Disconnect the cruise control brake switch.
  3. Turn ON the ignition.
  4. Monitor the CC Brake switch with the scan tool.

Does the display indicate Released?

--

Go to Step 5

Go to Step 7

5

  1. Turn OFF the ignition.
  2. Disconnect the PCM connector C1 located on the same side as the manufacturer's logo. Refer to Powertrain Control Module Replacement .
  3. Turn ON the ignition.
  4. Measure the voltage on the cruise control brake switch signal circuit with the DMM. Refer to Measuring Voltage in Wiring Systems.

Is the voltage greater than the specified value?

0.5V

Go to Step 6

Go to Step 8

6

Repair the short to voltage on the cruise control brake switch signal circuit. Refer to Wiring Repairs in Wiring Systems.

Is the action complete?

--

Go to Step 9

--

7

Replace the cruise control brake switch. Refer to Cruise Control Release Switch Replacement in Cruise Control.

Is the action complete?

--

Go to Step 9

--

8

Important: Program the replacement PCM.

Replace the PCM. Refer to Powertrain Control Module Replacement .

Is the action complete?

--

Go to Step 9

--

9

  1. Select the Diagnostic Trouble Codes (DTC) option and the Clear DTC Information option with the scan tool.
  2. Start the engine and idle at the normal operating temperature.
  3. Select the Specific DTC option under the Diagnostic Trouble Code (DTC) option with a scan tool.
  4. Operate vehicle within the conditions for running this DTC as specified in the supporting text, if applicable.

Does the scan tool indicate that this test ran and passed?

--

Go to Step 10

--

10

Select the Capture Info option and the Review Info option with the scan tool.

Are any DTCs displayed that you have not diagnosed?

--

Go to applicable DTC table

System OK