GM Service Manual Online
For 1990-2009 cars only

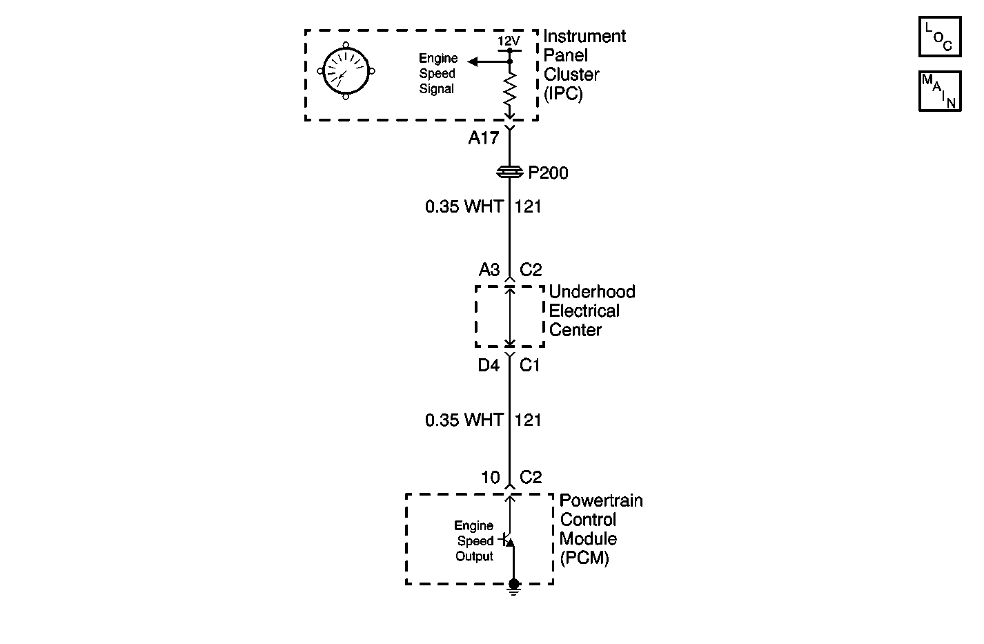
Object Number: 541852  Size: MF
Power and Grounding Components
Instrument Cluster: Analog Schematics

Circuit Description

The Instrument Panel Cluster (IPC) receives engine RPM information from the Powertrain Control Module (PCM). Engine RPM input information is obtained from the PCM on a dedicated engine speed input to the IPC. The IPC also receives engine RPM data on the serial data line. The PCM is responsible for processing and sending engine RPM data to the IPC. The IPC will only display the engine RPM data that was sent by the PCM. The IPC monitors the engine RPM output information sent from the PCM for an out of range condition.

Conditions for Setting the DTC

    • The IPC detects engine RPM information sent from the PCM over 7400 RPM.
    • Condition must be present for 1 second.

Action Taken When the DTC Sets

    • Stores a DTC B0521 in the IPC memory.
    • The IPC will display engine RPM at 7400 RPM.
    • No driver warning message will be displayed for this DTC.

Conditions for Clearing the DTC

    • The IPC detects engine RPM information sent from the PCM under 7400 RPM.
    • A history DTC will clear after 50 consecutive ignition cycles if the condition for the malfunction is no longer present.
    • Use the IPC clear DTC feature.
    • Use a scan tool.

Diagnostic Aids

    • The following conditions may cause an intermittent malfunction to occur:
       - The PCM is unable to process the correct RPM data.
       - Intermittent or erratic RPM signal sent from the PCM.
    • Test drive the vehicle and check for proper tachometer operation. If the IPC is unable to display the proper engine RPM, use a scan tool to display the PCM engine RPM data. If the PCM is not sending the proper engine RPM data to the IPC, then the PCM and engine RPM circuit must be diagnosed first before diagnosing the IPC.
    • Always check for proper tachometer circuit operation by displaying PCM engine RPM data and checking for stored VSS DTCs with a scan tool before attempting to diagnose a DTC B0521.
    • If the DTC is a history DTC, the problem may be intermittent. Perform the tests shown while moving related wiring and connectors. This can often cause the malfunction to occur.

Test Description

The number(s) below refer to the step number(s) on the diagnostic table.

  1. Tests for any engine speed (tachometer) DTCs stored in the PCM. Any engine speed (tachometer) DTCs stored in the PCM may cause a DTC B0521 to set in the IPC.

  2. Tests the tachometer operation. All tachometer malfunctions must be diagnosed and corrected first.

  3. Tests for an open, short to voltage, or short to ground in the engine speed (tachometer) signal circuit.

DTC B0521 -- Tachometer Signal Circuit Malfunction

Step

Action

Value(s)

Yes

No

1

Did you perform the IPC Diagnostic System Check?

--

Go to Step 2

Go to Diagnostic System Check - Instrument Cluster

2

  1. Install a scan tool.
  2. Turn ON the ignition, with the engine OFF.
  3. Select PCM display DTC function on the scan tool.

Does the scan tool display DTC P0654?

--

Go to Powertrain On Board Diagnostic (OBD) System Check

Go to Step 3

3

  1. Start the engine.
  2. Observe for proper tachometer operation.

Does the tachometer operate properly?

--

Go to Step 4

Go to Tachometer Inoperative

4

Test the engine speed (tachometer) signal circuit for an open, short to voltage, or short to ground. Refer to Circuit Testing and Wiring Repairs

Did you find and correct the condition?

--

Go to Step 7

Go to Step 5

5

Inspect for poor connections at the harness connector of the IPC. Refer to Testing for Intermittent Conditions and Poor Connections and Connector Repairs

Did you find and correct the condition?

--

Go to Step 7

Go to Step 6

6

Replace the IPC. Refer to Instrument Cluster Replacement .

Did you complete the replacement?

--

Go to Step 7

--

7

  1. Use the scan tool in order to clear the DTCs.
  2. Operate the vehicle within the Conditions for Running the DTC as specified in the supporting text.

Does the DTC reset?

--

Go to Step 6

System OK