GM Service Manual Online
For 1990-2009 cars only

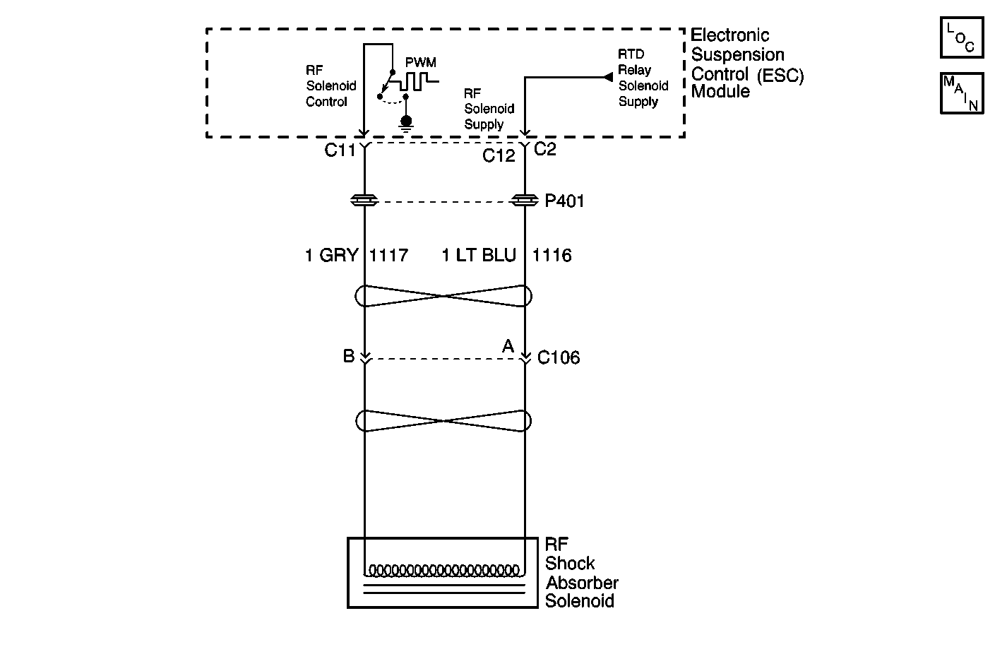
Object Number: 539849  Size: MF
Power and Grounding Components
Suspension Controls Schematics

Circuit Description

The ESC module uses the Pulse-Width Modulation (PWM) method in order to control each shock absorber solenoid. Switching the voltage ON and OFF at each shock absorber solenoid, or pulse width modulating, limits the amount of current supplied to that particular solenoid. The ESC module periodically commands each shock absorber to an set PWM duty cycle in order to override the normal PWM command. During this set PWM duty cycle, the ESC module is able to perform a diagnostic test on each shock absorber solenoid, and can determine if a malfunction is present. The ESC module is only able to detect certain malfunctions during a given state (ON or OFF). In order to test for the conditions that set a DTC C0583, the ESC module must first command the RF solenoid ON. If a high voltage level is detected in the RF solenoid control circuit during the ON state, the test is again repeated. If the ESC module determines that the voltage levels detected in both tests are higher than expected, a malfunction is present and a DTC will set.

Conditions for Setting the DTC

The ESC module detects a high voltage level (short to voltage) on the RF solenoid control circuit during two diagnostic tests performed.

Action Taken When the DTC Sets

    • Stores a DTC C0583 in the ESC memory.
    • Commands 0% PWM duty cycle in order to disable the RF solenoid.
    • Sends a message to the IPC to display the SERVICE RIDE CONTROL message.

Conditions for Clearing the DTC

    • The ESC module no longer detects a high voltage level (short to voltage) on the RF solenoid control circuit during a diagnostic test.
    • A history DTC will clear after 100 consecutive ignition cycles if the condition for the malfunction is no longer present.
    • Use the IPC clearing DTC feature.
    • Using a scan tool.

Diagnostic Aids

    • The following conditions may cause an intermittent malfunction to occur:
       - There is an intermittent short to voltage on the RF solenoid control circuit.
       - The RF solenoid control and supply circuits are intermittently shorted together.
       - There is a RF shock absorber solenoid low resistance, internal short, or short to voltage condition.
    • If the conditions for a DTC C0583 are current, the ESC module will disable the RF solenoid (commanding 0% duty cycle) and the vehicle will experience a soft ride condition on the RF side of the vehicle.
    • If the DTC is a history DTC, the problem may be intermittent. Using a scan tool, cycle the RF shock absorber solenoid while moving the wiring and the connectors. This can often cause the malfunction to occur.

Test Description

The number(s) below refer to the step number(s) on the diagnostic table.

  1. Measures the resistance value of the RF shock absorber solenoid.

  2. Tests for voltage at the supply circuit of the RF shock absorber.

  3. Verifies that the electronic suspension control module is providing ground to the RF solenoid.

  4. Tests if ground is constantly being applied to the RF solenoid.

  5. Tests for an open or short to voltage in the RF shock absorber control circuit.

  6. Tests for a short to ground in the RF shock absorber control circuit.

Step

Action

Value(s)

Yes

No

1

Did you perform the RTD Diagnostic System Check?

--

Go to Step 2

Go to Diagnostic System Check

2

  1. Disconnect the RF shock absorber connector.
  2. Measure the resistance of the RF shock absorber solenoid.

Does the resistance measure within the specified value?

9.5-15.5ohms

Go to Step 3

Go to Step 11

3

  1. Turn ON the ignition, with the engine OFF.
  2. Probe the supply circuit of the RF shock absorber solenoid with a test lamp that is connected to a good ground.

Does the test lamp illuminate?

--

Go to Step 4

Go to Step 10

4

  1. Connect a test lamp between the control circuit of the RF shock absorber solenoid and the supply circuit of the RF shock absorber solenoid.
  2. With a scan tool, command the RF shock absorber solenoid ON and OFF.

Does the test lamp turn ON and OFF with each command?

--

Go to Step 8

Go to Step 5

5

Does the test lamp remain illuminated with each command?

--

Go to Step 7

Go to Step 6

6

Test the control circuit of the RF shock absorber solenoid for an open or short to voltage. Refer to Circuit Testing and Wiring Repairs in Wiring Systems.

Did you find and correct the condition?

--

Go to Step 13

Go to Step 9

7

Test the control circuit of the RF shock absorber solenoid for a short to ground. Refer to Circuit Testing and Wiring Repairs in Wiring Systems.

Did you find and correct the condition?

--

Go to Step 13

Go to Step 9

8

Inspect for poor connections at the RF shock absorber solenoid. Refer to Testing for Intermittent Conditions and Poor Connections and Connector Repairs in Wiring Systems.

Did you find and correct the condition?

--

Go to Step 13

Go to Step 11

9

Inspect for poor connections at the harness connector of the ESC module. Refer to Testing for Intermittent Conditions and Poor Connections and Connector Repairs in Wiring Systems.

Did you find and correct the condition?

--

Go to Step 13

Go to Step 12

10

Repair the supply circuit of the RF shock absorber solenoid. Refer to Wiring Repairs in Wiring Systems.

Did you complete the repair?

--

Go to Step 13

--

11

Replace the RF shock absorber. Refer to Shock Absorber Replacement .

Did you complete the replacement?

--

Go to Step 13

--

12

Replace the ESC module. Refer to Electronic Suspension Control Module Replacement .

Did you complete the replacement?

--

Go to Step 13

--

13

  1. Use the scan tool in order to clear the DTCs .
  2. Operate the vehicle within the Conditions for Running the DTC as specified in the supporting text.

Does the DTC reset?

--

Go to Step 2

System OK