GM Service Manual Online
For 1990-2009 cars only

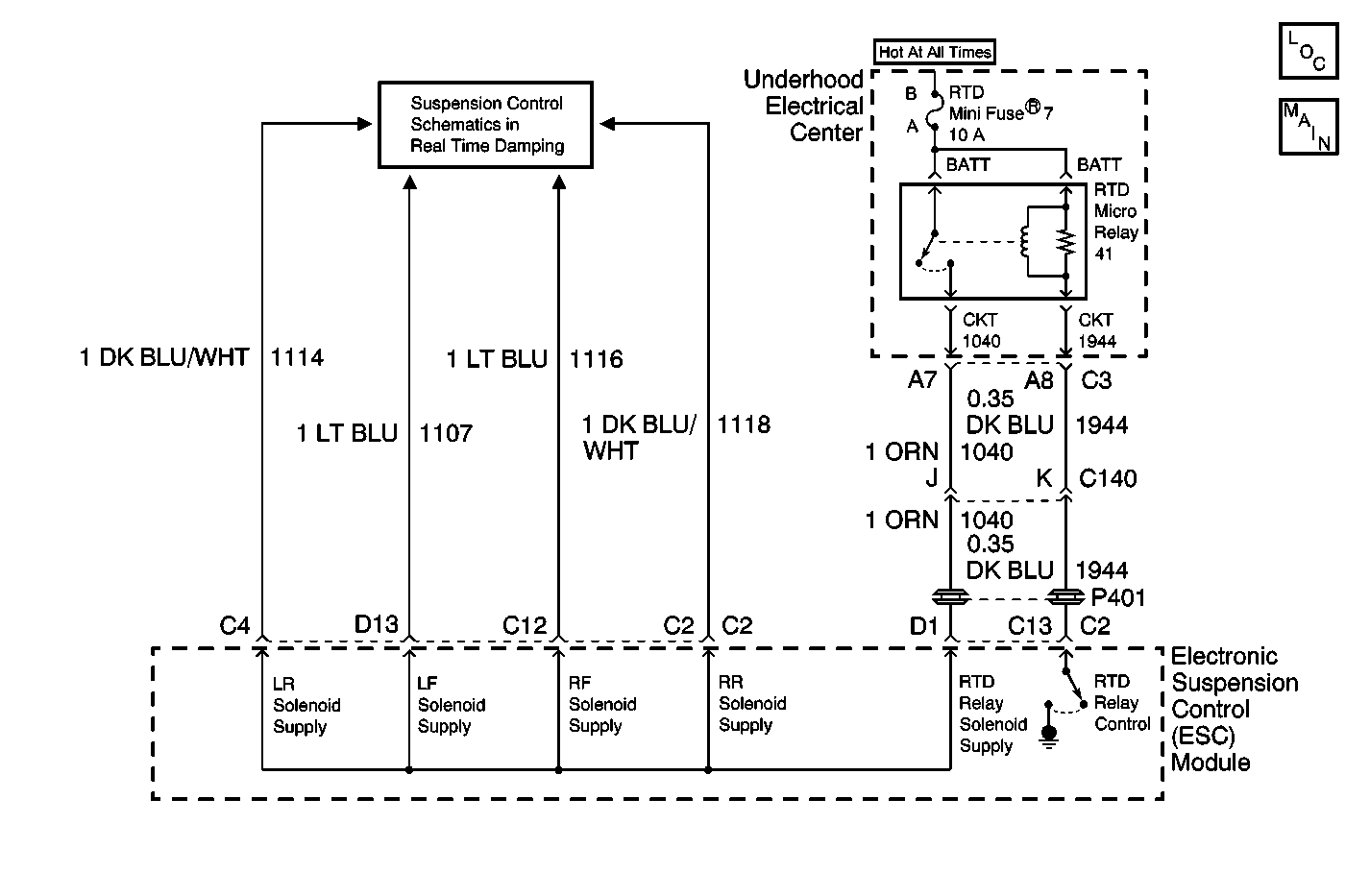
Object Number: 539885  Size: MF
Power and Grounding Components
Suspension Controls Schematics
Suspension Controls Schematics

Circuit Description

Shock absorber solenoid voltage is supplied to the ESC module through the RTD relay circuit. The ESC module controls the RTD relay by grounding the RTD relay control circuit. This closes the relay contacts providing each shock absorber solenoid with supply voltage through the ESC module's internal solenoid supply circuitry. Each individual solenoid control then controls the operation of the corresponding shock absorber. The ESC module monitors the RTD relay control/solenoid supply circuits for any malfunction conditions.

Conditions for Setting the DTC

    • The ESC module detects high voltage (a short to voltage) on the RTD relay control circuit.
    • Detection for this DTC can only be accomplished during the ON (relay applied) state.

Action Taken When the DTC Sets

    • Stores a DTC C0693 in the ESC memory.
    • Commands 0% PWM duty cycle in order to disable all four solenoids.
    • Sends a message to the IPC to display the SERVICE RIDE CONTROL and the SHOCKS INOPERATIVE messages.
    • Sends a message to the PCM to limit the speed. The PCM then sends a massage to the IPC to display the MAXIMUM SPEED 129 km/h (80 mph) message.

Conditions for Clearing the DTC

    • The ESC module no longer detects high voltage (a short to voltage) on the RTD relay control circuit.
    • A history DTC will clear after 100 consecutive ignition cycles if the condition for the malfunction is no longer present.
    • The IPC clearing DTCs feature.
    • Using a scan tool.

Diagnostic Aids

    • The following conditions may cause an intermittent malfunction:
       - An intermittent short to voltage on the RTD relay control circuit.
       - An internal RTD relay short to voltage.
    • If the conditions for a DTC C0693 are current, the ESC module will command 0% PWM duty cycle in order to disable all four solenoids. The vehicle will experience a soft ride condition.
    • The RTD relay may be installed in the underhood electrical center in two directions and still function properly. Refer to Power Distribution Schematics Power Distribution Schematics in Wiring Systems for electrical center identification.

Test Description

The number(s) below refer to the step number(s) on the diagnostic table.

  1. Tests for voltage at the coil side of the RTD Damper Control relay.

  2. Verifies that the ESC module is providing ground to the RTD Damper Control relay.

  3. Tests if ground is constantly being applied to the RTD Damper Control relay.

  4. Tests for a short to voltage in the RTD Damper Control circuit.

Step

Action

Value(s)

Yes

No

1

Did you perform the RTD Diagnostic System Check?

--

Go to Step 2

Go to Diagnostic System Check

2

  1. Turn OFF the ignition.
  2. Disconnect the RTD Damper Control relay.
  3. Turn ON the ignition, with the engine OFF.
  4. Probe the coil side feed circuit of the RTD Damper Control relay with a test lamp that is connected to a good ground. Refer to Power Distribution Schematics in Wiring Systems for electrical center circuit identification.

Does the test lamp illuminate?

--

Go to Step 3

Go to Step 9

3

  1. Connect a test lamp between the control circuit of the RTD Damper Control relay and the coil side feed circuit of the RTD Damper Control relay. Refer to Power Distribution Schematics in Wiring Systems for electrical center circuit identification.
  2. Turn the ignition ON and OFF.

Does the test lamp turn ON and OFF when the ignition is cycled?

--

Go to Step 7

Go to Step 4

4

Does the test lamp remain illuminated when the ignition is turned ON and OFF?

--

Go to Step 6

Go to Step 5

5

Test the control circuit of the RTD Damper Control relay for a short to voltage. Refer to Circuit Testing and Wiring Repairs in Wiring Systems.

Did you find and correct the condition?

--

Go to Step 12

Go to Step 8

6

Test the control circuit of the RTD Damper Control relay for a short to ground. Refer to Circuit Testing and Wiring Repairs in Wiring Systems.

Did you find and correct the condition?

--

Go to Step 12

Go to Step 8

7

Inspect for poor connections at the RTD Damper Control relay. Refer to Testing for Intermittent Conditions and Poor Connections and Connector Repairs in Wiring Systems.

Did you find and correct the condition?

--

Go to Step 12

Go to Step 10

8

Inspect for poor connections at the harness connector of the ESC module. Refer to Testing for Intermittent Conditions and Poor Connections and Connector Repairs in Wiring Systems.

Did you find and correct the condition?

--

Go to Step 12

Go to Step 11

9

Repair the coil side feed circuit of the RTD Damper Control relay. Refer to Wiring Repairs in Wiring Systems.

Did you complete the repair?

--

Go to Step 12

--

10

Replace the RTD Damper Control relay.

Did you complete the replacement?

--

Go to Step 12

--

11

Replace the ESC module. Refer to Electronic Suspension Control Module Replacement .

Did you complete the replacement?

--

Go to Step 12

--

12

  1. Use the scan tool in order to clear the DTCs .
  2. Operate the vehicle within the Conditions for Setting the DTC as specified in the supporting text.

Does the DTC reset?

--

Go to Step 2

System OK