GM Service Manual Online
For 1990-2009 cars only

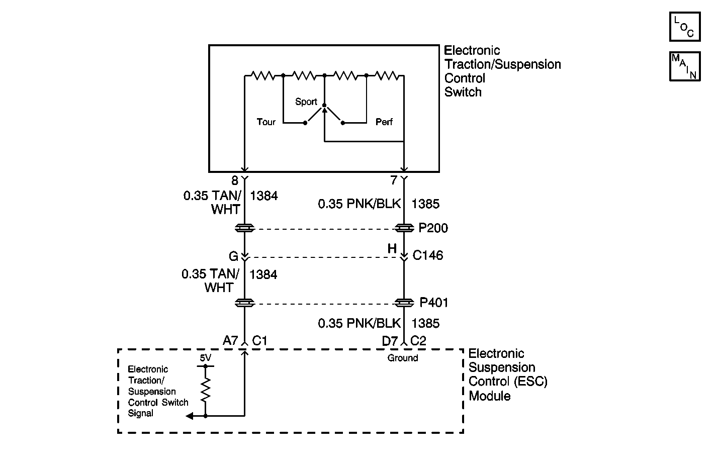
Object Number: 539840  Size: MF
Power and Grounding Components
Suspension Controls Schematics

Circuit Description

The ESC module supplies 5 volts and a ground to the suspension control switch's voltage divider circuit. The suspension control switch changes the resistance value of the switch circuit which alters the voltage level received by the ESC module on the suspension control signal circuit. There are three possible voltage levels, and each voltage level corresponds to a switch selection position (TOUR, SPORT, PERF). The ESC module monitors the voltage level on the suspension control switch signal circuit, and will set a DTC if the detected voltage level is not within the calibrated amount.

Conditions for Setting the DTC

    • The ESC module detects that the suspension control switch signal voltage level is 3.5-4.5 volts.
    • The condition must be detected for 10 seconds in 4 consecutive ignition cycles.

Action Taken When the DTC Sets

    • Stores a DTC B3577 in the ESC memory.
    • Provides shock absorber solenoid control based on the SPORT setting.
    • Sends a message to the IPC to display the SERVICE RIDE CONTROL message.

Conditions for Clearing the DTC

    • A history DTC will clear after 100 consecutive ignition cycles if the condition for the malfunction is no longer present.
    • The ESC module detects that the suspension control switch signal voltage level is less than 3.5 volts.
    • Use the IPC clearing DTC feature.
    • Using a scan tool.

Diagnostic Aids

    • The following conditions may cause an intermittent malfunction to occur:
       - There is an intermittent short or open in the suspension control switch circuit.
       - The suspension control switch is in-between switch positions.
    • A DTC B3577 may set if the suspension control switch terminals are making poor contact to the switch, or if there is a small amount of corrosion on the terminals. Check for these conditions first before attempting to use the diagnostic table, as this may correct the condition.
    • The ESC module uses an ignition cycle counter diagnostic approach to set this DTC. This requires the ESC module to detect the malfunction 4 times before setting the DTC. To disable this feature, use a scan tool to clear all DTCs before preforming diagnostic procedures.
    • If the DTC is a history DTC, the problem may be intermittent. Using a scan tool, monitor the suspension control switch voltage while moving the wiring and the connectors. This can often cause the malfunction to appear.

Test Description

The number(s) below refer to the step number(s) on the diagnostic table.

  1. This tests the suspension control switch voltage range in various switch positions using a scan tool. Normal switch voltage range is between 0.5-3.5 volts.

  2. This tests the suspension control switch signal voltage range using a scan tool with the sensor disconnected. Normal signal voltage range with the sensor disconnected is approximately 5.0  volts.

  3. This tests the suspension control switch signal voltage range using a scan tool with the switch jumpered to ground. Normal signal voltage range with the switch jumpered to ground is approximately 0.5  volts.

Step

Action

Value(s)

Yes

No

1

Did you perform the RTD Diagnostic System Check?

--

Go to Step 2

Go to Diagnostic System Check

2

  1. Install a scan tool.
  2. Turn ON the ignition, engine OFF.
  3. With a scan tool, observe the Suspension Control Select Switch parameter in the RTD data list in the following switch positions:
  4. • PERF
    • SPORT
    • TOUR

Does the scan tool indicate that the Suspension Control Select Switch parameter is within the specified range?

PERF:

0.5-1.5 V

SPORT:

1.5-2.5 V

TOUR:

2.5-3.5 V

Go to Diagnostic Aids

Go to Step 3

3

  1. Turn OFF the ignition.
  2. Disconnect the suspension control switch.
  3. Turn ON the ignition, with the engine OFF.
  4. With a scan tool, observe the Suspension Control Select Switch data parameter.

Does the scan tool indicate that the Suspension Control Select Switch data parameter is greater than the specified value?

4.5 V

Go to Step 4

Go to Step 5

4

  1. Turn OFF the ignition.
  2. Connect a 3 amp fused jumper wire between the signal circuit of the suspension control switch and the ground circuit of the suspension control switch.
  3. Turn ON the ignition, with the engine OFF.
  4. With a scan tool, observe the Suspension Control Select Switch parameter.

Does the scan tool indicate that the Suspension Control Select Switch parameter is less than the specified value?

0.5 V

Go to Step 8

Go to Step 6

5

Test the signal circuit of the suspension control switch for a short to ground. Refer to Circuit Testing and Wiring Repairs in Wiring Systems.

Did you find and correct the condition?

--

Go to Step 12

Go to Step 9

6

Test the signal circuit of the suspension control switch for a short to voltage, a high resistance, or an open. Refer to Circuit Testing and Wiring Repairs in Wiring Systems.

Did you find and correct the condition?

--

Go to Step 12

Go to Step 7

7

Test the ground circuit of the suspension control switch for a high resistance or an open. Refer to Circuit Testing and Wiring Repairs in Wiring Systems.

Did you find and correct the condition?

--

Go to Step 12

Go to Step 9

8

Inspect for poor connections at the harness connector of the suspension control switch. Refer to Testing for Intermittent Conditions and Poor Connections and Connector Repairs in Wiring Systems.

Did you find and correct the condition?

--

Go to Step 12

Go to Step 10

9

Inspect for poor connections at the harness connector of the ESC module. Refer to Testing for Intermittent Conditions and Poor Connections and Connector Repairs in Wiring Systems.

Did you find and correct the condition?

--

Go to Step 12

Go to Step 11

10

Replace the Suspension Control Select switch. Refer to Electronic Suspension Switch Replacement .

Did you complete the replacement?

--

Go to Step 12

--

11

Replace the ESC. Refer to Electronic Suspension Control Module Replacement .

Did you complete the replacement?

--

Go to Step 12

--

12

  1. Use the scan tool in order to clear the DTCs.
  2. Operate the vehicle within the Conditions for Running the DTC as specified in the supporting text.

Does the DTC reset?

--

Go to Step 2

System OK