GM Service Manual Online
For 1990-2009 cars only

Tools Required

    • J 33432-A Transverse Spring Compressor
    • J 42188 Ball Joint Separator

Removal Procedure


    Object Number: 200308  Size: SH
  1. Raise and support the vehicle. Refer to Lifting and Jacking the Vehicle in General Information.
  2. Remove the tire and wheel assemblies. Refer to Tire and Wheel Removal and Installation in Tires and Wheels.
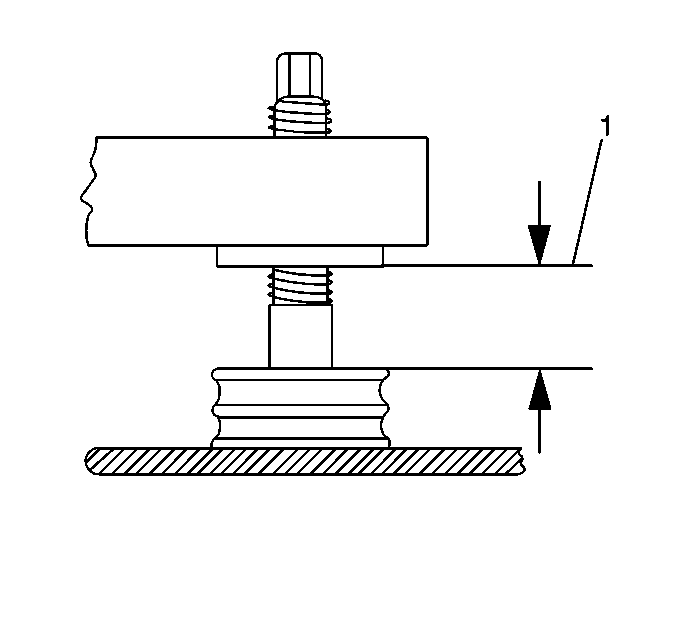
  3. If the transverse spring is to be replaced, measure the front spring adjuster bolt gap (1).
  4. This measurement will be used in the installation procedure to setup the vehicle trim height.


    Object Number: 65337  Size: SH

    Notice: During this procedure, use care not to scratch the transverse spring.

  5. Install the transverse spring compressor J 33432-A to the transverse spring.
  6. Compress the transverse spring.

  7. Object Number: 65335  Size: SH
  8. Remove the lower shock absorber mounting bolts from one of the lower control arms.

  9. Object Number: 172678  Size: SH
  10. Disconnect the stabilizer shaft link from the lower control arm.

  11. Object Number: 340932  Size: SH
  12. Loosen the lower ball joint stud nut (2) on the lower control arm. Do not remove the nut.
  13. Separate the lower the ball joint from the steering knuckle using ball joint separator tool J 42188 .

  14. Object Number: 168544  Size: SH
  15. Remove the ball joint separator tool.
  16. Remove the lower ball joint stud nut and discard.
  17. Support the lower control arms with jackstands.

  18. Object Number: 65339  Size: SH
  19. Mark the position of the cam bolts for reference at reinstallation.
  20. Remove the cam bolts from the lower control arm.
  21. Remove the lower control arm.

  22. Object Number: 423106  Size: SH
  23. Remove the transverse spring bolts and retainers.
  24. Discard the old transverse spring bolts
  25. Remove the transverse spring from the vehicle.
  26. Remove the transverse spring compressor from the transverse spring, if the spring is to be replaced.

Installation Procedure


    Object Number: 65337  Size: SH
  1. Install the transverse spring compressor J 33432-A to the transverse spring.
  2. Install the transverse spring to the crossmember.
  3. Notice: Refer to Fastener Notice in the Preface section.


    Object Number: 423106  Size: SH

    Notice: Do not remove the transverse leaf spring compressor tool until after the shock absorber has been installed. The pad on the transverse leaf spring bolt could move out of position resulting in damage to the pad or a rattle in the suspension.

  4. Install the transverse spring retainers and bolts (Use New Bolts) to the crossmember.
  5. Tighten
    Tighten the transverse spring retainer bolts (Use New Bolts) to 62 N·m (46 lb ft).


    Object Number: 65339  Size: SH
  6. Install the lower control arm to the front crossmember.
  7. Install the cam bolts to the position that was marked during disassembly.
  8. Due to a required wheel alignment, tighten the cam bolts but do not set to the final torque specification at this time.


    Object Number: 168544  Size: SH

    Important: Use a new ball joint stud nut.

  9. Install the lower control arm ball joint stud to the steering knuckle.
  10. Tighten
    Tighten the lower control arm ball joint stud nut to 30 N·m (20 lb ft) plus 180 degrees.


    Object Number: 65335  Size: SH
  11. Support the lower control arm with a jackstand.
  12. Install the shock absorber lower mounting bolts.
  13. Tighten
    Tighten the shock absorber lower mounting nuts to 28 N·m (21 lb ft).


    Object Number: 172678  Size: SH
  14. Connect the stabilizer shaft link to the lower control arm.
  15. Tighten
    Tighten the stabilizer link nut to 72 N·m (53 lb ft).


    Object Number: 65337  Size: SH
  16. Remove the J 33432-A transverse spring compressor from the transverse spring.
  17. Remove the jackstands from the lower control arms.
  18. Install the tire and wheel assemblies. Refer to Tire and Wheel Removal and Installation in Tires and Wheels.
  19. Adjust the front trim height. Refer to Trim Height Inspection in Suspension General Diagnosis.
  20. Perform a front wheel alignment. Refer to Wheel Alignment Measurement in Wheel Alignment.