GM Service Manual Online
For 1990-2009 cars only

Tool Required

    • J 8001 Dial Indicator Set
    • J 46405 Output Shaft Seal Installer
    • J 42155 Getrag Axle Differential Housing Lifting Tool
    • J 42157 Getrag Axle Left Output Shaft Bearing Installer
    • J 42164 Getrag Axle Pinion Gear Holder
    • J 42170 Getrag Axle Bearing Race Installer
    • J 42173 Getrag Axle Ring Gear Holder

    Object Number: 354442  Size: SH

    Important: If the pinion assembly components have not been replaced, reuse the original pinion housing shims. If the pinion assembly components have been replaced, refer to Drive Pinion Shim Selection for selection of the proper size shims.

  1. Assemble the drive pinion prior to rear axle assembly. Refer to Drive Pinion Assemble .
  2. Install the bearing (1) to the cover - left.

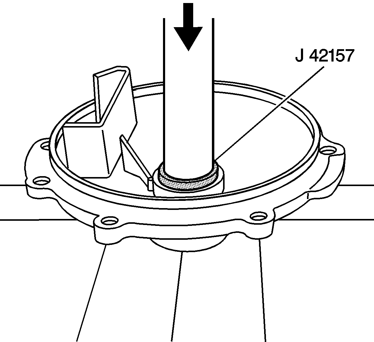
  3. Object Number: 64188  Size: SH
  4. Install the bearing into the cover - left using the J 42157 and a hydraulic press.

  5. Object Number: 64187  Size: SH
  6. Install the oil seal into the cover - left using the J 46405 .

  7. Object Number: 708116  Size: SH
  8. Install the oil seal into the cover - right using the J 46405 .

  9. Object Number: 58585  Size: SH
  10. Install the pinion housing assembly (2) and the selected shim or shims (1) to the differential housing. Refer to Drive Pinion Shim Selection for shim selection.
  11. The use of M8 x 1.25 dowels or long bolts will ease in pinion housing/cage and shim installation and alignment.


    Object Number: 58582  Size: SH

    Notice: Use the correct fastener in the correct location. Replacement fasteners must be the correct part number for that application. Fasteners requiring replacement or fasteners requiring the use of thread locking compound or sealant are identified in the service procedure. Do not use paints, lubricants, or corrosion inhibitors on fasteners or fastener joint surfaces unless specified. These coatings affect fastener torque and joint clamping force and may damage the fastener. Use the correct tightening sequence and specifications when installing fasteners in order to avoid damage to parts and systems.

  12. Install the pinion housing/cage bolts (1).
  13. Tighten
    Tighten the bolts to 25 N·m (18 lb ft).


    Object Number: 354419  Size: SH
  14. Install the C-clip (1) into the groove of the output shaft.

  15. Object Number: 59255  Size: SH
  16. Apply sealant GM P/N 1052942 (Canadian P/N 10953466) or equivalent to the threads of the bolts (2) and stud (1). Apply sealant only to the end of the stud that installs into the mount.
  17. Install the mount (3) and bolts (2).
  18. Tighten
    Tighten the bolts to 10 N·m (89 lb in).

  19. Install 2 M10 x 1.5 nuts onto the transmission stud (1). Install the stud into the mount.
  20. Tighten
    Tighten the stud to 42 N·m (31 lb ft).


    Object Number: 58038  Size: SH
  21. Install the O-ring (4) to the groove of the cover - right (3).
  22. Install the cover - right and bolts (2).
  23. Tighten
    Tighten the bolts to 25 N·m (18 lb ft).


    Object Number: 732188  Size: MH
  24. Install the J 8001 onto the transmission stud. Position the tip of the dial indicator against the center of the ring gear tooth surface.

  25. Object Number: 732192  Size: SH
  26. Install the J 42164  (1) into the splines of the pinion. J 42164 will retain the pinion in order to properly measure backlash.

  27. Object Number: 732185  Size: SH
  28. Move the output shaft - right in both directions in order to measure the gear backlash. Measure the backlash in two to three locations. Refer to Rear Axle Specifications .

  29. Object Number: 58049  Size: SH

    Important: Note the location of the cover - rear bolt/stud for assembly.

  30. Install the cover - rear (2), bolts (3), bolt/stud (4), and O-ring (1).
  31. Tighten
    Tighten the bolts and bolt/stud to 10 N·m (89 lb in).


    Object Number: 708074  Size: SH
  32. Remove the bolts (3) and the differential assembly (1) from the J 42173  (2).

  33. Object Number: 58043  Size: SH
  34. Install the O-ring (4) into the groove of the cover - left (3).
  35. Install the magnet (5) to the carrier.
  36. Apply a continuous 3 mm (0.125 in) bead of sealant GM P/N 1052942 (Canadian P/N 10953466) or equivalent to the left cover flange (3).
  37. Apply sealant around the bolt holes. Keep the sealant away from the O-ring.
  38. Install the cover - left (3) and bolts (2).
  39. Tighten
    Tighten the bolts to 25 N·m (18 lb ft).

  40. Clean the excess sealant from the left cover/housing split line.

  41. Object Number: 58042  Size: SH
  42. Install the vehicle speed sensor and bolt.
  43. Tighten
    Tighten the bolt to 25 N·m (18 lb ft).


    Object Number: 71498  Size: SH
  44. Install the drain plug (1) and washer (2).
  45. Tighten
    Tighten the drain plug to 35 N·m (26 lb ft).


    Object Number: 177939  Size: SH
  46. Install the fill plug (3), lubricant tag (2), and washer (1).

  47. Object Number: 71501  Size: SH
  48. Install the transmission mount and bolts.
  49. Tighten
    Tighten the bolts to 50 N·m (37 lb ft).