GM Service Manual Online
For 1990-2009 cars only

Rear Bearing Housing Assembly - Manual Transmission


    Object Number: 499263  Size: SH

    Important: Do not separate the input shaft, propeller shaft, couplings, or bearing housing assembly, unless required. These components are balanced as an assembly. Disassembly and improper reassembly of the components may cause vehicle driveline vibration.

    If the input shaft, couplings, propeller shaft, or bearing housing assembly must be separated, the components must be marked prior to disassembly. During assembly, the components must be returned to their original position and location.

  1. Install the wave washer (1) into the rear bearing housing.

  2. Object Number: 499251  Size: SH
  3. Lubricate the NEW rear bearing housing O-rings (1) with clean engine oil.
  4. Install the O-rings into the rear bearing housing.

  5. Object Number: 499233  Size: SH

    Important: Press only on the outer race of the bearing.

  6. Position the rear bearing housing (2) into a press in order to install the bearing (1).

  7. Object Number: 499257  Size: SH
  8. Install the bearing (1) into the housing.

  9. Object Number: 499255  Size: SH
  10. Install the snap ring (1) into the rear bearing housing.

  11. Object Number: 499258  Size: SH

    Important: Install the propeller shaft bushing into hub with the smaller opening of the bushing positioned away from the hub.

  12. Install the transmission input shaft bushing (2) and propeller shaft bushing (1) into the hub, if required.

  13. Object Number: 499254  Size: SH
  14. Install the bearing (2) and snap rings (1) onto the hub (3).

  15. Object Number: 499253  Size: SH
  16. Install the hub (1) into the rear bearing housing.

  17. Object Number: 499248  Size: SH
  18. Press the hub - with bearing (1) into the housing (2). Support the inner race of the housing bearing when assembling the components.

  19. Object Number: 499266  Size: SH
  20. Position the bearing housing into a press. Apply pressure to the housing and compress the wave washer in order to install the snap ring (1).

  21. Object Number: 499224  Size: SH
  22. Install the snap ring (1) onto the hub.

Rear Bearing Housing Assembly - Automatic Transmission


    Object Number: 499251  Size: SH
  1. Lubricate the NEW rear bearing housing O-rings (1) with clean engine oil.
  2. Install the O-rings into the rear bearing housing.

  3. Object Number: 499233  Size: SH

    Important: Press only on the outer race of the bearing.

  4. Position the rear bearing housing (2) into a press in order to install the bearing (1).

  5. Object Number: 499257  Size: SH
  6. Install the bearing (1) into the housing.

  7. Object Number: 499255  Size: SH
  8. Install the snap ring (1) into the rear bearing housing.

  9. Object Number: 499247  Size: SH
  10. Install the bearing (2) and snap rings (1) onto the flex plate spindle (3).

  11. Object Number: 499219  Size: SH
  12. Install the flex plate spindle, with bearing, into the rear bearing housing.

  13. Object Number: 499250  Size: SH
  14. Press the flex plate spindle, with bearing (1), into the housing (2). Support the inner race of the housing bearing when assembling the components.

  15. Object Number: 499245  Size: SH
  16. Install the hub (1) onto the flex plate spindle. Align the marks on the flex plate spindle and hub for proper assembly.
  17. Apply threadlock GM P/N 12345382 (Canadian P/N 10953489), or equivalent, to the threads of the spindle.

  18. Object Number: 499221  Size: SH

    Notice: Use the correct fastener in the correct location. Replacement fasteners must be the correct part number for that application. Fasteners requiring replacement or fasteners requiring the use of thread locking compound or sealant are identified in the service procedure. Do not use paints, lubricants, or corrosion inhibitors on fasteners or fastener joint surfaces unless specified. These coatings affect fastener torque and joint clamping force and may damage the fastener. Use the correct tightening sequence and specifications when installing fasteners in order to avoid damage to parts and systems.

  19. Install the nut (1) to the flex plate spindle.
  20. Tighten
    Tighten the spindle nut to 90 N·m (66 lb ft).

Propeller Shaft Installation


    Object Number: 499243  Size: SH

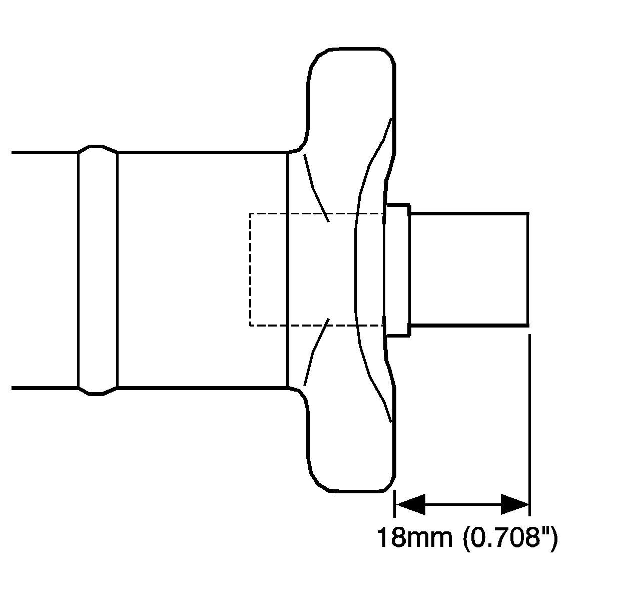
    Important: Install the propeller shaft bushing into hub with the smaller opening of the bushing positioned away from the flange.

  1. Install a NEW bushing (1) into the automatic transmission propeller shaft, if required.

  2. Object Number: 566592  Size: SH
  3. Inspect the bushing for proper installation. A properly installed bushing will protrude 18 mm (0.708 in) from the face of the hub.

  4. Object Number: 261018  Size: SH
  5. Apply threadlock GM P/N 12345382 (Canadian P/N 10953489), or equivalent, to the threads of the coupling bolts.
  6. Notice: Use the correct fastener in the correct location. Replacement fasteners must be the correct part number for that application. Fasteners requiring replacement or fasteners requiring the use of thread locking compound or sealant are identified in the service procedure. Do not use paints, lubricants, or corrosion inhibitors on fasteners or fastener joint surfaces unless specified. These coatings affect fastener torque and joint clamping force and may damage the fastener. Use the correct tightening sequence and specifications when installing fasteners in order to avoid damage to parts and systems.

    Important: If the coupling orientation mark has been lost during the cleaning or disassembly process, the coupling MUST be installed with the directional arrow pointed toward the flange to which it mounts.

  7. Install the rear coupling (1), bolts (2), and washers to the propeller shaft.
  8. Tighten

        • Tighten the coupling bolts - automatic transmission to 70 N·m (52 lb ft).
        • Tighten the coupling bolts - manual transmission to 90 N·m (66 lb ft).

    Object Number: 499214  Size: SH

    Important: If the coupling orientation mark has been lost during the cleaning or disassembly process, the coupling MUST be installed with the directional arrow pointed toward the flange to which it mounts.

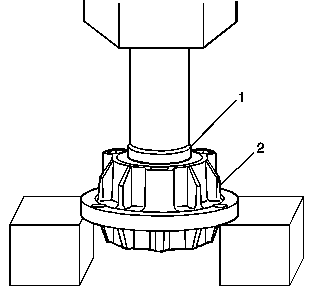
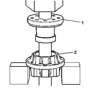
  9. Install the rear bearing housing assembly, bolts, and washers to the rear coupling.
  10. Tighten

        • Tighten the coupling bolts - automatic Transmission to 70 N·m (52 lb ft).
        • Tighten the coupling bolts - manual Transmission to 90 N·m (66 lb ft).

    Object Number: 261015  Size: SH
  11. Install the front coupling (2), bolts (1), and washers to the propeller shaft.
  12. Tighten

        • Tighten the coupling bolts - automatic transmission to 70 N·m (52 lb ft).
        • Tighten the coupling bolts - manual transmission to 90 N·m (66 lb ft).

    Object Number: 261013  Size: SH
  13. Install the bearing (1) onto the input shaft.
  14. Install the bearing until completely seated against the flange of the input shaft.


    Object Number: 261012  Size: SH
  15. Install the snap ring (2) into the groove of the input shaft.
  16. Install a NEW slinger washer (1) onto the input shaft.
  17. A properly installed slinger washer will have a gap of 1.5-2.5 mm (0.050-0.098 in) between the washer and the bearing face.


    Object Number: 261014  Size: SH
  18. Install the input shaft, bolts, and washers to the coupling.
  19. Tighten

        • Tighten the coupling bolts - automatic transmission to 70 N·m (52 lb ft).
        • Tighten the coupling bolts - manual transmission to 90 N·m (66 lb ft).

    Object Number: 264192  Size: SH
  20. Measure the distance (1) from the end of the input shaft to the flange on the bearing housing - automatic transmission. Record the amount as distance 1.

  21. Object Number: 264200  Size: SH
  22. Measure the distance (2) from the driveline tube front bellhousing flange to the bearing housing flange - automatic transmission. Record this as distance 2.
  23. Subtract the distance 2 from distance 1.
  24. Record the computation as distance 3.

  25. Object Number: 566590  Size: SH
  26. Lubricate the NEW driveline tube O-ring (1) with clean engine oil.
  27. Install the O-ring into the front of the driveline tube.

  28. Object Number: 499210  Size: SH
  29. Install the propeller shaft assembly into the driveline tube.
  30. During installation, lift the front of the input shaft to avoid damage to the slinger washer. Using a punch, tap evenly on the flat flange area of the rear bearing housing and install the assembly completely into the tube.


    Object Number: 499262  Size: SH
  31. Install the rear bearing housing bolt hole plugs (1-3).

  32. Object Number: 499249  Size: SH
  33. Install the snap ring (1) into the driveline tube. The beveled edge of the snap ring faces the rear of the driveline tube assembly and will seat completely into the groove of the housing.
  34. Important: The propeller shaft assembly must be checked for proper installation into the driveline tube - automatic transmission. When the propeller shaft assembly is installed into the driveline tube, the couplings may compress and not properly position the input shaft.

  35. Measure the distance from the end of the input shaft to the driveline tube front bell housing flange - automatic transmission.
  36. The actual distance must be equal to or within 2 mm (0.079 in) of the recorded dimension 3.

    20.1. If the actual distance is not within specifications, use a heat gun and heat the outside of the driveline support tube at the front bearing location.
    20.2. Tap on the rear of the propeller shaft assembly or pull on the input shaft until the shaft has reached the proper position.

    Object Number: 499202  Size: SH
  37. Install the flex plate and bolts - automatic transmission.
  38. Tighten
    Tighten the flex plate bolts to 50 N·m (37 lb ft).


    Object Number: 71481  Size: SH
  39. Install the clutch actuator and bolts - manual transmission.
  40. Tighten
    Tighten the clutch actuator bolts to 12 N·m (106 lb in).