GM Service Manual Online
For 1990-2009 cars only

Tools Required

J 7872 Magnetic Base Dial Indicator Set


    Object Number: 261038  Size: SH
  1. Clean all bolts and bolt holes of threadlocking material.
  2. Clean the components in solvent.
  3. Caution: Wear safety glasses in order to avoid eye damage.

  4. Dry the components with compressed air.
  5. Inspect the hub for the following conditions:
  6. • Damaged bolt hole threads (1)
    • Damaged snap ring grooves (2)
    • Worn splines (3)
    • Worn or scored surface (4)
    • Worn or damaged bushing

    Object Number: 261029  Size: SH
  7. Inspect the couplings for the following conditions:
  8. • Loose or damaged inserts (1)
    • Worn, cracking, or deteriorated rubber (2)
    • MINOR cracking of the rubber is normal and acceptable. If the cracks expose any frayed fabric or internal windings, replace the coupling.

    Object Number: 261031  Size: SH
  9. Inspect the propeller shaft for the following conditions:
  10. • Damaged bolt hole threads (1)
    • Loose or missing balance weights (2)
    • Balance weights may have been installed and removed during the balancing process. In those cases, a weld mark will remain on the propeller tube.
    • Inspect the inside of the driveline support tube for a missing balance weight.
    • Loose or damaged snubber (3) - manual transmission
    • Dented or damaged propeller shaft tube (4)
    • Worn, bent, loose, or damaged pins (5)

    Object Number: 499265  Size: SH
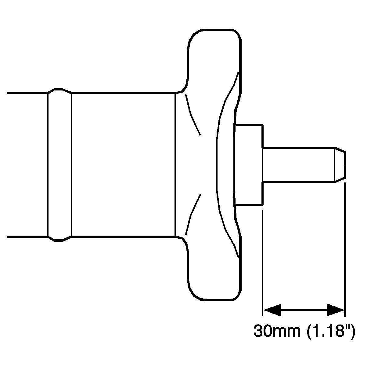
  11. Inspect the propeller shaft pins for proper installation. The pin should extend beyond the flange 30 mm (1.18 in).

  12. Object Number: 261032  Size: SH
  13. Measure the propeller shaft runout.
  14. 8.1. Mount the propeller shaft in wooden V-blocks or between centers on a fixture.
    8.2. Check the runout of the propeller shaft in multiple locations, including the barrel ends, using the J 7872 .
    8.3. If propeller shaft runout exceeds 0.3 mm (0.118 in), the propeller shaft is bent and should be replaced.
  15. Inspect the snubber - manual transmission - for wear or a flat spot on the outer edge.
  16. Check the runout of the snubber.
  17. If the runout of the outer edge of the snubber exceeds 2 mm (0.79 in), replace the propeller shaft.


    Object Number: 499261  Size: SH
  18. Inspect the bearing housing hub for the following conditions:
  19. • Damaged bolt hole threads (1)
    • Damaged snap ring grooves (2)
    • Worn or damaged splines (3)
    • Worn or damaged bushings
    • Bushings that have been removed from the hub will be damaged and should not be reused. Install NEW bushings during assembly.

    Object Number: 499259  Size: SH
  20. Inspect the flex plate spindle - automatic transmission, for the following conditions:
  21. • Damaged bolt hole threads (1)
    • Damaged snap ring grooves (2)
    • Worn or damaged splines (3)
    • Damaged threads (4)

    Object Number: 499260  Size: SH
  22. Inspect the input hub - automatic transmission, for the following conditions:
  23. • Worn or damaged splines (1)
    • Damaged bolt hole threads (2)

    Object Number: 499246  Size: SH
  24. Inspect the bearing housing for the following conditions:
  25. • Damaged O-ring or snap ring grooves (1-2)
    • Damaged threads (3)
    • Worn or scored bearing bores

    Object Number: 499254  Size: SH
  26. Inspect the bearings for the following conditions:
  27. • Damaged grease seals
    • Excessive wear or roughness of operation
    • Bearings should rotate freely with no coarseness or rough feel
  28. Inspect for bent or broken snap rings (1) and replace, as required.
  29. Inspect the driveline tube for the following conditions:
  30. • Damaged bolt hole threads
    • Damaged front O-ring groove
    • Worn or scored front bearing bore
    • Missing or damaged bellhousing dowel pins
    • Damage to the exterior of the tube
    • Cracked welds