GM Service Manual Online
For 1990-2009 cars only

Tools Required

J 42640 Steering Column Lock Pin

Removal Procedure

    Important: If the steering column connectors are disconnected with the ignition in the ON position, the BCM will enter a fail enable mode and prevent steering column lock operation. The PCM will also inhibit vehicle motion by disabling fuel. To clear the BCM fail enable mode, disconnect the BCM fuse #25 for 15 seconds.


    Object Number: 70106  Size: SH
  1. Disable the SIR system. Refer to Disabling the SIR System in SIR.
  2. Turn the steering wheel far enough to the left to gain access to the upper coupling bolt.
  3. Remove the upper coupling bolt.
  4. Turn the steering wheel back to the right until the wheels are in a straight ahead position and then lock the steering column.
  5. Install the J 42640 to the steering column.

  6. Object Number: 95668  Size: SH
  7. Remove the driver knee bolster trim panel. Refer to Driver Knee Bolster Panel Replacement in Instrument Panel, Gages and Console.
  8. Remove the driver knee bolster bracket. Refer to Knee Bolster Bracket Replacement in Instrument Panel, Gages and Console.
  9. Disconnect the electrical connectors from the instrument panel wiring harness.

  10. Object Number: 70120  Size: SH
  11. Remove the nuts from lower steering column support plate (1).

  12. Object Number: 70116  Size: SH
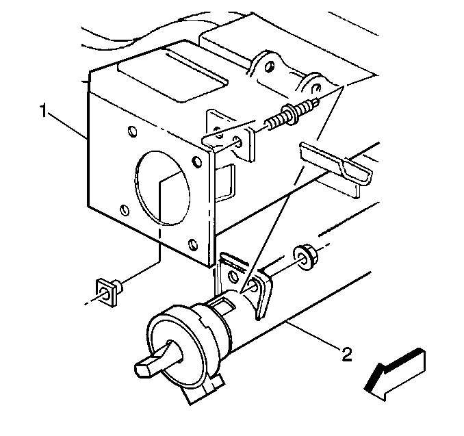
  13. Remove the upper steering column bracket nuts from the upper reinforcement assembly (3).
  14. Slide the steering column (2) off of the intermediate shaft.
  15. Remove the steering column (2) from the vehicle.
  16. Rotate the steering column clockwise as the bottom of the steering column reaches the reinforcement assembly. This will allow the telescoping steering column motor and the steering wheel position sensor room to clear the instrument panel brace.

Installation Procedure


    Object Number: 70116  Size: SH
  1. Position the steering column assembly (2) into the vehicle and insert the lower steering shaft assembly into the upper coupling of the intermediate shaft.
  2. Install the cross car locating bushing (1) on the right hand mounting stud.
  3. Notice: Use the correct fastener in the correct location. Replacement fasteners must be the correct part number for that application. Fasteners requiring replacement or fasteners requiring the use of thread locking compound or sealant are identified in the service procedure. Do not use paints, lubricants, or corrosion inhibitors on fasteners or fastener joint surfaces unless specified. These coatings affect fastener torque and joint clamping force and may damage the fastener. Use the correct tightening sequence and specifications when installing fasteners in order to avoid damage to parts and systems.

  4. Install the upper steering column bracket nuts to the upper reinforcement assembly (3).
  5. Tighten
    Tighten the upper steering column bracket nuts to 24 N·m (17 lb ft).


    Object Number: 70120  Size: SH
  6. Install the lower steering column support plate (1) nuts.
  7. Tighten
    Tighten the lower steering column support plate nuts to 24 N·m (17 lb ft).

  8. Turn the steering wheel far enough to the left to gain access to the upper coupling of the intermediate shaft.

  9. Object Number: 70106  Size: SH
  10. Install the upper coupling bolt.
  11. Tighten
    Tighten the upper coupling bolt to 48 N·m (35 lb ft).

  12. Connect all the electrical connectors to the instrument panel wiring harness.
  13. Remove J 42640 from the steering column.

  14. Object Number: 95668  Size: SH
  15. Install the driver knee bolster bracket (1). Refer to Knee Bolster Bracket Replacement in Instrument Panel, Gages and Console.
  16. Install the driver knee bolster trim panel. Refer to Driver Knee Bolster Panel Replacement in Instrument Panel, Gages and Console.
  17. Enable the SIR system. Refer to Enabling the SIR System in SIR.