GM Service Manual Online
For 1990-2009 cars only

Perform one or more of the following five adjustment procedures to properly align the roof lift off panel.


    Object Number: 63754  Size: SH

    Notice: Use the correct fastener in the correct location. Replacement fasteners must be the correct part number for that application. Fasteners requiring replacement or fasteners requiring the use of thread locking compound or sealant are identified in the service procedure. Do not use paints, lubricants, or corrosion inhibitors on fasteners or fastener joint surfaces unless specified. These coatings affect fastener torque and joint clamping force and may damage the fastener. Use the correct tightening sequence and specifications when installing fasteners in order to avoid damage to parts and systems.

  1. To adjust the front striker for up down roof alignment perform the following steps:
  2. 1.1. For major up down roof adjustment loosen the striker bolts and reposition the latch striker up or down.
    1.2. For minor up or down roof adjustment loosen the striker outboard bolt and slightly loosened the inboard bolt, pivot the striker on the inboard bolt in 2 mm (0.08 in) increments up or down.
    1.3. Tighten the striker bolts.

    Tighten
    Tighten the roof front latch handle striker bolts to 10 N·m (89 lb in).

    1.4. When the striker is properly adjusted the handle will snap closed.

    Object Number: 63739  Size: SH
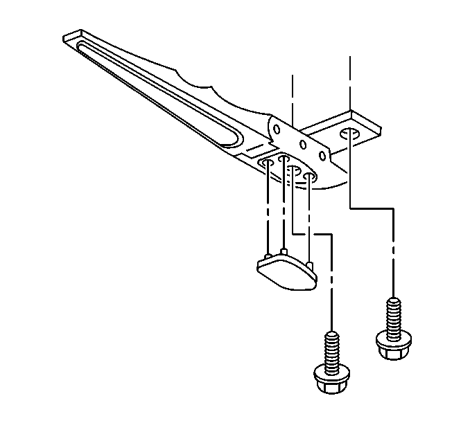
  3. To adjust the front latch handle forward or rearward perform the following steps:
  4. 2.1. Loosen the latch handle bolts.
    2.2. Reposition the latch handle forward or rearward. Maintain a minimum of 2 mm (0.08 in) clearance between latch handle and the latch striker to avoid squeaks and rattles.
    2.3. Assure the latch handle base is parallel to the striker to provide clearance to the sunshade mirror door.
    2.4. Tighten the latch handle bolts.

    Tighten
    Tighten the roof front latch handle bolts to 13 N·m (10 lb ft).


    Object Number: 63745  Size: SH
  5. For major rear latch adjustment adjust the rear latch striker performing the following steps:
  6. 3.1. Remove the roof lift off panel.
    3.2. Remove the roof bow center interior trim panel. Refer to Rear Roof Bow Trim Panel Replacement in Interior Trim.
    3.3. Loosen the rear latch striker attaching bolts.
    3.4. Adjust the position of the latch striker forward or rearward for major adjustment.
    3.5. Tighten the striker attaching bolts.

    Tighten
    Tighten the roof rear striker bolts to 10 N·m (89 lb in).

    3.6. Install the roof lift off panel.

    Object Number: 167241  Size: SH
  7. For minor rear latch adjustment adjust the latch handle hook one turn at a time to achieve moderate pressure to the latch as follows.
  8. 4.1. Remove the roof lift off panel.
    4.2. Loosen the set screw locking the latch hook.
    4.3. Turn the hook in to tighten or out to loosen.
    4.4. Tighten the set screw.
    4.5. Install the roof panel.

    Object Number: 167242  Size: SH
  9. To adjust the rear locator perform the following steps:
  10. 5.1. With the roof installed on the vehicle loosen the locator mounting bolts.
    5.2. Reposition the locator.
    5.3. Tighten the mounting bolts.

    Tighten
    Tighten the roof rear locator to locator bracket bolts to 10 N·m (89 lb in).