GM Service Manual Online
For 1990-2009 cars only

Removal Procedure

  1. Remove the folding top and place the top upside down on a clean flat surface. Refer to Folding Top Replacement .
  2. Remove the headliner screws from the rear side rail.
  3. Remove the folding top front and center side rail retainers. Refer to Folding Top Weatherstrip Retainer Replacement .
  4. Remove the seal compression panel from the #1 bow. Refer to Folding Top Seal Compression Panel Replacement .

  5. Object Number: 784488  Size: SH
  6. Using a pair of needle-nosed pliers, remove the top cover staples from the #1 bow.
  7. Peel back the top cover to expose the fabric flap on the tension cable bracket.

  8. Object Number: 784498  Size: SH
  9. Remove the headliner screws from the #1 bow.

  10. Object Number: 784499  Size: SH
  11. Remove the headliner push-on retainer from the #1 bow.

  12. Object Number: 784546  Size: SH
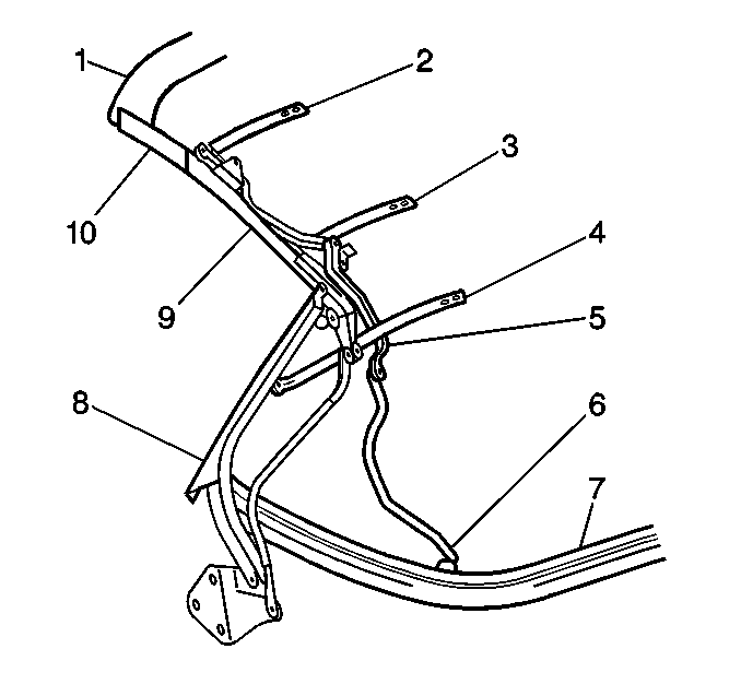
  13. Remove the nuts attaching the #1 bow to the front side rail.

  14. Object Number: 289895  Size: SH
  15. Remove the main control link screw from the front side rail.
  16. Remove the main control link screw from the center side rail.
  17. Remove the center rail screw from the rear side rail.
  18. Remove the center rail screw from the balance link.
  19. Remove the front and center rail assembly.

Installation Procedure

  1. Install the front and center rail assembly.

  2. Object Number: 311345  Size: SH

    Notice: Use the correct fastener in the correct location. Replacement fasteners must be the correct part number for that application. Fasteners requiring replacement or fasteners requiring the use of thread locking compound or sealant are identified in the service procedure. Do not use paints, lubricants, or corrosion inhibitors on fasteners or fastener joint surfaces unless specified. These coatings affect fastener torque and joint clamping force and may damage the fastener. Use the correct tightening sequence and specifications when installing fasteners in order to avoid damage to parts and systems.

  3. Install the spacers and the screw attaching the center rail (9) to the rear side rail (8).
  4. Tighten
    Tighten the screw to 19 N·m (14 lb ft).

  5. Install the spacers and the screw attaching the center rail (9) to the balance link.
  6. Tighten
    Tighten the screw to 23 N·m (17 lb ft).


    Object Number: 289895  Size: SH
  7. Install the spacers and the screw attaching the main control link to the front side rail.
  8. Tighten
    Tighten the screw to 20 N·m (15 lb ft).

  9. Install the spacers and the screw attaching the main control link to the center side rail.
  10. Tighten
    Tighten the screw to 20 N·m (15 lb ft).


    Object Number: 784546  Size: SH
  11. Install the nuts attaching the #1 bow (1) to the front side rail.
  12. Tighten
    Tighten the nuts to 14 N·m (10 lb ft).


    Object Number: 784499  Size: SH
  13. Install the headliner push-on retainers to the #1 bow.

  14. Object Number: 784498  Size: SH
  15. Install the headliner screw to the #1 bow.
  16. Tighten
    Tighten the headliner screw to 2  N·m(18 lb in).

  17. With an assistant install the folding top to the vehicle. Refer to Folding Top Replacement .
  18. Install the front and center side rail weatherstrip retainers. Refer to Folding Top Weatherstrip Retainer Replacement Front and center side rail.
  19. Before stapling the top cover to the #1 bow, refer to Folding Top Cover Tension Adjustment - Front .
  20. Reposition the folding top to the original position.