GM Service Manual Online
For 1990-2009 cars only

Removal Procedure


    Object Number: 376610  Size: SH
  1. Remove the hood.
  2. Secure the stud plate.
  3. Install a nut, or lock onto a stud plate stud with locking pliers.

  4. Drill out the rivet holding the stud plate to the top of the side rail.
  5. Raise the vehicle. Refer to Lifting and Jacking the Vehicle in General Information.

  6. Object Number: 63701  Size: SH
  7. Remove the valance and the fascia close out panel.

  8. Object Number: 65137  Size: SH
  9. Remove the bolt mounting the horn assembly, (if working on passengers side only).
  10. Disconnect the electrical connector from the horn assembly, (passengers side only).
  11. Remove the horn assembly, (passengers side only).
  12. Relocate the wire harness, (passenger side only).
  13. Relocate the air pump hose, (if working on drivers side only).

  14. Object Number: 376614  Size: SH
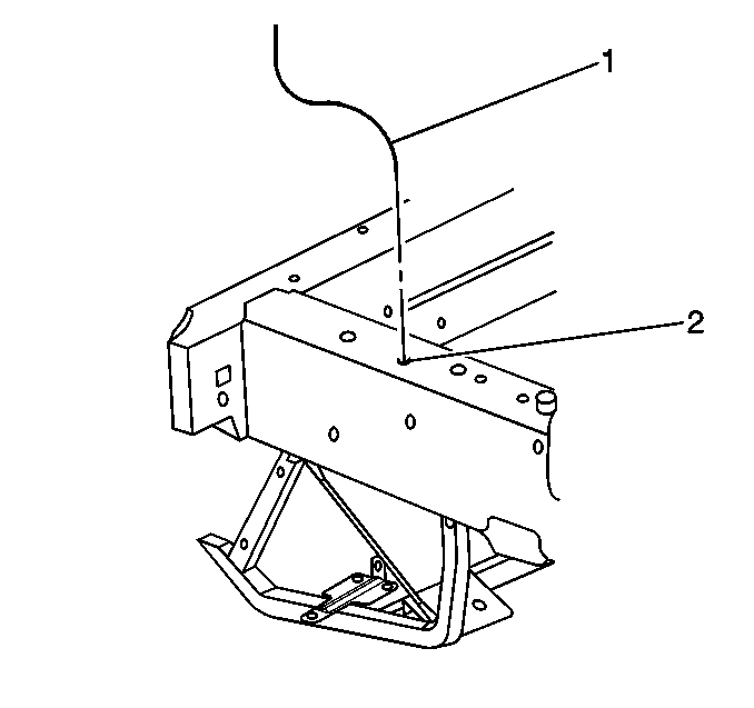
  15. Drill a 25 mm (1 in) hole  (1) in the bottom underside of the side rail.
  16. Lower the vehicle part way.

  17. Object Number: 376615  Size: SH
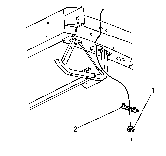
  18. Insert a wire  (1) down through the stud plate retaining rivet hole  (2).
  19. Hook or tie the upper end of the wire to prevent the wire from sliding down through the hole.

  20. Object Number: 376612  Size: SH
  21. Fish the bottom end of the wire out through the cut hole in the bottom of the side rail.
  22. Release the stud plate and guide it down the wire.
  23. A long screwdriver inserted through the one inch hole can be used to guide the stud plate.
  24. Remove the wire from the stud plate.
  25. Secure the old stud plate in the frame rail with adhesive or sprayed in foam, to prevent the stud plate from rattling.
  26. The stud plate is to large to be removed through the one inch hole.

Installation Procedure


    Object Number: 376615  Size: SH
  1. Reinsert the wire  (1) through the hole   (2) in the top of the frame rail.
  2. Fish the bottom end of the wire out through the cut hole in the bottom of the side rail.

  3. Object Number: 376616  Size: SH
  4. Modify the new stud plate  (2) by trimming away enough material so that it will fit through the one inch hole.
  5. Insert the wire through the small hole in the new stud plate.
  6. Attach a large nut  (1) to the end of the wire that was passed through the stud plate small hole.
  7. Insert the stud plate through the one inch hole.
  8. Pull the wire and the stud plate up to the underside of the top of the frame rail.
  9. A large screwdriver inserted through the hole in the bottom of the side rail may be used to assist in positioning the stud plate.


    Object Number: 376610  Size: SH
  10. Pull the hinge stud plate tight to the top of the frame rail.
  11. Install the nuts to the hinge stud plate studs.
  12. Remove the wire and nut down through the hole in the bottom of the side rail.
  13. Rivet the stud plate to the top of the frame rail.
  14. Remove the nuts from the stud plate studs.
  15. Notice: Refer to Fastener Notice in the Preface section.


    Object Number: 71266  Size: SH
  16. Install the hood and hood hinge. Refer to Hood Replacement in Body Front End.
  17. Raise the vehicle.
  18. Apply anti-corrosion material to the hole cut in the side rail.

  19. Object Number: 65137  Size: SH
  20. Install the horns and bracket, if removed. Refer to Horn Replacement in Horns.
  21. Relocate the wire harness to original position, if moved.
  22. Relocate the air pump hose to its original position, if moved.

  23. Object Number: 63701  Size: SH
  24. Install the fascia close out panel and the valance panel. Refer to Front Bumper Fascia Lower Close Out Panel Replacement in Bumpers.
  25. Lower the vehicle.