GM Service Manual Online
For 1990-2009 cars only

Removal Procedure

  1. Remove the right wheelhouse filler panel. Refer to Wheelhouse Filler Replacement in Body Front End.

  2. Object Number: 610239  Size: SH
  3. Remove the vacuum hoses from the Secondary Air Injection (AIR) Solenoid Valve.
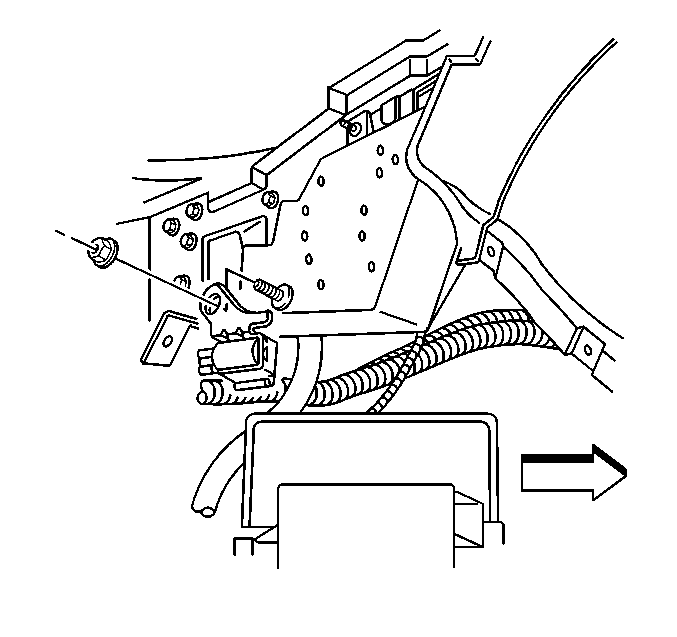
  4. Remove the electrical connector from the AIR Solenoid Valve.

  5. Object Number: 609796  Size: SH
  6. Remove the AIR Solenoid Valve retaining nut.
  7. Remove the AIR Solenoid Valve.

Installation Procedure


    Object Number: 609796  Size: SH
  1. Install the AIR Solenoid Valve.
  2. Notice: Use the correct fastener in the correct location. Replacement fasteners must be the correct part number for that application. Fasteners requiring replacement or fasteners requiring the use of thread locking compound or sealant are identified in the service procedure. Do not use paints, lubricants, or corrosion inhibitors on fasteners or fastener joint surfaces unless specified. These coatings affect fastener torque and joint clamping force and may damage the fastener. Use the correct tightening sequence and specifications when installing fasteners in order to avoid damage to parts and systems.

  3. Install the AIR Solenoid Valve retaining nut.
  4. Tighten
    Tighten the AIR Solenoid Valve retaining nut to 7 N·m (62 lb in).


    Object Number: 610239  Size: SH
  5. Install the vacuum hoses to the AIR Solenoid Valve.
  6. Install the electrical connector to the AIR Solenoid Valve.
  7. Install the right wheelhouse filler panel. Refer to Wheelhouse Filler Replacement in Body Front End.