GM Service Manual Online
For 1990-2009 cars only
Makes
🢒
Chevrolet
🢒
2001
🢒
Corvette
🢒
Body and Accessories
🢒
Wiring Systems
🢒 Steering Assist Schematics
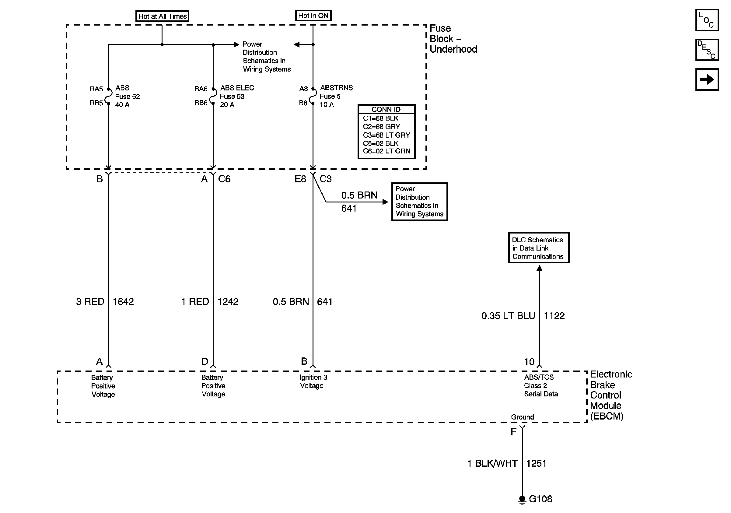
Figure
1:
Power, Ground and DLC
Master Electrical Component List
Variable Effort Steering System Description and Operation
Steering Wheel Position Sensor
Underhood Electrical Center Bussing (1 of 2)
Power, Ground and DLC
Star Connectors
Figure
2:
Steering Wheel Position Sensor
Master Electrical Component List
Variable Effort Steering System Description and Operation
Power, Ground and DLC
02 Y-CBrake Fluid Pressure Sensor,Lateral Accelerometer and Yaw Rate Sensor (JL4)
02 Y-CBrake Fluid Pressure Sensor,Lateral Accelerometer and Yaw Rate Sensor (JL4)