GM Service Manual Online
For 1990-2009 cars only
Makes
🢒
Chevrolet
🢒
2002
🢒
Corvette
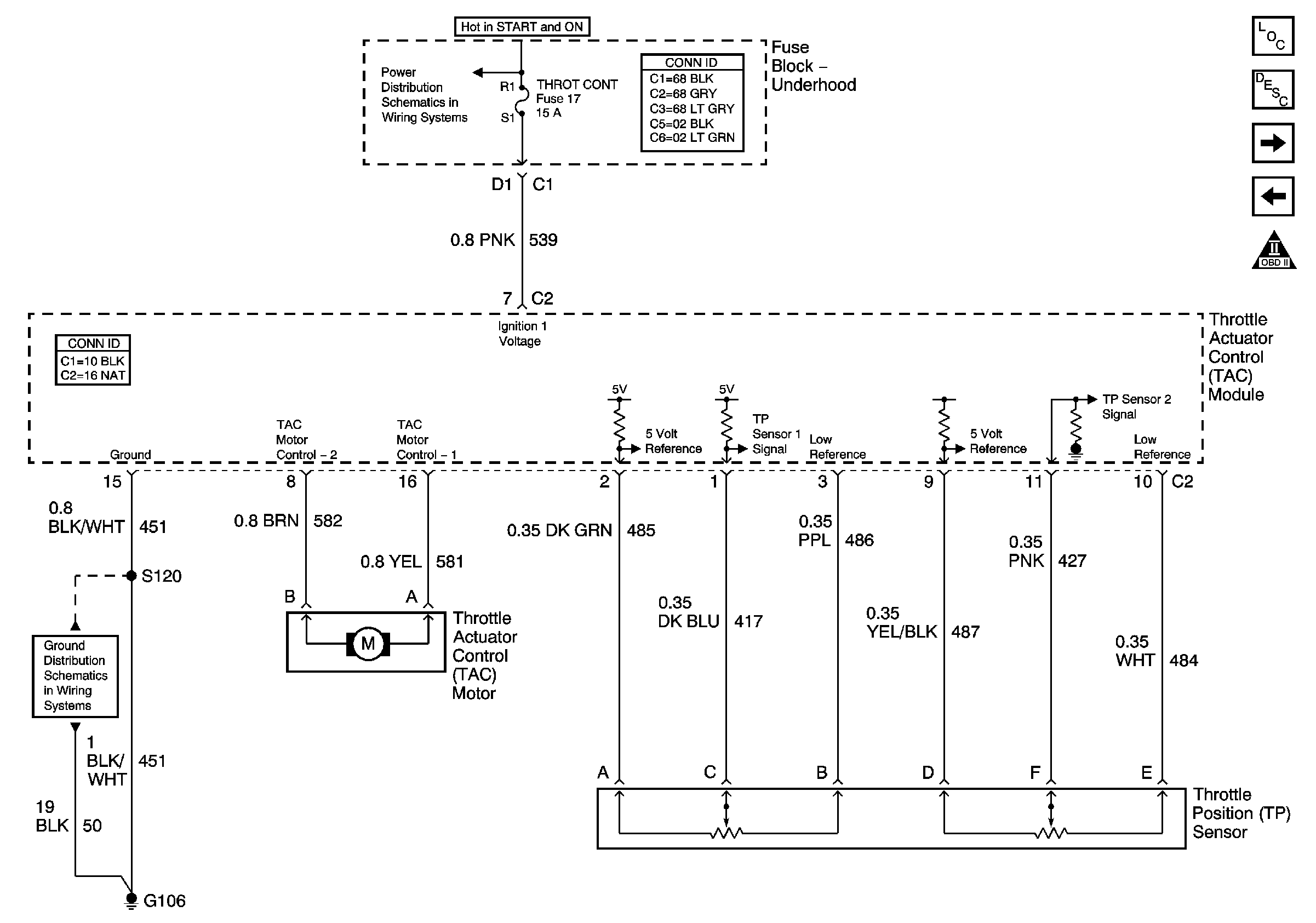
🢒 Power,Ground TAC Motor,Module and TP Sensor
Power,Ground TAC Motor,Module and TP Sensor
Power,Ground TAC Motor,Module and TP Sensor
Master Electrical Component List
Throttle Actuator Control (TAC) System Description
TAC Module APP Sensor and Cruise Reference
Engine Data Sensors - HO2S
Engine Controls Schematic Icons
Power Distribution Schematics
G106 and G105