GM Service Manual Online
For 1990-2009 cars only
Makes
🢒
Chevrolet
🢒
2002
🢒
Corvette
🢒 Ignition Controls - Sensors
Ignition Controls - Sensors
Ignition Controls -- Sensors
Master Electrical Component List
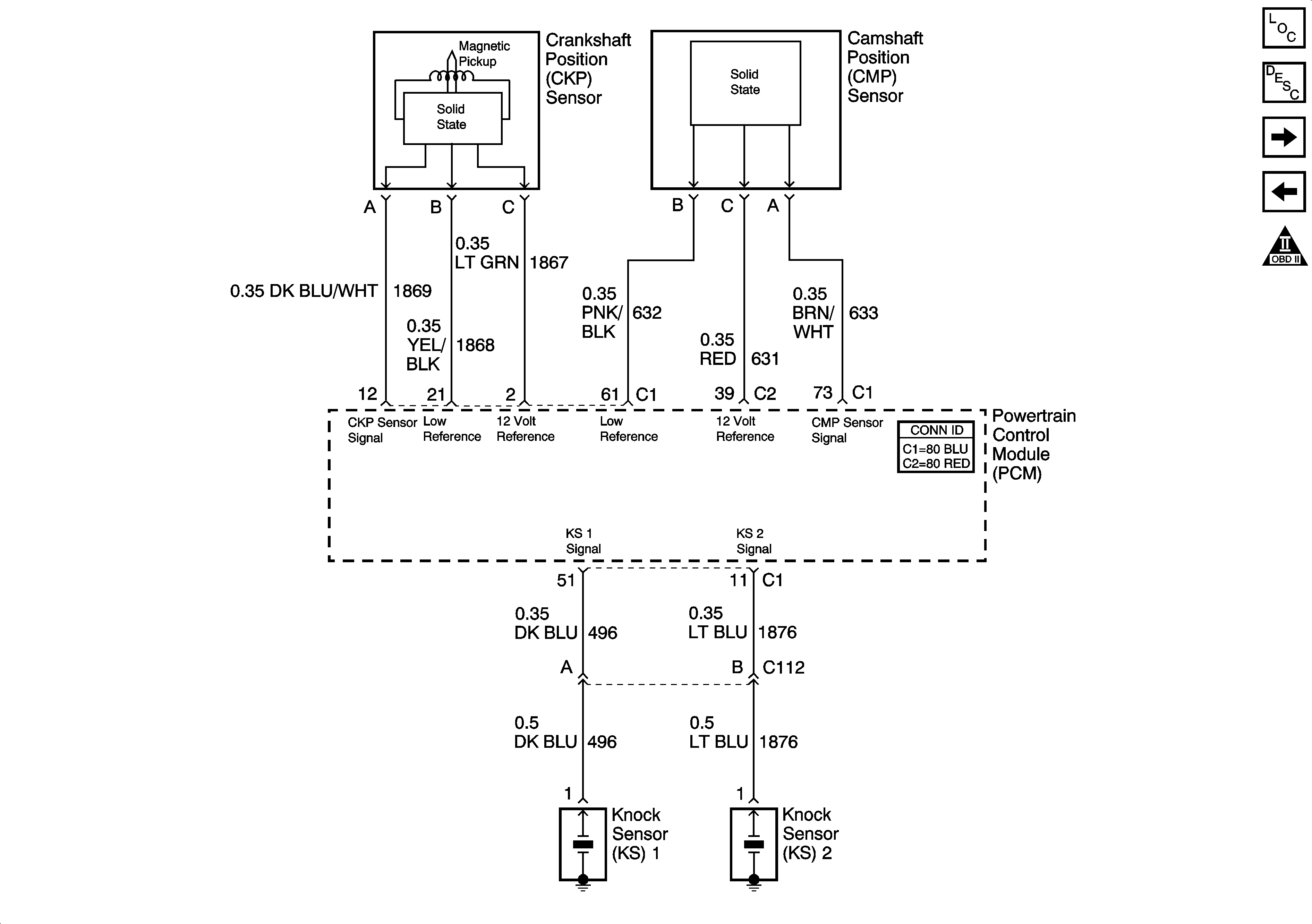
Knock Sensor (KS) System Description
Fuel Controls - Fuel Pump Controls
Ignition Controls - Ignition System Controls
Engine Controls Schematic Icons